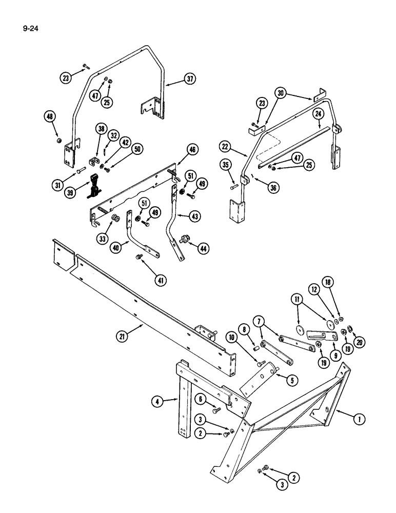
Запчасти Case IH 3594 (9-024) - HOOD SUPPORTS, HINGE AND LATCH (09) - CHASSIS/ATTACHMENTS

Схема запчастей Case IH 3594 - (9-024) - HOOD SUPPORTS, HINGE AND LATCH (09) - CHASSIS/ATTACHMENTS
7
4
49
8
51
39
41
35
3
6
18
40
19
47
5
36
42
44
12
48
1
23
47
37
9
2
33
51
25
38
3
21
10
46
30
25
31
49
22
32
2
23
50
43
19
20
24
11
FIT
1:1
100%

Артикул

Название

Примечание

Количество

1

A145660

SUPPORT

hood, front, Order 1334382C4

1шт.

2

413-616

BOLT,Hex, 3/8" - 16 x 1", Gr 5

hex, 3/8 NC x 1 inch

8шт.

2

413-612

BOLT,Hex, 3/8" - 16 x 3/4", Gr 5

4шт.

3

492-11038

LOCK WASHER,3/8"

10шт.

4

A169187

BRACKET

SUPPORT radiator, right side

1шт.

4

A169188

BRACKET

SUPPORT radiator, left side, right shown

1шт.

5

NLS

NO LONGER SERVICED

hinge support, right

1шт.

5

A147613

BRACKET

hinge support, left

1шт.

6

121-226

SERRATED BOLT,Hex, 3/8" - 16 x 1"

4шт.

6

413-616

BOLT,Hex, 3/8" - 16 x 1", Gr 5

hex, 3/8 NC x 1 inch

2шт.

7

A162510

LINK

TILT HOOD LINK ASSEMBLY, Includes Ref. 8

4шт.

8

A59809

BUSHING,12.8mm ID x 15.93mm OD x 25.4mm L

pivot

2шт.

9

A147632

LEVER

hood lock

1шт.

10

413-620

BOLT,Hex, 3/8" - 16 x 1-1/4", Gr 5

1шт.

11

495-81147

WASHER,0.41" ID x 2" OD x 0.11" Thk

- flat, 13/32 x 2 x 1/8 inch

2шт.

12

495-21044

WASHER,3/8"

3шт.

18

131-206

NUT,3/8"-16

NUT heavy hex, self-locking, 3/8 inch NC

1шт.

19

131-425

PUSH-ON NUT,Push, 1/2"

NUT, LOCK, Push, 1/2"

8шт.

20

100-11100

SNAP RING,#100, Ext

Ring, Snap, #100, Ext

1шт.

21

A145730

FRAME

hood, right

1шт.

21

A145732

FRAME

hood, left, right shown

1шт.

22

A145704

BRACE

hood and cylinder

1шт.

23

413-424

BOLT,Hex, 1/4" - 20 x 1-1/2", Gr 5

6шт.

24

A149068

BRACKET

ANGLE support, center

1шт.

25

230-4214

LOCK NUT,1/4"-20, GA

NUT hex, self-locking, 1/4 inch NC

6шт.

30

A149342

BRACKET

hood support

2шт.

31

141-66

CLEVIS PIN,5/16" x 1 13/16"

PIN clevis, 5/16 inch

2шт.

32

32-612

COTTER PIN,3/32" x 3/4"

PIN, SPLIT (COTTER), 3/32" x 3/4"

2шт.

33

A147282

SPOOL

hood lock

2шт.

35

26114R1

CLEVIS PIN,1/4" x 1.219"

PIN clevis, 1/4 x 1-7/32 inch, hardened

2шт.

36

132-17

COTTER PIN,1/16" x 2"

PIN cotter, 1/16 x 1-1/8 inch

2шт.

37

A164607

BRACE

hood support, rear

1шт.

38

A164613

BRACKET

anchor, hood

2шт.

39

A164624

HOOK

rubber, hood lock

2шт.

40

A164609

ROD

hood support, right rear

1шт.

41

409-7512

BOLT,Hex Flg, 5/16" - 18 x 3/4", Spcl

hex flange, self-locking, 5/16 NC x 3/4 inch

2шт.

42

492-11031

LOCK WASHER,5/16"

WASHER, LOCK, 5/16"

2шт.

43

A164611

ROD

hood support, left rear

1шт.

44

409-7612

BOLT,3/8"-16 x 1.09" OAL

hex flange, self-locking, 3/8 NC x 3/4 inch

2шт.

46

A164661

SUPPORT

rear

1шт.

47

495-21031

WASHER,1/4"

flat, 5/16 x 47/64 x 1/16 inch

6шт.

48

425-105

NUT,5/16"-18, G5

- hex, 5/16 inch NC

2шт.

49

413-610

BOLT,Hex, 3/8" - 16 x 5/8", Gr 5

4шт.

50

182-515

SCREW,Sl Pan Hd, 5/16" - 18 x 5/8"

pan head, 5/16 NC x 5/8 inch

2шт.

51

492-11038

LOCK WASHER,3/8"

4шт.

Выбрано товаров: 45