Запчасти Case IH 3594 (9-070) - CAB AND FOUR POST ROPS FRAME, FRONT AND REAR MOUNTS (09) - CHASSIS/ATTACHMENTS

Схема запчастей Case IH 3594 - (9-070) - CAB AND FOUR POST ROPS FRAME, FRONT AND REAR MOUNTS (09) - CHASSIS/ATTACHMENTS
6
15
17
10
9
8
13
13
12
11
7
1
4
16
10
3
2
12
5
14
FIT
1:1
100%

Артикул

Название

Примечание

Количество

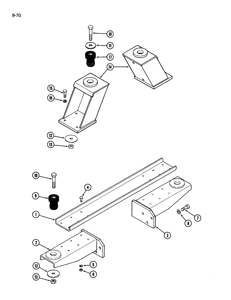
1

A135535

RAIL

cab mount support

1шт.

2

A149741

MOUNTING PARTS

BRACKET cab mounting, right front

1шт.

3

A149740

MOUNTING PARTS

BRACKET cab mounting, left front

1шт.

4

413-616

BOLT,Hex, 3/8" - 16 x 1", Gr 5

hex, 3/8 NC x 1 inch

12шт.

5

92-11038

LOCK WASHER,3/8"

WASHER, LOCK, 3/8"

12шт.

6

425-106

NUT,3/8"-16, Cl 5

12шт.

7

413-1032

BOLT,Hex, 5/8" - 11 x 2", Gr 5

- hex, 5/8 NC x 2 inch, grade 5

6шт.

8

492-11062

BEARING WASHER,5/8"

WASHER, LOCK, 5/8"

6шт.

9

A141452

SHOCK ABSORBER

MOUNT cab front, rubber

2шт.

10

113-2648

BOLT,Hex, 5/8" - 11 x 4-1/2", Gr 8

hex, 5/8 NC x 4-1/4 inch, grade 8

4шт.

11

495-21069

WASHER,5/8"

flat, 11/16 x 1-3/4 x 9/64 inch

2шт.

12

A141470

WASHER

flat, special

4шт.

13

232-14110

LOCK NUT,5/8"-11, GC

NUT, LOCK, 5/8"-11, GC

4шт.

14

A149667

MOUNTING PARTS

BRACKET cab mounting, rear

2шт.

15

413-828

BOLT,Hex, 1/2" - 13 x 1-3/4", Gr 5

8шт.

16

80679

LOCK WASHER,1/20.507 CST ZND

WASHER, LOCK, 1/2"

8шт.

17

A141451

SHOCK ABSORBER

MOUNT cab rear, rubber

2шт.

Выбрано товаров: 17