Запчасти Case IH 3594 (9-080) - CAB, DOOR AND LATCH (09) - CHASSIS/ATTACHMENTS

Схема запчастей Case IH 3594 - (9-080) - CAB, DOOR AND LATCH (09) - CHASSIS/ATTACHMENTS
1
4
11
19
18
9
17
12
3
7
31
13
10
14
13
30
26
14
2
21
22
6
20
16
8
5
FIT
1:1
100%

Артикул

Название

Примечание

Количество

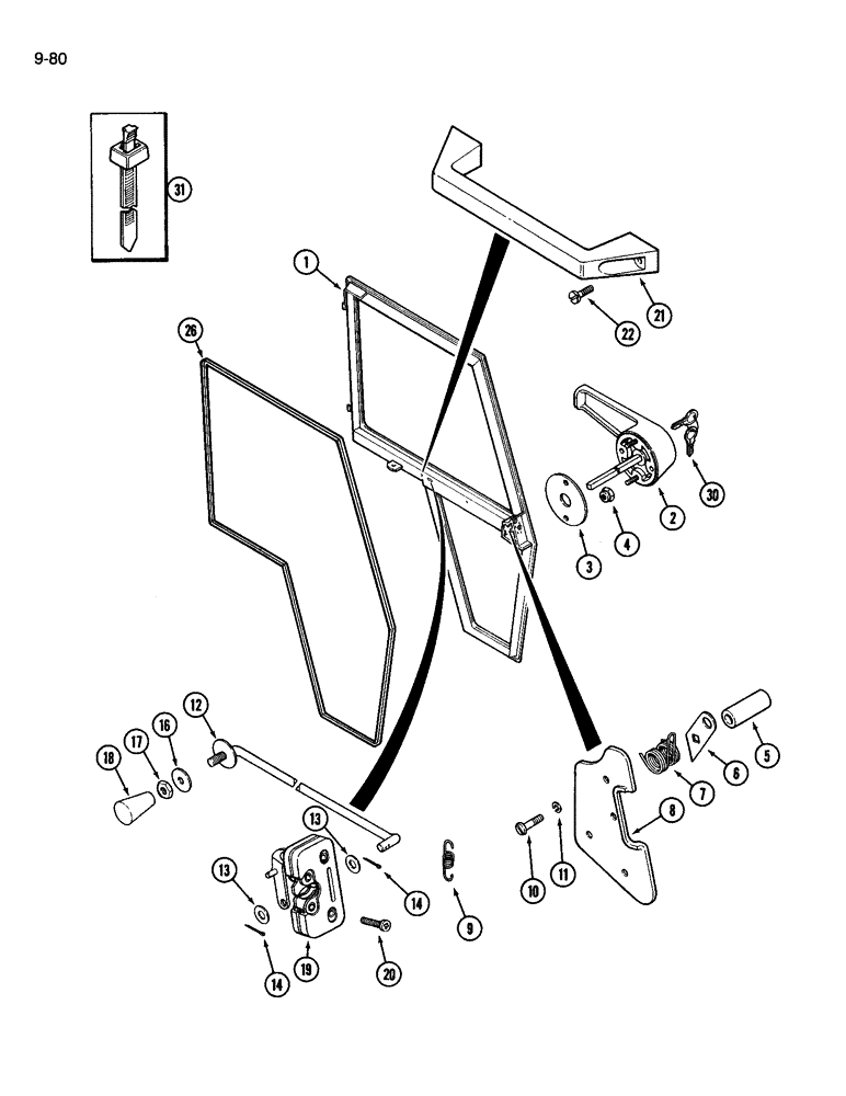
F97270

DOOR ASSEMBLY, complete, Includes glass, Order F97065, Includes Ref. 1 - 26

1шт.

Order glass from Figure 9-088

1шт.

1

NSS

NOT SOLD SEPARAT

DOOR cab, Order F97065

1шт.

2

F66158

HANDLE outer, Order F66157

1шт.

3

F64342

GASKET,1.6mm Thk

door handle

1шт.

4

86625057

NUT,#10-24, GB

NUT, LOCK, #10-24, GB

2шт.

5

F64358

SPACER

shaft

1шт.

6

F64371

ARM

door latch

1шт.

7

F64338

SPRING

handle, door latch

1шт.

8

F66086

COVER ASSY

COVER door latch

1шт.

9

F45162

SPRING

extension

1шт.

10

440-1258

SCREW,Cross Pan Hd, 1/4"-20 x 1/2"

machine, pan head phillips, 1/4 NC x 1/2 inch

4шт.

11

493-11026

LOCK WASHER,Ext-Int Tooth, 1/4"

4шт.

12

F98226

ROD

pull, door latch

1шт.

13

F64384

WASHER

nylon

2шт.

14

432-48

COTTER PIN,1/16" x 1/2"

PIN, SPLIT (COTTER), 1/16" x 1/2"

2шт.

16

F64340

WASHER

shoulder

1шт.

17

131-1280

JAM NUT,Jam, 1/4"-20

NUT hex, jam, self-locking, 1/4 inch NC

1шт.

18

F64341

KNOB

latch rod

1шт.

19

F66155

LATCH

rotary, door

1шт.

20

140-112

SCREW,Cross Pan Hd, 1/4" - 20 x 3/4"

- special, x-recess, 1/4 NC x 1 inch

4шт.

21

F64890

HANDLE

door, inner, Order F64547

1шт.

22

140-112

SCREW,Cross Pan Hd, 1/4" - 20 x 3/4"

2шт.

26

F64880

STRIP

SEAL door, Order R53628

1шт.

NSS

NOT SOLD SEPARAT

MOULDING glass and door, upper, Order A42677 and, Serial Range: cut-length

1шт.

NSS

NOT SOLD SEPARAT

MOULDING glass and door, lower, Order A42677 and, Serial Range: cut-length

1шт.

30

A77313

SET OF 2 KEYS

KEY door lock, set of 2, also used as ignition key

1шт.

31

L18337

CABLE TIE,9.95"-12.1" lg

STRAP tie, nylon, 15 inch

1шт.

Выбрано товаров: 0