Запчасти Case IH 3594 (9-086) - CAB, SIDE WINDOW (09) - CHASSIS/ATTACHMENTS

Схема запчастей Case IH 3594 - (9-086) - CAB, SIDE WINDOW (09) - CHASSIS/ATTACHMENTS
6
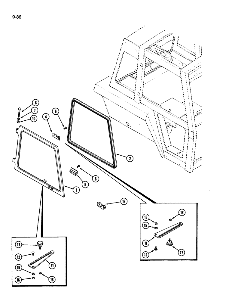
11
8
2
10
11
12
7
15
17
16
1
18
18
12
6
17
5
16
19
15
4
FIT
1:1
100%

Артикул

Название

Примечание

Количество

1

F64675

FRAME

window, right, Order F97381 with glass

1шт.

2

F64571

SEAL

SEAL frame, weather

1шт.

4

F64513

BRACKET

regulator, upper

1шт.

5

F64533

HANDLE

window

1шт.

6

280-1658

SELF-TAP SCREW,Hex Wash Hd, #10 x 1/2"

SCREW self-tapping, hex washer head, No. 10-16 x 1/2 inch

6шт.

7

F64046

WASHER,9.91mm ID x 19.05mm OD x 0.76mm Thk

thrust

2шт.

8

413-672

BOLT,Hex, 3/8" - 16 x 4-1/2", Gr 5

hex, 3/8 NC x 4-1/2 inch

2шт.

10

131-1306

JAM NUT,Jam, 3/8"-16

NUT hex, jam, self-locking, 3/8 inch NC

2шт.

11

F64779

REGULATOR

ARM regulator

2шт.

12

111-243

CARRIAGE BOLT,Short NK, 5/16"-18 x 1", G2, Full Thd

BOLT round head square neck, 5/16 NC x 3/4 inch

2шт.

15

195-103

WASHER,5/16"

flat, 3/8 x 7/8 x 5/64 inch

2шт.

16

131-1353

LOCK NUT,5/16"-18, GA

NUT, LOCK, 5/16"-18, GA

2шт.

17

F64253

KNOB

regulator

2шт.

18

T39518

SNAP RING,#25, Ext

Ring, Snap, #25, Ext

2шт.

19

R52581

CLIP

retaining

10шт.

Выбрано товаров: 0