Запчасти Case IH 3594 (2-024) - EXHAUST SYSTEM, USED ON TRACTOR EQUIPPED WITH LOADER (02) - ENGINE

Схема запчастей Case IH 3594 - (2-024) - EXHAUST SYSTEM, USED ON TRACTOR EQUIPPED WITH LOADER (02) - ENGINE
19
5
7
21
24
3
25
2
16
14
9
16
4
26
15
8
27
18
28
17
20
11
7
6
10
FIT
1:1
100%

Артикул

Название

Примечание

Количество

A176130

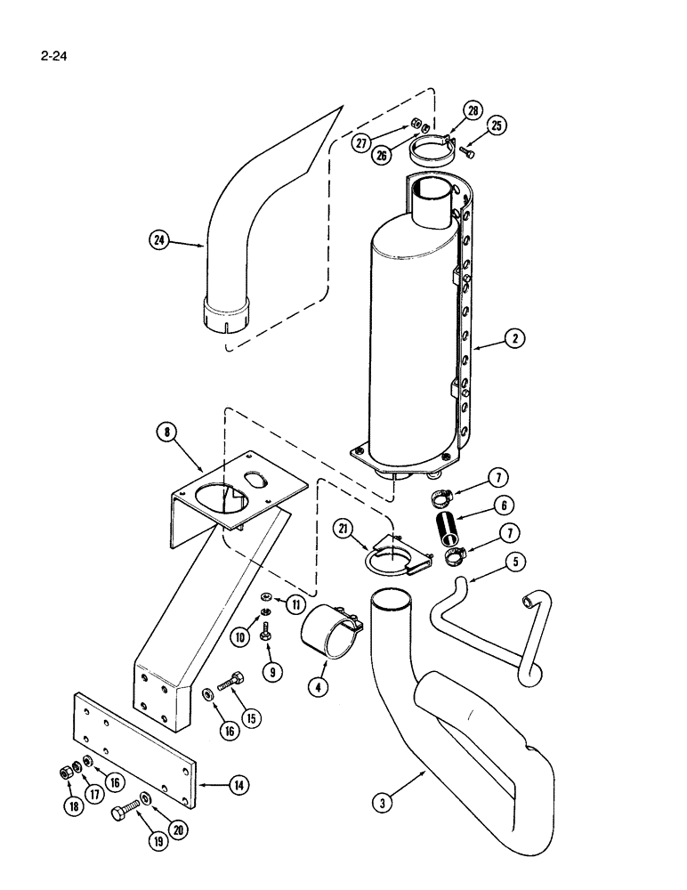
ATTACHMENT exhaust system, machinery item, Includes Ref. 2 - 28

1шт.

2

A162977

MUFFLER

exhaust

1шт.

3

A181075

PIPE, EXHAUST SYSTEM

PIPE exhaust

1шт.

4

A149249

ASSEMBLY

CLAMP exhaust pipe to turbocharger tube

1шт.

5

A166716

TUBE

aspirator

1шт.

6

A161681

HOSE,31.80 mm ID x 95.20 mm, SAE 20R1 Class A per SAE J20E

- Aspirator tube 31.80 mm ID x 95.20 mm, SAE 20R1 Class A per SAE J20E

1шт.

7

214-1420

HOSE CLAMP,#20, 0.81" - 1.75", Type F Worm

CLAMP, HOSE, , Adj. #20, 0.81/1.75 Type F Worm

2шт.

8

A162590

BRACKET

muffler

1шт.

9

413-620

BOLT,Hex, 3/8" - 16 x 1-1/4", Gr 5

3шт.

10

492-11038

LOCK WASHER,3/8"

3шт.

11

495-11041

WASHER,0.406" ID x 0.812" OD x 0.065" W

(Flat, 13/32 x 13/16 x 1/16") 3/8", SAE

3шт.

14

A162592

BRACKET

STIFFENER side rail

2шт.

15

413-836

BOLT,Hex, 1/2" - 13 x 2-1/4", Gr 5

- hex, 1/2 NC x 2-1/4 inch

4шт.

16

495-21056

WASHER,1/2"

flat, 9/16 x 1-3/8 x 3/32 inch

8шт.

17

80679

LOCK WASHER,1/20.507 CST ZND

WASHER, LOCK, 1/2"

4шт.

18

425-108

NUT,1/2" - 13, Gr 5

NUT, , Hex 1/2"-13, G5

4шт.

19

426-1036

BOLT,Hex, 5/8" - 11 x 2-1/4", Gr 8

- hex, 5/8 NC x 2-1/4 inch

3шт.

20

A35147

WASHER

flat, 5/8", hardened

3шт.

21

A162896

CLAMP

muffler to turbocharger elbow

1шт.

24

A180204

TUBE

EXTENSION muffler, 27"

1шт.

Ref. 24A A185710 Extension, 33 3/8"

1шт.

25

413-620

BOLT,Hex, 3/8" - 16 x 1-1/4", Gr 5

1шт.

26

492-11038

LOCK WASHER,3/8"

1шт.

27

129-770

NUT,3/8"-16, G5

hex, 3/8 inch NC

1шт.

28

A162895

CLAMP

extension

1шт.

Выбрано товаров: 25