Запчасти Case IH 3594 (4-016) - FORWARD COMPONENT HARNESS (04) - ELECTRICAL SYSTEMS

Схема запчастей Case IH 3594 - (4-016) - FORWARD COMPONENT HARNESS (04) - ELECTRICAL SYSTEMS
2
3
4
6
7
1
5
11
10
6
FIT
1:1
100%

Артикул

Название

Примечание

Количество

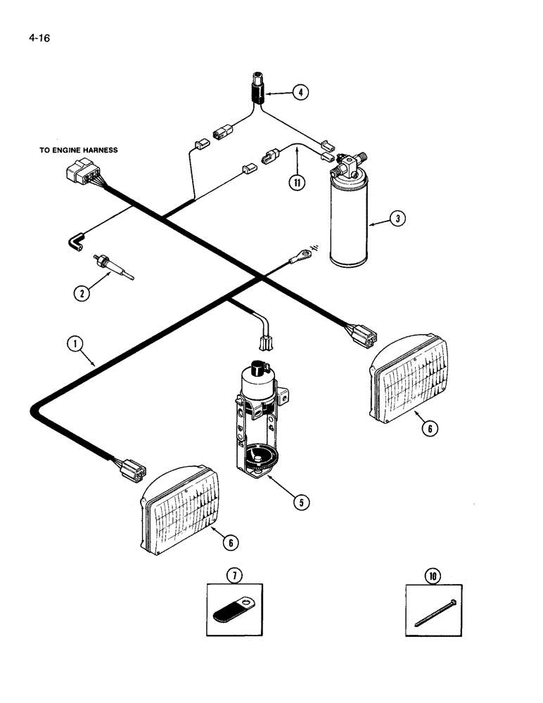
1

A163110

HARNESS

forward components

1шт.

2

A145513

SENSOR

level, coolant

1шт.

3

REF

INSTRUCTION

RECEIVER-DRIER air conditioning, See Figure 9-118

1шт.

4

REF

INSTRUCTION

SWITCH air conditioning, high pressure cut out, See Figure 9-118

1шт.

5

A143381

SOLENOID

ETHER START SOLENOID ASSEMBLY, See Figure 2-014

1шт.

6

A139458

LAMP

LIGHT head, sealed unit, No.4652, See Figure 4-046

2шт.

7

A149624

CLIP

wire

3шт.

10

L18337

CABLE TIE,9.95"-12.1" lg

STRAP tie, nylon, 15 inch

5шт.

11

A169863

ELECTRICAL WIRE

WIRE low pressure switch

1шт.

Выбрано товаров: 0