Запчасти Case IH 3688 (10-06) - HYDRAULICS, HYD. POWER SUPPLY, IN REAR FRAME, 3688 TRACTORS W/DRAFT CONTROL AND/OR AUXILIARY VALVES (07) - HYDRAULICS

Схема запчастей Case IH 3688 - (10-06) - HYDRAULICS, HYD. POWER SUPPLY, IN REAR FRAME, 3688 TRACTORS W/DRAFT CONTROL AND/OR AUXILIARY VALVES (07) - HYDRAULICS
18
10
4
10
17
11
7
19
8
5
10
1
14
9
12
15
13
11
16
2
3
11
FIT
1:1
100%

Артикул

Название

Примечание

Количество

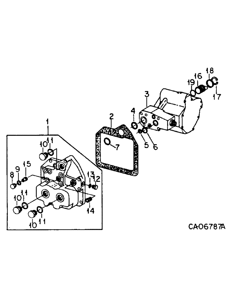
1

140628C91

FLANGE

ASSY, pump mounting, Includes Ref. 8 - 15

1шт.

179842

SPACER

BOLT, 3/8 x 1-3/8 pln type 5

5шт.

179847

BOLT,Hex, 3/8" - 16 x 2", Gr 5

2шт.

179849

BOLT,Hex, 3/8" - 16 x 2 1/2", Gr 5

2шт.

280161

BOLT,Hex, 3/8" - 16 x 3", Gr 5

3шт.

189295

BOLT,Hex, 3/8" - 16 x 4 1/2", Gr 5

3/8 x 4-1/2 type 5

5шт.

565832R1

WASHER

pump mounting bolt

5шт.

103321

LOCK WASHER,3/8"

WASHER, LOCK, 3/8"

12шт.

2

382244R4

GASKET

pump mounting flange

1шт.

3

PUMP, piston, renewed, Not serviced separately, Order service package 1263450C91

1шт.

4

25897R1

O-RING,-022, 90 Duro, .989" ID x .070" Thk

1 x 1-1/8 class 6, pressure port

1шт.

5

702788R1

O-RING,0.103" Thk x 0.362" ID, -110, Cl 6, 90 Duro

3/8 x 9/16 class 6, attenuator port

1шт.

6

20947R1

O-RING,0.103" Thk x 0.799" ID, -117, Cl 6, 90 Duro

13/16 x 1 class 6, signal port

1шт.

7

386867R1

O-RING,0.103" Thk x 1.11" ID, -122, Cl 6, 90 Duro

1-1/8 x 1-5/16 class 6, pump mtg. flange to rear frame

1шт.

8

9410358

PLUG

3/8 C-Z str thd o-ring boss

1шт.

9

364839R1

O-RING,0.078" Thk x 0.468" ID, -906, Cl 6, 90 Duro

6-1, 90 Duro, .468" ID x .078" Thk, 3/8 OD tube, class 6

1шт.

10

9410361

PLUG

3/4 C-Z str thd o-ring boss

5шт.

11

368269R1

O-RING,0.116" Thk x 0.924" ID, -912, Cl 6, 90 Duro

3/4 OD tube class 6

5шт.

12

9410356

PLUG

1/4 C-Z str thd o-ring boss

1шт.

13

369751R1

O-RING,0.072" Thk x 0.351" ID, -904, Cl 6, 90 Duro

4-1, 90 Duro, .351" ID x .072" Thk, 1/4 OD tube, class 6

1шт.

14

127886C1

BLEEDER VALVE

VALVE ASSY, signal orifice

1шт.

15

140736C1

FILTER SCREEN

SCREEN ASSY, signal

1шт.

16

128186C2

TUBE,1.25" OD, 2.125" Length

pump suction

1шт.

17

27933R1

SNAP RING,#125, 1.188", Ext Spiral

RING, 1.188 med ext spiral ret

1шт.

18

537545R92

SEAL

pump suction tube oil

1шт.

19

379794R1

O-RING,0.103" Thk x 1.237" ID, -124, Cl 5, 75 Duro

1-1/4 x 1-7/16 class 5, pump inlet

1шт.

1263450C91

PACKAGE

pfc pump, renewed, Consists of

1шт.

PUMP ASSY, renewed (NSS)

1шт.

1263450C91C

CORE-HYDRAULIC PUMP

Return Number, HYDRAULIC PUMP - for N.A. Only

1шт.

1263472C91

PACKAGE

seal and gasket, Consists of

1шт.

537545R92

SEAL

pump suction tube

1шт.

382257R2

GASKET

1шт.

Выбрано товаров: 32