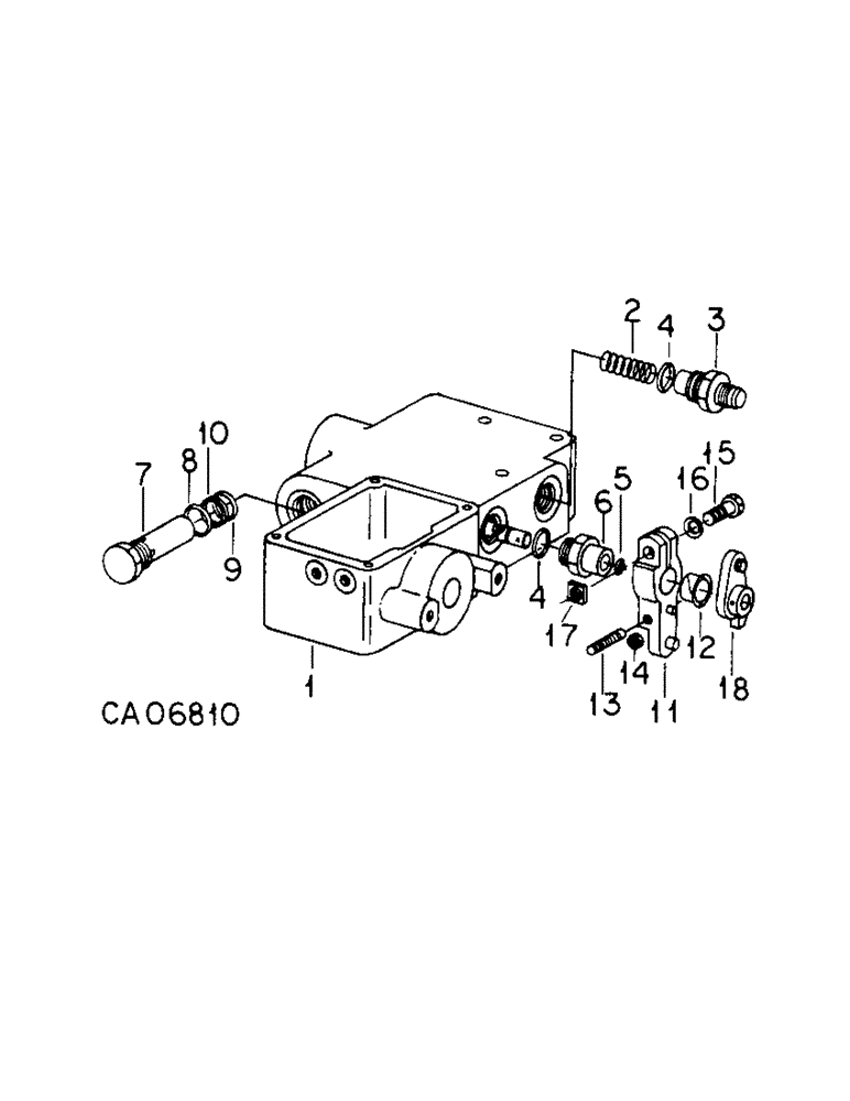
Запчасти Case IH 3688 (10-12[A]) - HYDRAULICS, PRIORITY VALVE ASSY, 3688 TRACTORS WITH DRAFT CONTROL (07) - HYDRAULICS

Схема запчастей Case IH 3688 - (10-12[A]) - HYDRAULICS, PRIORITY VALVE ASSY, 3688 TRACTORS WITH DRAFT CONTROL (07) - HYDRAULICS
4
2
9
10
8
12
4
5
14
13
17
16
18
3
6
11
15
7
1
FIT
1:1
100%

Артикул

Название

Примечание

Количество

1

BODY, priority valve, Not serviced separately, Order valve assy 127925c92

1шт.

2

127880C1

SPRING

motor spool

1шт.

3

127883C1

PLUG

motor spool

1шт.

4

364885R1

O-RING,0.097" Thk x 0.755" ID, -910, Cl 6, 90 Duro

5/8 OD tube class 6

2шт.

5

359158R1

O-RING,0.301" ID x 0.07" Width

-011, 70 Duro, .031" ID x .070" Thk

1шт.

6

1260805C1

FITTING

spool retainer, Replaces 127860C1

1шт.

7

138046C91

VALVE

ASSY, cushion relief

1шт.

8

364879R1

O-RING,0.103" Thk x 0.862" ID, -118, Cl 5, 75 Duro

7/8 x 1-1/16 class 5

1шт.

9

383219R1

O-RING,0.924" ID x 0.103" Width

15/16 x 1-1/8 class 5

1шт.

10

378985R2

BACK-UP RING

relief valve o-ring backup

1шт.

11

127854C1

LEVER

ASSY, friction

1шт.

12

532395R1

BUSHING,19.07mm ID x 20.63mm OD x 16.64mm L

BEARING, nylon

1шт.

13

102437

SCREW, 1/4 x 1-3/4 pln o/pt sq/hd set

1шт.

14

114501

JAM NUT,Jam, 1/4"-20, G5

1шт.

15

181341

BOLT,Hex, 5/16" - 24 x 1 1/4", Gr 5

5/16-NF x 1-1/4 pln type 5

1шт.

16

532409R1

SPRING WASHER

safety spring

1шт.

17

137544C1

NUT

friction lever

1шт.

18

127856C1

LEVER

ASSY, raise speed control

1шт.

19938R1

PIN,1/8" x 7/8", Coiled

1шт.

Выбрано товаров: 19