Запчасти Case IH 3688 (10-21) - HYDRAULICS, POWER STEERING CYLINDER (07) - HYDRAULICS

Схема запчастей Case IH 3688 - (10-21) - HYDRAULICS, POWER STEERING CYLINDER (07) - HYDRAULICS
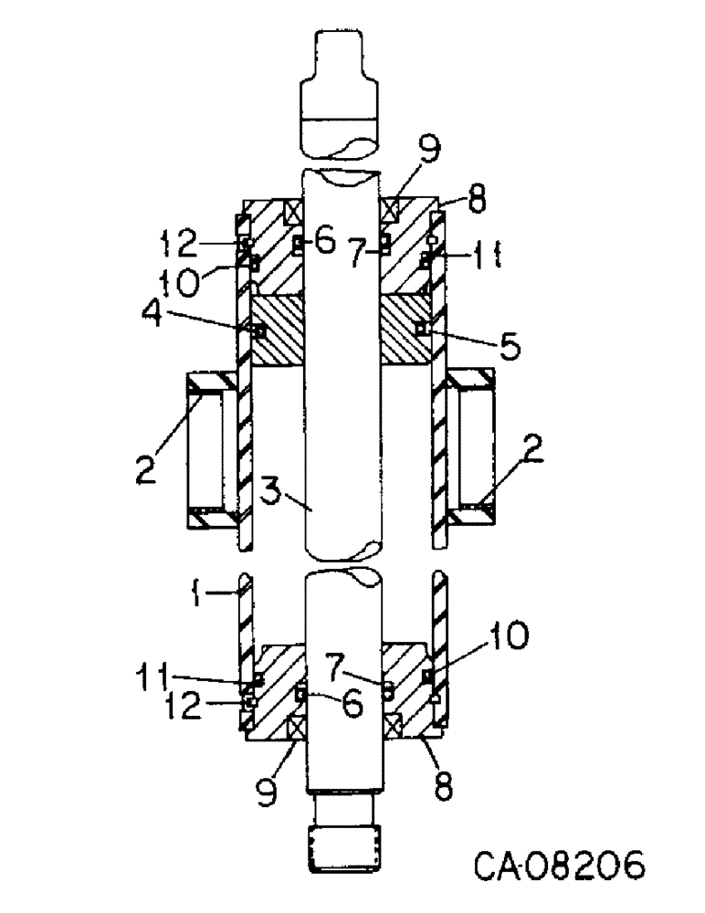
3
9
12
6
11
1
2
6
5
4
8
7
9
11
12
2
10
10
8
7
FIT
1:1
100%

Артикул

Название

Примечание

Количество

63864C92

CYLINDER

ASSY, hyd power steering, tractors w/o all wheel drive

1шт.

145411C92

CYLINDER BLOCK

CYLINDER ASSY, power steering, tractors w/all wheel drive

1шт.

1

BODY ASSY, hyd cylinder, Not serviced separately, Order cylinder assy 63864C92

1шт.

1

145412C1

BODY

ASSY, cylinder, tractors w/all wheel drive

1шт.

2

533283R1

BUSHING,38.16mm ID x 41.41mm OD x 10.99mm L

trunnion

2шт.

3

533286R21

ROD

ASSY, piston

1шт.

4

22240R1

O-RING,0.139" Thk x 1.984" ID, -226, Cl 6, 90 Duro

2 x 2-1/4 class 6, piston seal

1шт.

5

379570R1

SEALING RING

piston

1шт.

6

119185C1

SEAL,26.18mm ID x 32.17mm OD x 4.66mm Thk

piston rod urethane, Use w/cylinder, 63864C92, Use w/cylinder 145411C92

2шт.

6

380794R1

O-RING,0.139" Thk x 0.984" ID, -214, Cl 6, 90 Duro

1 x 1-1/4 clas 6, use w/cylinder, 63864C91, Use w/cylinder, 145411C91

2шт.

7

379571R1

BACK-UP RING,Split, 25.37mm ID x 31.67mm OD x 1.32mm Thk

rod o-ring back-up, Use w/cylinder, 63864C91, Use w/cylinder, 145411C91

2шт.

8

533288R2

JACK HEAD

HEAD, cylinder front

2шт.

9

532856R91

SEALING RING

ASSY, scraper oil

2шт.

10

379457R1

O-RING,0.103" Thk x 2.175" ID, -139, Cl 5, 75 Duro

2-3/16 x 2-3/8 class 5, front head

2шт.

11

382063R1

BACK-UP RING,2.385" ID x 0.052" Width

o-ring back-up

2шт.

12

391985R1

SPRING

RING, front head retaining

2шт.

80446C91

PACKAGE

KIT, cylinder serivce, Use w/cylinder, 63864C92, Use w/cylinder, 145411C92, Consists of Ref. 4, 5, 9 - 12 and seal, 119185C1

1шт.

533290R91

KIT

cylinder service, Use w/cylinder, 63864c91, Use w/cylinder, 145411C91, Consists of Ref. 4, 5, 7, 9 - 12 and o-ring, 380794R1

1шт.

Выбрано товаров: 18