Запчасти Case IH 3688 (10-25) - HYDRAULICS, RESERVOIR AND FILTER (07) - HYDRAULICS

Схема запчастей Case IH 3688 - (10-25) - HYDRAULICS, RESERVOIR AND FILTER (07) - HYDRAULICS
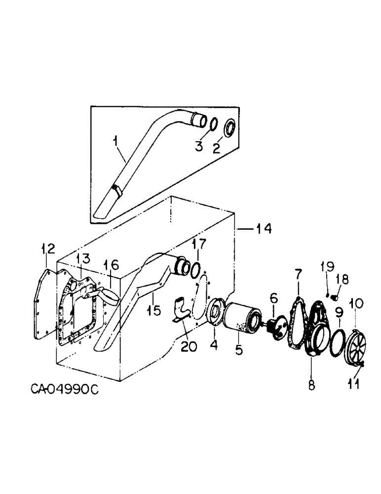
14
1
4
17
9
6
18
16
19
12
7
13
5
10
11
2
8
3
20
15
FIT
1:1
100%

Артикул

Название

Примечание

Количество

1

382240R21

HYD TUBE,13.7" Length

TUBE ASSY, hyd filter suction, 3088, 3288 and 3688HC tractors.

1шт.

179839

BOLT,Hex, 3/8" - 16 x 1", Gr 5

1шт.

2

382242R1

RETAINER

filter suction tube, 3088, 3288 and 3688HC tractors.

1шт.

3

360610R1

O-RING,1.609" ID x 0.139" Width

1-5/8 x 1-7/8 class 5, 3088, 3288 and 3688HC tractors.

1шт.

4

1261043C1

CYLINDER END CAP

CAP, filter cartridge, retainer

1шт.

5

528493R3

HYDRAULIC OIL FILTER

CARTRIDGE, hyd filter

1шт.

5

1266865C1

FILTER, ELEMENT

CARTRIDGE, "6" hyd filter, For clean up use only, See service manual

1шт.

6

386121R92

VALVE

ASSY, hyd filter relief, 3088, 3288 and 3688HC tractors.

1шт.

6

133735C1

VALVE

ASSY, hyd filter, 3688 tractors.

1шт.

7

382257R2

GASKET

oil filter cover

1шт.

8

406038R1

FUNNEL

FRAME ASSY, filter, 3088, 3288 and 3688HC tractors.

1шт.

8

138170C1

FRAME

ASSY, filter, 3688 tractors.

1шт.

NLS

NO LONGER SERVICED

8шт.

9

285253R1

O-RING,0.139" Thk x 5.484" ID, -254, Cl 5, 75 Duro

5-1/2 x 5-3/4 class 5, filter frame

1шт.

10

406037R1

COVER ASSY

COVER, filter frame

1шт.

11

406040R1

SCREW,5/16" - 18 x 1.25"

filter cover

2шт.

12

382243R1

COVER ASSY

COVER, pump opening, tractors w/o draft control

1шт.

179838

BOLT,Hex, 3/8" - 16 x 7/8", Gr 5, Full Thd

3/8 x 7/8 pln type 5

12шт.

13

382244R4

GASKET

pump opening cover, tractors w/o draft control

1шт.

14

FRAME ASSY, rear, Refer to rear frame, covers and connections listing group 7

1шт.

15

133685C2

MANIFOLD

hyd filter suction, 3688 tractors.

1шт.

16

133686C1

SUPPORT

manifold suction tube, 3688 tractors.

1шт.

179839

BOLT,Hex, 3/8" - 16 x 1", Gr 5

1шт.

17

293726R1

O-RING,0.139" Thk x 2.234" ID, -228, Cl 5, 75 Duro

2-1/4 x 2-1/2 class 5, 3688 tractors.

1шт.

18

9410360

PLUG

5/8 C-Z str thd o-ring boss, 3688 tractors.

1шт.

19

364885R1

O-RING,0.097" Thk x 0.755" ID, -910, Cl 6, 90 Duro

5/8 OD tube class 6, 3688 tractors.

1шт.

20

1261039C2

TUBE,3.5" Length

ASSY, suction, 3688 tractors.

1шт.

Выбрано товаров: 27