Запчасти Case IH 3688 (10-28) - HYDRAULICS, HYDRAULIC SEAT CYLINDER (07) - HYDRAULICS

Схема запчастей Case IH 3688 - (10-28) - HYDRAULICS, HYDRAULIC SEAT CYLINDER (07) - HYDRAULICS
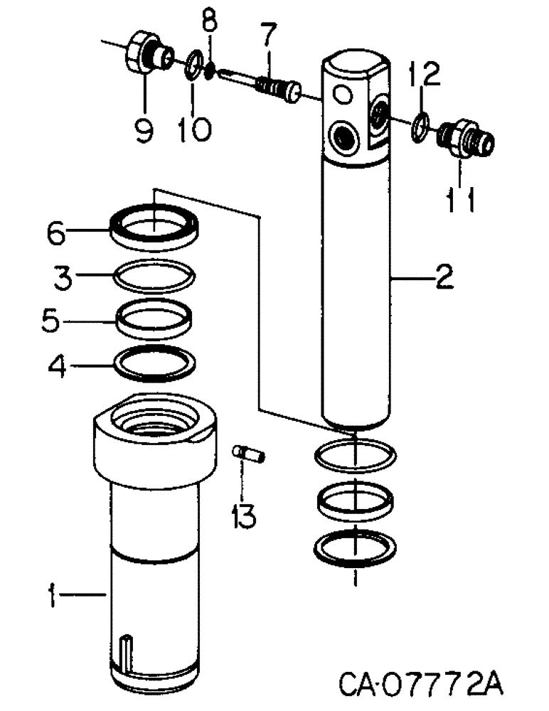
6
13
11
5
12
2
1
3
4
8
10
7
9
FIT
1:1
100%

Артикул

Название

Примечание

Количество

149674C93

HYDRAULIC CYLINDER

CYLINDER ASSY, hydraulic seat

1шт.

1

149660C3

BODY

ASSY, hyd seat cylinder

1шт.

2

399313R4

ROD

ASSY, hyd seat cylinder

1шт.

3

364108R1

O-RING,0.103" Thk x 1.799" ID, -133, Cl 5, 75 Duro

1-13/16 x 2 class 6

1шт.

4

145387C1

WASHER

RING, cylinder rod o-ring back-up

1шт.

5

145388C1

SEALING RING

RING, cylinder rod rectangular

1шт.

6

123354C1

WIPER SEAL

WIPER, hyd seat cylinder rod (Not Serviced Separately)

1шт.

7

149659C1

VALVE

hyd seat cylinder adjusting

1шт.

8

359158R1

O-RING,0.301" ID x 0.07" Width

-011, 70 Duro, .031" ID x .070" Thk

1шт.

9

399318R2

RETAINER,Hex, 7/8" - 14 x 0.615"

adjusting screw

1шт.

10

364885R1

O-RING,0.097" Thk x 0.755" ID, -910, Cl 6, 90 Duro

5/8 OD tube class 6

1шт.

11

9410203

HYD CONNECTOR,3/4"-16, 37 Degree x 3/4"-16, O-Ring

CONNECTOR, 1/2 C-Z hyd fld short swivel

1шт.

12

570828R1

O-RING,0.087" Thk x 0.644" ID, -908, Cl 6, 90 Duro

1/2 OD tube class 6

1шт.

13

1266771C1

NIPPLE, LUBE

NIPPLE, hose

1шт.

79241C1

PACKAGE

KIT, hyd cylinder service

1шт.

Выбрано товаров: 15