Запчасти Case IH 3688 (10-31) - HYDRAULICS, THIRD AUXILIARY VALVE CONTROLS (07) - HYDRAULICS

Схема запчастей Case IH 3688 - (10-31) - HYDRAULICS, THIRD AUXILIARY VALVE CONTROLS (07) - HYDRAULICS
2
12
21
9
6
11
21
6
7
2
8
20
17
16
5
14
15
19
22
23
3
1
13
10
5
18
4
16
17
FIT
1:1
100%

Артикул

Название

Примечание

Количество

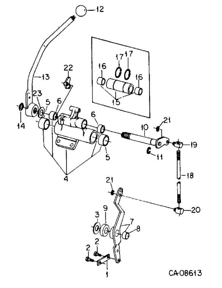
1

130690C1

LINK

aux valve operating

1шт.

2

400862R1

BOLT,Hex, 5/16" - 18 x 0.85"

shoulder

2шт.

390304C1

WASHER

.344 x .688 x .065 hdn

2шт.

9413952

LOCK NUT,5/16"-18, GB

NUT, 5/16 phc p/t lock type 5

2шт.

3

16066R1

WASHER

.781 x 1.500 x .054 pln

1шт.

4

148539C91

SUPPORT

ASY W/BUSHING, valve lever

1шт.

5

149097C1

BUSHING

2шт.

6

149101C1

BUSHING

2шт.

7

1251559C91

LEVER

ASSY, 3rd aux valve

1шт.

8

120464C1

BUSHING,19.07mm ID x 20.68mm OD x 13.21mm L

2шт.

9

143998C1

SPACER

aux valve handle hub

1шт.

10

1251545C2

SHAFT

ASSY, 3rd aux valve, inner

1шт.

11

603570R1

SNAP RING,#75, .574" Dia, E-Type

Ring, Retaining, #75, .574" Dia, E-Type

1шт.

12

1259762C1

KNOB

3rd aux valve handle, blue, For flat handle

1шт.

12

1280098C1

KNOB

3rd aux valve handle, blue, For round handle

1шт.

13

1280019C1

HANDLE

ASSY, 3rd valve, or

1шт.

13

1280080C2

HANDLE

ASSY, 3rd valve, Replaces 1259887C2 and 1251549C4

1шт.

14

384098R1

SNAP RING,#62, Ext

Ring, Snap, #62, Ext

1шт.

15

130689C91

SHAFT

ASSY, 3rd aux valve spacer, Not required if support assy Ref. 4, 148539C91 is on tractors, Includes Ref. 16

1шт.

16

149101C1

BUSHING

2шт.

17

866189R1

SNAP RING,#125, Ext

Ring, Snap, #125, Ext

1шт.

18

1259534C1

ROD

3rd and 4th aux valve control

1шт.

30168R1

NUT,M10, Cl 10

M10 phc class 10

1шт.

19

1251968C2

PIN

upper control

1шт.

20

1251970C2

PIN

lower control

1шт.

21

896045R1

SNAP RING,#37, Ext

2шт.

22

1259816C1

LEVER

float lockout

1шт.

23

1251551C1

WASHER

control handle

1шт.

1252880C91

VALVE

PARTS ACCESSORY, third aux valve, 3688 tractors

1шт.

Выбрано товаров: 29