Запчасти Case IH 3688 (10-57) - HYDRAULICS, DRAFT CONTROL CYLINDER AND VALVE, 3688 TRACTORS (07) - HYDRAULICS

Схема запчастей Case IH 3688 - (10-57) - HYDRAULICS, DRAFT CONTROL CYLINDER AND VALVE, 3688 TRACTORS (07) - HYDRAULICS
30
8
10
13
16
7
32
14
22
26
29
21
11
20
2
9
12
17
3
33
28
23
15
6
24
4
18
1
19
25
36
27
5
24
31
35
FIT
1:1
100%

Артикул

Название

Примечание

Количество

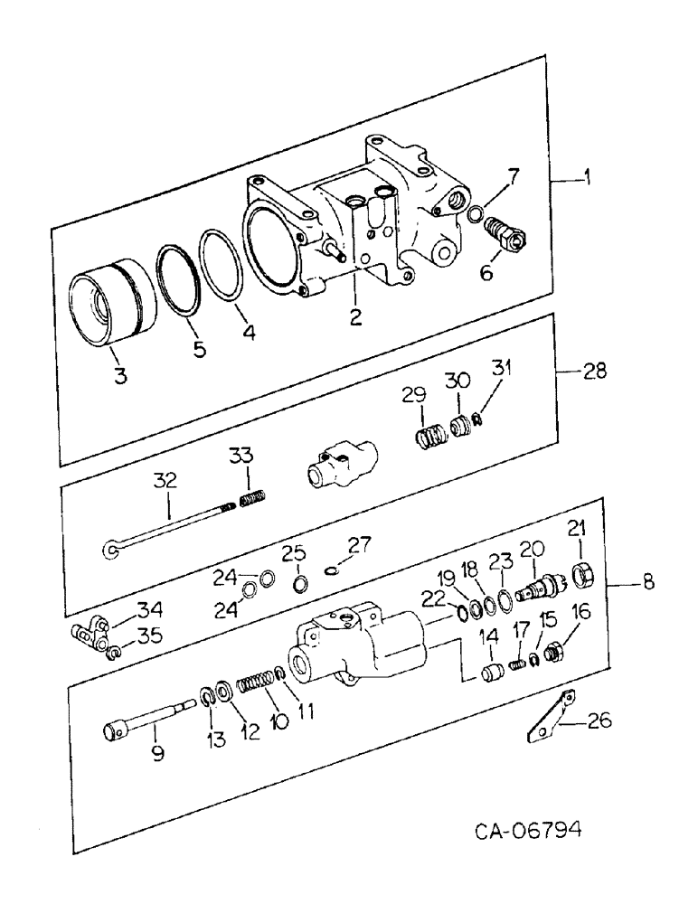
1

127871C93

CYLINDER

ASSY, draft control, Includes Ref. 2 - 7

1шт.

2

127870C3

CYLINDER

ASSY, draft control

1шт.

3

397229R1

PISTON

ASSY, draft control cyl

1шт.

4

382604R1

O-RING,4.35" ID x 0.21" Width

4-3/8 x 4-3/4 x 3/16, draft control piston

1шт.

5

382605R2

WASHER

draft control piston o-ring backup

1шт.

6

1266861C91

LOCK VALVE

VALVE ASSY, cushion relief, Serial no. 2529 and above

1шт.

6

60517C92

VALVE

ASSY, poppet relief, Serial no. 2528 and below

1шт.

7

380839R1

O-RING,0.103" Thk x 0.862" ID, -118, Cl 6, 90 Duro

7/8 x 1-1/16 class 6

1шт.

8

127834C92

VALVE

ASSY, draft control, Includes Ref. 9 - 23

1шт.

9

123258C1

VALVE

ASSY, spool

1шт.

179843

BOLT,Hex, 3/8" - 16 x 1 1/2", Gr 5

3шт.

103321

LOCK WASHER,3/8"

WASHER, LOCK, 3/8"

3шт.

10

133702C1

SPRING

valve spool

1шт.

11

376771R1

RING, SNAP

RING, actuating retaining

1шт.

12

376759R1

RETAINER

PLUG, spool bore

1шт.

13

303322R1

SNAP RING,1.00", Int, #100

1.111 ret 1.00", Int, #100

1шт.

14

123260C1

VALVE

check poppet

1шт.

15

364885R1

O-RING,0.097" Thk x 0.755" ID, -910, Cl 6, 90 Duro

5/8 OD tube class 6

1шт.

16

395926R1

PLUG

check poppet valve

1шт.

17

382310R1

SPRING

check poppet valve

1шт.

18

383024R1

O-RING,0.07" Thk x 0.676" ID, -17, Cl 6, 90 Duro

11/16 x 13/16 class 6

2шт.

19

123263C1

WASHER

drop valve o-ring backup

1шт.

20

127835C92

VALVE

ASSY, drop, Refer to drop valve assy this group for list of components

1шт.

21

9410062

LOCK NUT,Blkhd, 1 1/16"-12

NUT, 3/4 C-Z adj str/thd fitting lock

1шт.

22

392382R1

O-RING,0.551" ID x 0.07" Width

9/16 x 11/16 class 6

1шт.

23

368269R1

O-RING,0.116" Thk x 0.924" ID, -912, Cl 6, 90 Duro

3/4 OD tube class 6

1шт.

24

387926R2

RING

valve to cyl small seal

2шт.

25

388591R1

RING

valve to cyl large seal

1шт.

26

127882C1

ANCHOR

spring

1шт.

27

21433R1

O-RING,0.103" Thk x 0.674" ID, -115, Cl 6, 90 Duro

11/16 x 7/8 class 6, drop control valve

1шт.

28

391913R91

VALVE

ASSY, drop control, Includes Ref. 29 - 33

1шт.

138204

SCREW,Hex Skt, 1/4" - 20 x 1 1/2"

1/4 x 1-1/2 pln h/shd cap

1шт.

445568

BOLT,Hex, 1/4"-20 x 2 1/4", G8

1/4 x 2-1/4 pln type 8

1шт.

103319

LOCK WASHER,1/4"

WASHER, LOCK, 1/4"

1шт.

29

382626R1

SPRING

spool return

1шт.

30

384053R1

BUSHING

drop control valve

1шт.

31

384052R1

SNAP RING,#43, .337" Dia, E-Type

Ring, Retaining, #43, .337" Dia, E-Type

1шт.

32

386006R1

ROD

spool actuating

1шт.

33

53393D

SPRING

spool actuating rod

1шт.

446160

WASHER,#10

.219 x .438 x .036 pln

1шт.

18411R1

NUT,#10-32, GB

no. 10-NF pln p/t lock type 5

1шт.

34

382629R11

LEVER

BELLCRANK ASSY, drop control valve

1шт.

NLS

NO LONGER SERVICED

PIN, 1/16 x 1/2 pln cot

1шт.

495-81252

WASHER,#12

.234 x .531 x .036 pln

1шт.

35

384052R1

SNAP RING,#43, .337" Dia, E-Type

Ring, Retaining, #43, .337" Dia, E-Type

1шт.

Выбрано товаров: 45