Запчасти Case IH 3688HC (10-33) - HYDRAULICS, TWO AND THREE AUXILIARY VALVE CONNECTIONS, 3088, 3288 AND 3688HC TRACTORS (07) - HYDRAULICS

Схема запчастей Case IH 3688HC - (10-33) - HYDRAULICS, TWO AND THREE AUXILIARY VALVE CONNECTIONS, 3088, 3288 AND 3688HC TRACTORS (07) - HYDRAULICS
23
13
12
21
24
22
4
22
19
16
13
9
12
6
11
4
8
15
18
2
5
13
12
4
2
14
12
10
1
1
3
20
17
21
24
7
12
12
14
19
1
14
FIT
1:1
100%

Артикул

Название

Примечание

Количество

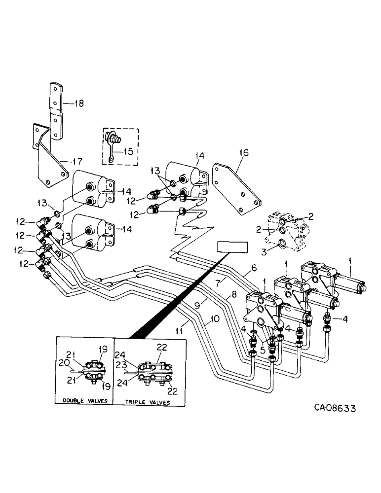
1

62463C94

VALVE, CHECK

VALVE ASSY, four position open end, 2000 PSI, For components, see list of parts under detail of open center control valve, this group, (2) for double valves, (3) for triple valves

1шт.

24916R1

BOLT,Hex, 3/8" - 16 x 4 3/4", Gr 8

3/8 x 4-3/4 pln type 8, For double valves

4шт.

20848R1

BOLT,Hex, 3/8" - 16 x 6 1/2", Gr 8

3/8 x 6-1/2 pln type 8, For triple valves

4шт.

2

20947R1

O-RING,0.103" Thk x 0.799" ID, -117, Cl 6, 90 Duro

13/16 x 1 class 6, 2 per valve

1шт.

3

383219R1

O-RING,0.924" ID x 0.103" Width

15/16 x 1-1/8 class 6, 1 per valve

1шт.

4

9410204

HYD CONNECTOR,7/8"-14, 37 Degree x 7/8"-14, O-Ring

CONNECTOR, 5/8 C-Z hyd fld short swivel, 2 per valve

1шт.

5

364885R1

O-RING,0.097" Thk x 0.755" ID, -910, Cl 6, 90 Duro

5/8 OD tube class 6, 2 per valve

1шт.

6

104614C1

HYD TUBE

TUBE ASSY, 1st valve raise

1шт.

7

104615C2

HYD TUBE

TUBE ASSY, 1st valve drop

1шт.

8

104616C1

HYD TUBE

TUBE ASSY, 2nd valve raise

1шт.

9

104617C1

HYD TUBE

TUBE ASSY, 2nd valve drop

1шт.

10

104682C1

HYD TUBE

TUBE ASSY, 3rd valve raise, tractors w/cat. II, 3 pt. hitch

1шт.

10

127968C1

TUBE

ASSY, 3rd valve riase, tractors w/cat. III, 3 pt. hitch

1шт.

11

104619C1

HYD TUBE

TUBE ASSY, 3rd valve drop

1шт.

12

9410978

ELBOW,90 Degree, 7/8"-14, 37 Degree x 7/8"-14, O-Ring

5/8 C-Z hyd fld adj 90 deg., 2 per coupler

1шт.

13

364885R1

O-RING,0.097" Thk x 0.755" ID, -910, Cl 6, 90 Duro

5/8 OD tube class 6, 2 per coupler

1шт.

14

544786R95

COUPLING, BREAK AWAY

COUPLER ASSY, female, IH coupler, (One per valve, For components, see list of parts under details of female coupler)

1шт.

14

1272192C91

COUPLING

COUPLER ASSY, female, ISO coupler, (One per valve, For components, see list of parts under details of female coupler)

1шт.

179880

BOLT,Hex, 1/2" - 13 x 7/8", Gr 5

1/2 x 7/8 pln type 5

4шт.

15

64757C1

PLUG

coupler dust, 2 per IH coupler

1шт.

16

535033R3

BRACKET

coupler LH

1шт.

271556

WHEEL CYLINDER,Hex, 5/8" - 11 x 1 1/4", Gr 5

BOLT, 5/8 x 1-1/4 pln type 5

1шт.

17

1259805C1

BRACKET

coupler RH, Replaces 104317C1 by also ordering tube assy 104615C2

1шт.

271556

WHEEL CYLINDER,Hex, 5/8" - 11 x 1 1/4", Gr 5

BOLT, 5/8 x 1-1/4 pln type 5

2шт.

18

120012C1

SUPPORT

BAR, coupler mtg

1шт.

413-818

BOLT,Hex, 1/2" - 13 x 1-1/8", Gr 5

1/2 x 1-1/8 pln type 5

2шт.

19

486004R1

CLAMP

double aux valve tubes

2шт.

20

104796C1

PLATE

double aux valve tubes

1шт.

21

104799C1

STRIP

double aux valve tubes

2шт.

180137

BOLT,Hex, 3/8" - 16 x 2 3/4", Gr 5

3/8 x 2-3/4 type 5

1шт.

120382

LOCK WASHER,Helical Spring, 3/8"

WASHER, LOCK, 3/8"

1шт.

102635

NUT,3/8"-16, G5

1шт.

22

104795C1

CLAMP

triple aux valve tubes

2шт.

23

104797C1

PLATE

triple aux valve tubes

1шт.

24

104798C1

STRIP

triple aux valve tubes

2шт.

180137

BOLT,Hex, 3/8" - 16 x 2 3/4", Gr 5

3/8 x 2-3/4 type 5

1шт.

120382

LOCK WASHER,Helical Spring, 3/8"

WASHER, LOCK, 3/8"

1шт.

125-10003

NUT,3/8"-16, G5, LH

3/8 pln type 5

1шт.

Выбрано товаров: 0