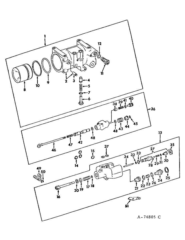
Запчасти Case IH 3688HC (10-59) - HYDRAULICS, DRAFT CONTROL CYLINDER AND VALVE, 3088, 3288 AND 3688HC TRACTORS (07) - HYDRAULICS

Схема запчастей Case IH 3688HC - (10-59) - HYDRAULICS, DRAFT CONTROL CYLINDER AND VALVE, 3088, 3288 AND 3688HC TRACTORS (07) - HYDRAULICS
12
6
31
5
50
41
24
8
29
15
51
19
3
25
2
33
4
38
14
40
49
49
21
23
48
37
13
10
45
42
34
28
17
32
44
43
30
36
22
35
1
48
27
20
16
18
26
47
7
39
9
11
FIT
1:1
100%

Артикул

Название

Примечание

Количество

1

60527C93

SPARE PART

CYLINDER ASSY, draft control

1шт.

2

382597R31

CYLINDER BLOCK

CYLINDER ASSY, draft control

1шт.

3

382598R1

LARGE PIN

PIN, drop retarding lever

1шт.

4

385555R1

LOCK VALVE

POPPET, check valve

1шт.

5

385556R1

VALVE SPRING

SPRING, check valve

1шт.

6

385557R11

PLUG

ASSY, check valve

1шт.

7

364885R1

O-RING,0.097" Thk x 0.755" ID, -910, Cl 6, 90 Duro

5/8 OD tube class 6

1шт.

8

397229R1

PISTON

ASSY, draft control

1шт.

9

382604R1

O-RING,4.35" ID x 0.21" Width

4-3/8 x 4-3/4 class 6

1шт.

10

382605R2

WASHER

draft control piston o-ring backup

1шт.

11

60517C92

VALVE

ASSY, poppet relief

1шт.

12

380839R1

O-RING,0.103" Thk x 0.862" ID, -118, Cl 6, 90 Duro

7/8 x 1-1/16 class 6

1шт.

13

394445R95

LOCK VALVE

VALVE ASSY, draft control

1шт.

NLS

NO LONGER SERVICED

2шт.

179847

BOLT,Hex, 3/8" - 16 x 2", Gr 5

1шт.

103321

LOCK WASHER,3/8"

WASHER, LOCK, 3/8"

2шт.

14

387926R2

RING

valve to cylinder small seal

3шт.

15

388591R1

RING

valve to cylinder large seal

1шт.

16

382610R11

ROD

ACTUATOR ASSY, valve spool

1шт.

17

133702C1

SPRING

valve spool

1шт.

18

376771R1

RING, SNAP

RING, actuator retaining

1шт.

19

376759R1

RETAINER

PLUG, spool bore

1шт.

20

303322R1

SNAP RING,1.00", Int, #100

1.111 ret 1.00", Int, #100

1шт.

21

382612R3

VALVE

drop poppet

1шт.

22

403618R1

O-RING,26.64mm ID x 2.62mm Width

drop poppet valve 1

1шт.

23

372649R1

SPRING

drop poppet valve

1шт.

24

382613R1

PLUG

drop poppet valve

1шт.

25

273026R1

SNAP RING,1.375", Int, #137

RING, 1.526 int ret

1шт.

26

391733R1

O-RING,0.07" Thk x 1.114" ID, -24, Cl 6, 90 Duro

1-1/8 x 1-1/4 class 6

1шт.

27

391911R12

LOCK VALVE

SEAT ASSY, drop valve adj

1шт.

28

17006R1

BALL

3/16 grade 25 metal

1шт.

29

133701C1

VALVE SPRING

SPRING, drop valve ball

1шт.

30

382616R1

SCREW,5/16" - 24 x 0.618"

PLUG, drop valve spring

1шт.

31

369375R1

O-RING,0.064" Thk x 0.239" ID, -902, Cl 6, 90 Duro

1/8 OD tube class 6

1шт.

32

3067183R1

O-RING,0.103" Thk x 0.424" ID, -11, Cl 6, 90 Duro

7/16 x 5/8 class 6

1шт.

33

391912R1

O-RING,0.737" ID x 0.103" Width

3/4 x 15/16 class 6

1шт.

34

382617R1

ROD

drop valve actuating

1шт.

35

382618R1

NUT

drop valve adj seat

1шт.

36

391913R91

VALVE

ASSY, drop control

1шт.

NLS

NO LONGER SERVICED

1/4 x 1-1/2 pln h/shd cap

1шт.

445568

BOLT,Hex, 1/4"-20 x 2 1/4", G8

1/4 x 2-1/4 pln type 8

1шт.

103319

LOCK WASHER,1/4"

WASHER, LOCK, 1/4"

1шт.

37

21433R1

O-RING,0.103" Thk x 0.674" ID, -115, Cl 6, 90 Duro

11/16 x 7/8 class 6, drop control valve

1шт.

38

PISTON, drop control valve, Not serviced separately, Order valve assy, 391913R91

1шт.

39

SPRING, drop control valve, Not serviced separately, Order valve assy, 391913R91

1шт.

40

PLUG ASSY, spring retainer, Not serviced separately, Order valve assy, 391913R91

1шт.

41

O-RING, 7/16 x 9/16 x 1/16, Not serviced separately, Order valve assy, 391913R91

1шт.

42

SPOOL, variable orifice, Not serviced separately, Order valve assy, 391913R91

1шт.

43

382626R1

SPRING

spool return

1шт.

44

384053R1

BUSHING

drop control valve

1шт.

45

384052R1

SNAP RING,#43, .337" Dia, E-Type

Ring, Retaining, #43, .337" Dia, E-Type

1шт.

46

386006R1

ROD

spool actuating

1шт.

47

53393D

SPRING

spool actuating rod

1шт.

446160

WASHER,#10

.219 x .438 x .036 pln

1шт.

18411R1

NUT,#10-32, GB

no. 10-NF pln p/t lock type 5

1шт.

48

NOT USED THIS APPLICATION

1шт.

49

382629R11

LEVER

BELLCRANK ASSY, drop control valve

1шт.

103361

PIN, SPLIT (COTTER)

PIN, 1/16 x 1/2 pln cot

1шт.

446169

WIRE CONNECTOR,Female, 6 Pole

.234 x .531 x .036 pln

1шт.

50

384052R1

SNAP RING,#43, .337" Dia, E-Type

Ring, Retaining, #43, .337" Dia, E-Type

1шт.

51

387414R1

ANCHOR

spring

1шт.

103321

LOCK WASHER,3/8"

WASHER, LOCK, 3/8"

1шт.

Выбрано товаров: 62