Запчасти Case IH 3688HC (06-11) - COOLING, GRILLE AND SUPPORTS Cooling

Схема запчастей Case IH 3688HC - (06-11) - COOLING, GRILLE AND SUPPORTS Cooling
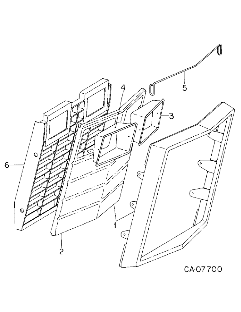
6
3
5
4
1
2
FIT
1:1
100%

Артикул

Название

Примечание

Количество

1

149024C92

HOUSING

ASSY, grille

1шт.

628-8020

BOLT,Hex, M8 x 20, 10.9, Full Thd

M8 x 20 class 8.8

6шт.

668569R1

WASHER

.344 x 1.500 x .105

6шт.

2

149026C1

SCREEN

front

1шт.

3

1251667C1

COLLAR

headlamp, LH

1шт.

104033C2

SELF-TAP SCREW,Truss HD, #10 - 16 x 3/4"

SCREW, headlamp collar, No. 10 x 3/4

4шт.

445446

NUT,U, #10-16

10-12 phc U-spr style I

4шт.

4

1251668C1

COLLAR

headlamp RH

1шт.

104033C2

SELF-TAP SCREW,Truss HD, #10 - 16 x 3/4"

SCREW, headlamp collar, No. 10 x 3/4

4шт.

445446

NUT,U, #10-16

10-12 phc U-spr style I

4шт.

5

149029C2

SUPPORT

grille housing top

1шт.

43138

BOLT,Hex, M10 x 1.5 x 20mm, Cl 8.8

M10 x 20 class 8.8

4шт.

30184R1

WASHER,M10 x 24.5 x 3, HT

10.8 x 24 x 3 mm phc

4шт.

6

148857C1

GRILLE

front

1шт.

149030C2

BOLT,Hex, M8 x 1.25 - 12mm x 33.50mm

BOLT, louver mtg shoulder

4шт.

149031C1

GROMMET

louver mounting

4шт.

30177R1

WASHER,M12 x 24.5 x 3, HT

WAHER, 13.8 x 24 x 3 mm phc

4шт.

Выбрано товаров: 17