Запчасти Case IH 3688HC (07-28) - DRIVE TRAIN, INDEPENDENT PTO CONTROLS (04) - Drive Train

Схема запчастей Case IH 3688HC - (07-28) - DRIVE TRAIN, INDEPENDENT PTO CONTROLS (04) - Drive Train
11
10
4
2
9
6
5
5
7
8
1
3
FIT
1:1
100%

Артикул

Название

Примечание

Количество

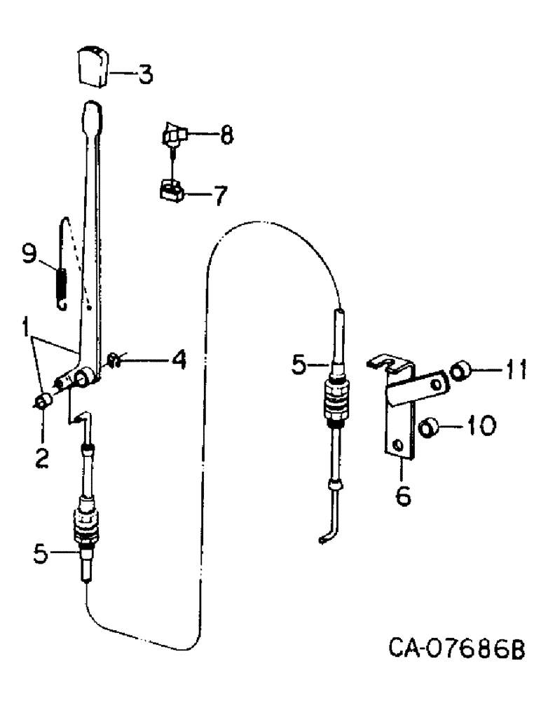
1

1251588C3

HANDLE

ASSY, IPTO control

1шт.

3088 w/Serial no. 506 and below, 3288 w/Serial no. 1076 and below, 3688 w/Serial no. 1800 nd below, 3688HC w/Serial no. 1800 and below.

1шт.

1

1267374C91

HANDLE

ASSY, IPTO control

1шт.

3088 w/Serial no. 507 and above, 3288 w/Serial no. 1077 and above, 3688 w/Serial no. 1801 and above, 3688HC w/Serial no. 1801 and above.

1шт.

2

143960C1

BUSHING

1шт.

3

1259760C1

BALL KNOB

KNOB

1шт.

3088 w/Serial no. 506 and below, 3288 w/Serial no. 1076 and below, 3688 w/Serial no. 1800 and below, 3688HC w/Serial no. 1800 and below.

1шт.

3

1267353C1

KNOB

1шт.

3088 w/Serial no. 507 and above, 3288 w/Serial no. 1077 and above, 3688 w/Serial no. 1801 and above, 3688HC w/Serial no. 1801 and above.

1шт.

4

370290R1

SNAP RING,#50, .392" Dia, E-Type

Ring, Retaining, #50, .392" Dia, E-Type

1шт.

5

130566C1

CABLE

ASSY, IPTO control

1шт.

95-11028

WASHER,1/4"

.281 x .625 x .051 pln

1шт.

NLS

NO LONGER SERVICED

PIN, 1/16 x 1/2 pln cot

1шт.

103373

COTTER PIN,3/32" x 3/4"

Pin, Split (Cotter), 3/32" x 3/4"

1шт.

95-11041

WASHER,3/8"

(.406 x .812 x .051 pln) 3/8"

1шт.

6

1266533C1

SUPPORT

ASSY, IPTO cable, Replaces 130563C1 and 1259817C1

1шт.

24877R1

BOLT,Hex, 5/8" - 11 x 2 1/2", Gr 8

1шт.

396-21066

WASHER,16.66mm ID x 33.33mm OD x 4.27mm Thk

.656 x 1.312 x .074

2шт.

24876R1

BOLT,Hex, 5/8" - 11 x 2 1/4", Gr 8

1шт.

7

120015C1

STOP

governor PTO over speed, tractors w/o tilt steering

1шт.

7

1252740C1

STOP

governor PTO over speed, tractors w/tilt steering

1шт.

8

1399023R2

KNOB, fluted

1шт.

16559R1

WASHER,1/4"

.266 x .625 x .036

1шт.

9

1259809C2

SPRING

IPTO handle return

1шт.

10

627389R1

SPACER,16.7mm ID x 22.23mm OD x 22.2mm L

7/8 x .875 tube, tractors w/o 3 point hitch

1шт.

11

575098R1

SPACER,16.7mm ID x 22.23mm OD x 15.9mm L

7/8 x .625 tube, tractors w/o 3 point hitch

1шт.

Выбрано товаров: 26