Запчасти Case IH 3788 (10-02) - HYDRAULICS, HYDRAULIC POWER STEERING CONNECTIONS (07) - HYDRAULICS

Схема запчастей Case IH 3788 - (10-02) - HYDRAULICS, HYDRAULIC POWER STEERING CONNECTIONS (07) - HYDRAULICS
17
28
36
29
18
20
27
21
30
26
27
33
31
7
12
19
10
12
5
1
8
2
13
11
6
24
26
13
16
12
14
15
3
13
32
23
12
28
9
13
33
34
29
22
4
34
25
35
FIT
1:1
100%

Артикул

Название

Примечание

Количество

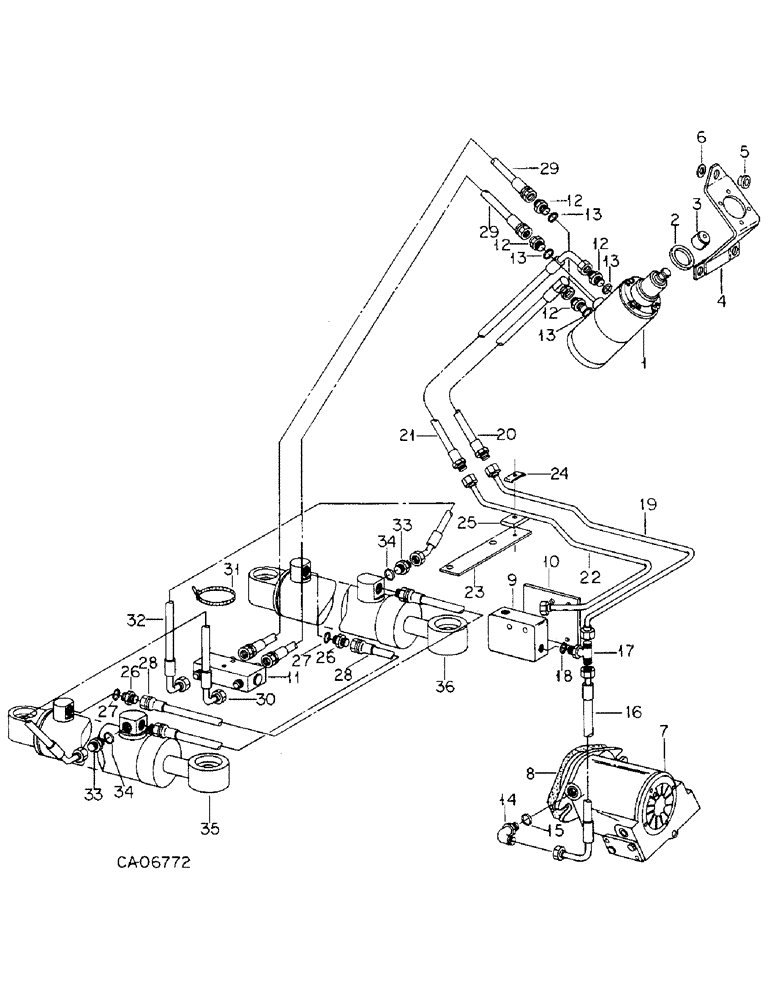
1

1282355C91

PUMP

ASSY, power steering hand, Replaces 133520C92 and 1255295C91, refer to hydrostatic power steering hand pump this group for list of components

1шт.

617944R1

PIN,3/8" x 1 3/4", Coiled

1шт.

2

104007C1

SEAL

hand pump shaft dust

1шт.

3

104008C1

RUBBER INSULATOR

INSULATOR, pump shaft vibration

1шт.

4

104853C1

BRACKET

ASSY, hand pump mtg

1шт.

179814

SPACER

5/16 x 5/8 pln type 5

4шт.

5

104809C1

ISOLATOR,27.94mm OD x 18.29mm L

INSULATOR, hand pump bracket

3шт.

6

536642R1

WASHER

3шт.

179841

BOLT,Hex, 3/8" - 16 x 1 1/4", Gr 5

3/8-16 x 1-1/4 pln type 5

3шт.

7

1272916C91

PUMP

ASSY, piston, 12 gpm, renewed, Replaces 1255006C95

1шт.

1272916C91R

REMAN-HYD PUMP

3388, 3588 ( Both 1/79-12-81) & 3788 (1/80-12/81)

1шт.

1272916C91C

CORE-HYDRAULIC PUMP

Return Number

1шт.

8

390618R1

GASKET

pump

1шт.

179883

BOLT,Hex, 1/2" - 13 x 1 1/4", Gr 5

2шт.

395-11053

WASHER,0.53" ID x 1.06" OD x 0.1" Thk

.531 x 1.062 x .074 pln

2шт.

9

113680C91

BLOCK

ASSEMBLY, relief valve, refer to relief valve this group for list of components

1шт.

179837

BOLT,Hex, 3/8" - 16 x 3/4", Gr 5

2шт.

10

134701C1

SUPPORT

relief valve, bracket

1шт.

179850

BOLT,Hex, 3/8" - 16 x 2 3/4", Gr 5

3/8 x 2-3/4 pln type 5

2шт.

102635

NUT,3/8"-16, G5

1шт.

11

142864C95

VALVE

ASSY, alternating check, refer to alternating check valve this group for list of components

1шт.

179850

BOLT,Hex, 3/8" - 16 x 2 3/4", Gr 5

3/8 x 2-3/4 pln type 5

2шт.

102635

NUT,3/8"-16, G5

2шт.

12

324273R1

HYD CONNECTOR,3/4"-16, 37 Degree x 9/16"-18, O-Ring

CONNECTOR, 3/8 tube to 1/2 tube, hand pump ports

4шт.

13

364839R1

O-RING,0.078" Thk x 0.468" ID, -906, Cl 6, 90 Duro

6-1, 90 Duro, .468" ID x .078" Thk, 3/8 OD tube

4шт.

14

9410978

ELBOW,90 Degree, 7/8"-14, 37 Degree x 7/8"-14, O-Ring

7/8-14 x 5/8 tube strg pump

1шт.

15

364885R1

O-RING,0.097" Thk x 0.755" ID, -910, Cl 6, 90 Duro

5/8 OD tube

1шт.

16

134723C3

HOSE

ASSY, supply to rel block

1шт.

17

9411119

TEE,7/8"-14, 37 Degree x 7/8"-14, O-Ring Br

7/8-14 rel block supply

1шт.

18

364885R1

O-RING,0.097" Thk x 0.755" ID, -910, Cl 6, 90 Duro

5/8 OD tube

1шт.

19

1268992C1

HYD TUBE

TUBE ASSY, supply to hand pump, Replaces 134727C2

1шт.

20

134726C1

HOSE

ASSY, supply to hand pump

1шт.

21

134745C1

HOSE

ASSY, return from hand pump

1шт.

22

1268993C1

HYD TUBE

TUBE ASSY, return from hand pump, Replaces 134725C4

1шт.

23

146912C1

SUPPORT TUBE,273 mm Length

SUPPORT, hand pump tubes

1шт.

179881

BOLT,1/2" - 13 x 1", Gr 5

2шт.

24

224968C2

STRIP

CLAMP, steering tubes, Replaces 397490R1 & 139099C1

2шт.

25

224905C1

STRIP

clamp retainer, Replaces 163492C1

1шт.

179826

BOLT,Hex, 5/16" - 18 x 2", Gr 5

1шт.

9413952

LOCK NUT,5/16"-18, GB

NUT, 5/16 phc p/t lock type 5

1шт.

25533R1

WASHER

.344 x .688 x .065 phc hdn

2шт.

26

9410203

HYD CONNECTOR,3/4"-16, 37 Degree x 3/4"-16, O-Ring

CONNECTOR, 1/2 tube, strg cylinders

2шт.

27

570828R1

O-RING,0.087" Thk x 0.644" ID, -908, Cl 6, 90 Duro

1/2 tube

2шт.

28

127486C2

HOSE

ASSY, Serial Range: cyl-cyl

2шт.

29

127487C1

HOSE

ASSY, valve to strg pump

2шт.

30

141837C2

HOSE

ASSY, valve to strg cyl

1шт.

31

306132C1

CABLE TIE,14.5" L

STRAP, tie wrap

2шт.

32

142031C1

HOSE

ASSY, valve to strg cyl, RH

1шт.

33

9411105

ELBOW,45 Degree, 3/4"-16, 37 Degree x 3/4"-16, O-Ring

3/4-16 37 deg hyd flared tube 45 deg swivel

2шт.

34

570828R1

O-RING,0.087" Thk x 0.644" ID, -908, Cl 6, 90 Duro

1/2 tube

2шт.

35

128198C92

CYLINDER

ASSY, LH power steering, For 38.75 degree tractor articulation, refer to power steering cylinders this group for list of components

1шт.

35

142419C92

CYLINDER

ASSY, LH power steering, For 34.00 degree tractor articulation, refer to power steering cylinders this group for list of components

1шт.

36

140738C92

CYLINDER

ASSY, RH power steering, For 38.75 degree tractor articulation, refer to power steering cylinders this group for list of components

1шт.

36

142416C92

CYLINDER

ASSY, RH power steering, For 34.00 degree tractor articulation, refer to power steering cylinders this group for list of components

1шт.

Выбрано товаров: 54