Запчасти Case IH 3788 (09-10) - FRAME, THREE POINT HITCH QUICK COUPLER ATTACHMENT (12) - FRAME

Схема запчастей Case IH 3788 - (09-10) - FRAME, THREE POINT HITCH QUICK COUPLER ATTACHMENT (12) - FRAME
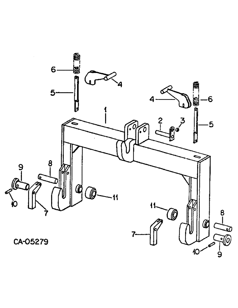
9
5
10
7
2
10
4
3
6
4
5
11
6
9
7
8
8
11
1
FIT
1:1
100%

Артикул

Название

Примечание

Количество

62784C91

COUPLING

COUPLER ASSY, category II quick, also furnish 2 lower link hitch ball bushings 535448R1

1шт.

64726C91

COUPLING

COUPLER ASSY, category III quick

1шт.

1

64711C1

FRAME

ASSY, coupler main, category II

1шт.

1

64720C1

FRAME

ASSY, coupler main, category III

1шт.

2

64712C1

PIN

ASSY, upper link, category II

1шт.

2

64721C1

LARGE PIN

PIN ASSY, upper link, category III

1шт.

3

64714C1

BUSHING

pin retainer, category II

1шт.

3

64714C1

BUSHING

pin retainer, category III

3шт.

495-11053

WASHER,1/2", SAE

.531 x 1.062 x .074, 1 per bushing retainer

1шт.

26317R1

BOLT,Hex, 1/2" - 13 x 1 1/4", Gr 8

1/2 x 1-1/4 phc p/t type 8, 1 per bushing retainer

1шт.

4

64715C1

HANDLE

ASSY, latch

2шт.

39374D

CLEVIS PIN,5/16" x 1 1/16"

PIN, 5/16 x 1.062 pln clevis

2шт.

103384

COTTER PIN,1/8" x 3/4"

Pin, Split (Cotter), 1/8" x 3/4"

2шт.

5

64716C1

BAR

spring, category II

2шт.

5

64723C1

BAR

spring, category III

2шт.

6

64717C1

SPRING

latch

2шт.

7

64718C1

LUG

lock, latch, category II

2шт.

19555R1

PIN,5/16" x 1", Coiled

2шт.

20126R1

PIN,1/2" x 2", Coiled

2шт.

7

64724C1

LUG

lock, latch, category III

2шт.

19790R1

PIN,5/16" x 1 1/4", Coiled

2шт.

19998R1

PIN,1/2" x 2 1/2", Coiled

2шт.

8

64719C1

PIN

lower link, category II

2шт.

19795R1

PIN,1/4" x 1 3/4", Coiled

2шт.

8

64722C1

PIN

ASSY, lower link, category III

2шт.

9

401232R1

ADAPTER

implement lower hitch pin

2шт.

10

21926R1

PIN,7/16" x 1 3/8", Coiled

2шт.

11

401233R1

COLLAR

BUSHING, implement lower hitch pin, category III

2шт.

19998R1

PIN,1/2" x 2 1/2", Coiled

3588 and 3788 tractors w/1-3/4 IPTO shaft attachment 1/2" x 2 1/2", Coiled

2шт.

Выбрано товаров: 29