Запчасти Case IH 3788 (13-15) - SUPERSTRUCTURE, HYDRAULIC SEAT SUPPORT (05) - SUPERSTRUCTURE

Схема запчастей Case IH 3788 - (13-15) - SUPERSTRUCTURE, HYDRAULIC SEAT SUPPORT (05) - SUPERSTRUCTURE
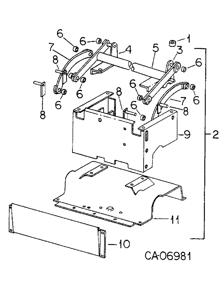
10
9
6
3
8
6
2
7
5
6
6
6
8
6
6
8
4
8
4
6
7
11
FIT
1:1
100%

Артикул

Название

Примечание

Количество

1

120196C1

SPACER

seat

4шт.

2

120028C91

SUPPORT

SUSPENSION ASSY, seat, Consists of ref nos. 3, 4, 5, 6, 7, 8 & 9

1шт.

3

534388R3

SUPPORT

ASSY, seat suspension LH

1шт.

21796R1

WASHER

.656 x 1.000 x .054

2шт.

180174

BOLT,Hex, 1/2" - 13 x 1 1/8", Gr 5

1/2 x 1-1/8 type 5

2шт.

120384

WASHER,1/2"

LOCK, 1/2"

2шт.

4

534389R3

SUPPORT

ASSY, seat suspension RH

1шт.

180174

BOLT,Hex, 1/2" - 13 x 1 1/8", Gr 5

1/2 x 1-1/8 type 5

2шт.

102384

HYDRAULIC VALVE

WASHER, 1/2 lock

2шт.

21796R1

WASHER

.656 x 1.000 x .054

2шт.

5

534393R92

LINK

ASSY, seat upper

1шт.

6

534398R1

BUSHING,15.95mm ID x 19.13mm OD x 22.35mm L

seat linkage bar

8шт.

7

534399R1

BAR

ASSY, seat lower link

2шт.

8

534402R1

PIN

ASSY, front pivot

4шт.

9

102029C1

SUPPORT ASSY, seat, Not serviced separately, furnish 120028C91

1шт.

9635082

NUT,5/16" - 18, Gr 5

2шт.

103320

LOCK WASHER,5/16"

WASHER, LOCK, 5/16"

2шт.

10

104223C1

PANEL

seat suspension

1шт.

160688

SCREW,Cross Pan Hd, 5/16" - 18 x 3/4"

1шт.

11

104215C1

COVER

ASSY, seat support

1шт.

Выбрано товаров: 20