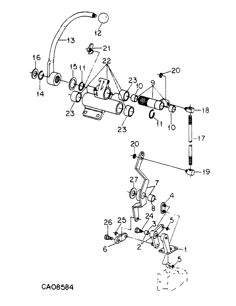
Запчасти Case IH 5088 (10-35) - HYDRAULICS, FOURTH AUXILIARY VALVE CONTROLS (07) - HYDRAULICS

Схема запчастей Case IH 5088 - (10-35) - HYDRAULICS, FOURTH AUXILIARY VALVE CONTROLS (07) - HYDRAULICS
11
1
22
11
21
6
20
2
16
3
13
17
9
23
5
4
19
10
24
14
5
25
15
23
20
27
8
26
7
10
12
23
18
FIT
1:1
100%

Артикул

Название

Примечание

Количество

1

143978C1

BRACKET

aux valve control

1шт.

931951R1

BOLT,Hex, M6 x 1 x 16mm, Cl 8.8, Full Thd

M6 x 16 pln class 8.8

2шт.

2

143979C92

LEVER

ASSY, aux valve control, Includes: Ref. 3

1шт.

3

143982C1

BUSHING

1шт.

4

143984C1

LINK

ASSY, aux valve control

1шт.

5

104977R1

SNAP RING,#X31, .243" Dia, E-Type

RING, RETAINING, #X31, .243" Dia, E-Type

2шт.

6

1251563C2

BAR

aux valve control

1шт.

7

1251561C91

LEVER

ASSY, 4th aux valve, Includes: Ref. 8

1шт.

8

120464C1

BUSHING,19.07mm ID x 20.68mm OD x 13.21mm L

1шт.

9

1251542C92

SHAFT

ASSY, 4th aux valve-outer, Includes: Ref. 10

1шт.

10

149101C1

BUSHING

2шт.

11

866189R1

SNAP RING,#125, Ext

Ring, Snap, #125, Ext

1шт.

12

1259763C1

KNOB

4th aux valve handle, tan, For flat handle

1шт.

12

1280099C1

KNOB

4th valve handle, tan, For round handle

1шт.

13

1280021C1

HANDLE

ASSY, 4th valve or

1шт.

13

1280082C2

HANDLE

ASSY, 4th valve, Replaces 1251548C4

1шт.

14

866189R1

SNAP RING,#125, Ext

Ring, Snap, #125, Ext

1шт.

15

1251550C1

WASHER

1шт.

16

1251551C1

WASHER

1шт.

17

1259534C1

ROD

4th aux valve control

1шт.

30168R1

NUT,M10, Cl 10

M10 phc class 10

1шт.

18

1251968C2

PIN

upper control

1шт.

19

1251970C2

PIN

lower control

1шт.

20

896045R1

SNAP RING,#37, Ext

2шт.

21

1259816C1

LEVER

float lockout

1шт.

22

1259810C91

SUPPORT

ASSY W/BUSHINGS, valve lever

1шт.

23

149097C1

BUSHING

3шт.

24

143983C1

BOLT,Shldr, Hex, M10 x 1.5 x 28mm, Cl 8.8

shoulder

1шт.

25

110668R1

CIRCLIP,#37, .300" Dia, E-Type

Ring, Retaining, #37, .300" Dia, E-Type

1шт.

26

1280278C1

BOLT,Shldr, Hex, 5/16" - 18 x 1.04", Type 5

BOLT, 5/16-18 x 1.04 shoulder

1шт.

390304C1

WASHER

.344 x .688 x .065 hdn

1шт.

9413952

LOCK NUT,5/16"-18, GB

NUT, 5/16 phc p/t lock type 5

1шт.

27

16066R1

WASHER

.781 x 1.500 x .054 pln

1шт.

Выбрано товаров: 33