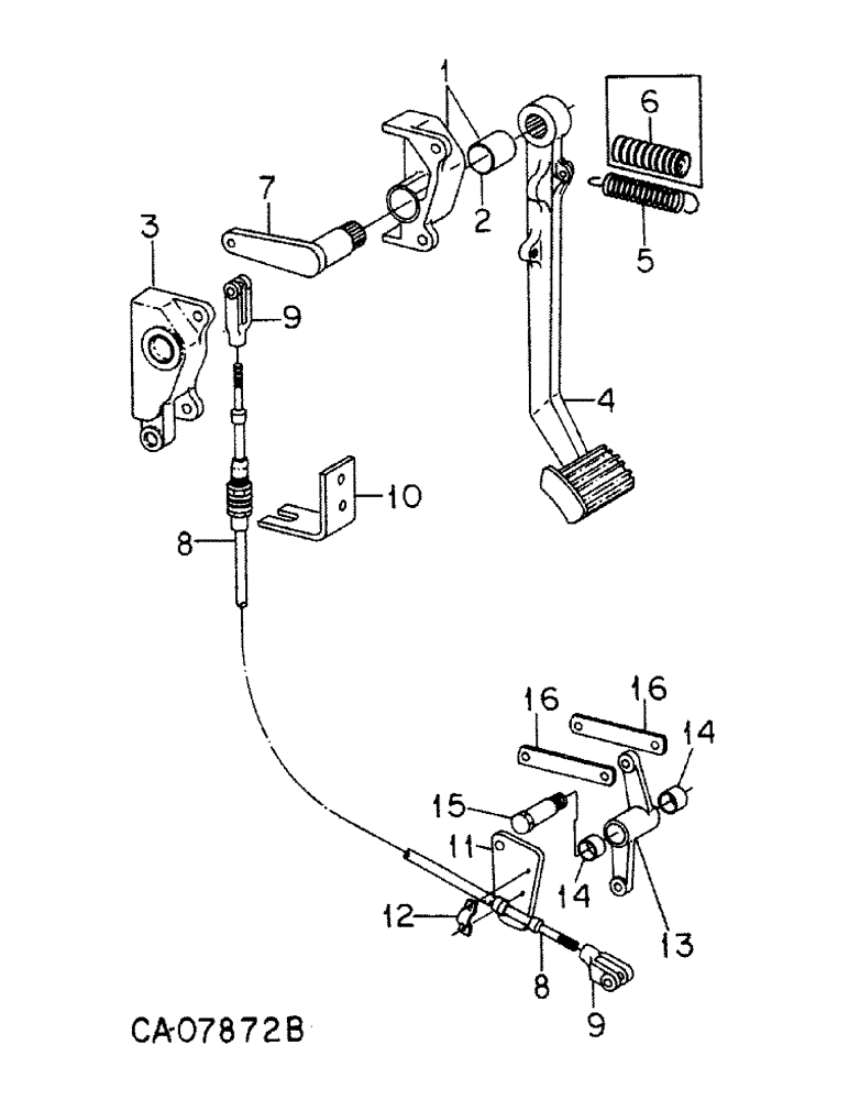
Запчасти Case IH 5088 (07-05) - DRIVE TRAIN, CLUTCH CONTROLS (04) - Drive Train

Схема запчастей Case IH 5088 - (07-05) - DRIVE TRAIN, CLUTCH CONTROLS (04) - Drive Train
10
7
16
13
4
16
14
5
12
9
1
9
15
14
2
11
6
3
8
8
FIT
1:1
100%

Артикул

Название

Примечание

Количество

1

120174C91

SUPPORT

ASSY, pedal pivot

1шт.

2

120173C1

BUSHING,30.28mm ID x 32.56mm OD x 47.37mm L

pivot

1шт.

3

104516C1

SUPPORT

ASSY, pivot w/plug

1шт.

378084R1

PLUG, 1.012 OD cup

1шт.

179841

BOLT,Hex, 3/8" - 16 x 1 1/4", Gr 5

3/8-16 x 1-1/4 pln type 5

2шт.

102635

NUT,3/8"-16, G5

2шт.

179837

BOLT,Hex, 3/8" - 16 x 3/4", Gr 5

4шт.

4

104039C2

PEDAL

clutch

1шт.

24497R1

WASHER

.344 x 1.250 x .105 znd

1шт.

179816

BOLT,Hex, 5/16" - 18 x 3/4", Gr 5

1шт.

5

104783C1

SPRING

pedal return

1шт.

6

CONDUIT, convoluted-return spring, Furnish 4.25 inches from roll 2643132R1, 5088 w/serial no. 7374 and below, 5288 w/serial no. 5133 and below, 5488 w/serial no. 3173 and below

1шт.

7

1270917C1

ARM

ASSY, pedal, lever, Replaces 144187C2 by also ordering angle, 1270919C1 on tractors w/serial nos as follows- 5088 w/serial no 7098 and below, 5288 w/serial no. 4870 and below, 5488 w/serial no. 2913 and below

1шт.

8

144189C1

CABLE

ASSY, clutch control

1шт.

9

144190C1

YOKE

clutch control cable (clevis)

2шт.

865197R1

CLEVIS PIN,3/8" x 1.218"

PIN, 3/8 x 1.218 phc clevis

2шт.

103373

COTTER PIN,3/32" x 3/4"

Pin, Split (Cotter), 3/32" x 3/4"

2шт.

95-11041

WASHER,3/8"

(.406 x .812 x .051 pln) 3/8"

2шт.

10

1270919C1

BUSHING

ANGLE, clutch control cable - Upper (Sup), Replaces 144191C2 by also ordering arm assy, 1270917C1 on tractors w/serial nos as follows- 5088 w/serial no. 7098 and below, 5288 w/serial no. 4870 and below, 5488 w/serial no. 2913 and below

1шт.

931143R1

BOLT,Hex, M10 x 1.5 x 20mm, Cl 8.8, Full Thd

M10 x 20 pln class 8.8

2шт.

11

144192C1

SUPPORT

clutch control cable

1шт.

30578R1

BOLT,Hex, M10 x 1.5 x 85mm, Cl 8.8

M10 x 85 pln class 8.8

2шт.

12

120008C1

CLAMP

clutch control cable, Replaces 144381C1

1шт.

30898R1

HEX SOC SCREW,M4 x 10mm, Cl 12.9

SCREW, M4 x 10 pln class 12.9 h/shd cap

2шт.

933832R1

LOCK WASHER,M4

WASHER, 4 mm lock

2шт.

13

148516C1

LEVER

clutch control, Replaces 144196C91

1шт.

14

104876C1

BUSHING

used w/144196C91 lever

2шт.

15

144195C1

BOLT,Pivot, Hex, M16 x 2 x 81mm

clutch bellcrank pivot

1шт.

16

144194C2

BAR

clutch bellcrank to valve (Link)

2шт.

865197R1

CLEVIS PIN,3/8" x 1.218"

PIN, 3/8 x 1.218 phc clevis

2шт.

103373

COTTER PIN,3/32" x 3/4"

Pin, Split (Cotter), 3/32" x 3/4"

2шт.

95-11041

WASHER,3/8"

(.406 x .812 x .051 pln) 3/8"

4шт.

Выбрано товаров: 32