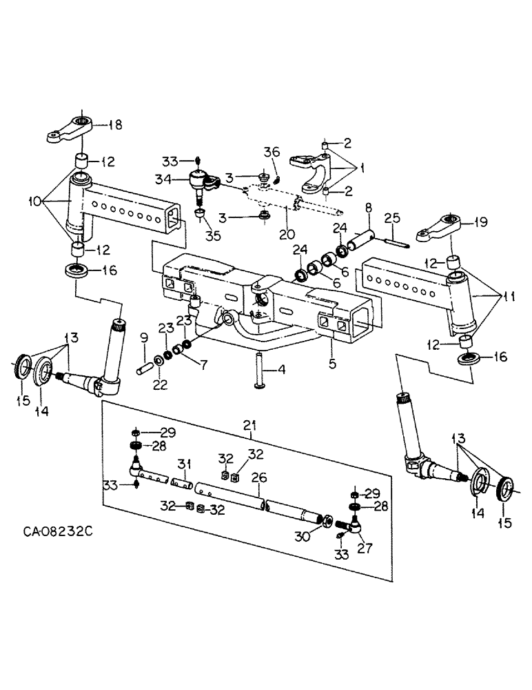
Запчасти Case IH 5288 (14-05) - SUSPENSION, ADJUSTABLE HIGH CAPACITY FRONT AXLE, 60 TO 88 IN. TREAD ADJUSTMENT Suspension

Схема запчастей Case IH 5288 - (14-05) - SUSPENSION, ADJUSTABLE HIGH CAPACITY FRONT AXLE, 60 TO 88 IN. TREAD ADJUSTMENT Suspension
29
4
33
13
16
22
12
8
12
33
36
14
30
5
3
32
35
32
31
10
12
20
7
1
24
23
15
21
26
27
19
3
25
32
16
32
29
33
18
34
28
23
2
14
24
12
28
13
2
15
6
11
9
6
FIT
1:1
100%

Артикул

Название

Примечание

Количество

1

1259579C93

ARM

ASSY W/BUSHING, center steering, Includes: Ref. 2

1шт.

2

1259581C1

BUSHING,25.43mm ID x 28.6mm OD x 31.8mm L

2шт.

3

1259582C2

FITTING

trunnion cap

2шт.

350818R1

O-RING,0.984" ID x 0.139" Width

1 x 1-1/4 class 5

2шт.

30091R1

BOLT,Hex, M20 x 2.5 x 60mm, Cl 10.9, Full Thd

M20 x 60 phc class 10.9

2шт.

25548R1

WASHER

.812 x 1.500 x .219 phc hdn

2шт.

109461

LUBE NIPPLE,1/8"-27 x .66 lg

NIPPLE, LUBE, , PTF, center steering arm 1/8"-27 x .66 lg

1шт.

4

1259584C1

PIVOT PIN,25.65mm OD x 210.05mm L

PIN, center arm pivot

1шт.

19534R1

PIN,1/4" x 1 1/2", Coiled

1шт.

71421C1

WASHER

1.031 x 1.75 x .156 (Or as required)

3шт.

Q175

WASHER

1.031 x 1.750 x .042 pln (Or as required)

1шт.

5

1264573C92

AXLE, REAR

AXLE ASSY W/BUSHINGS AND SEALS, high capacity front, Includes: Ref. 6, 7, 23 and 24

1шт.

30127R1

BOLT,Hex, M24 x 3 x 200mm, Cl 10.9

M24 x 200 phc class 10.9

4шт.

30180R1

WASHER,M24 x 44.5 x 5, HT

25.8 x 44 x 5 mm phc

4шт.

1264635C1

NUT

front axle clamping

4шт.

80722

LUBE NIPPLE,3/16" x .55" lg, Drive

FITTING, 3/16 hole lub

1шт.

6

1280557C1

BUSHING

front axle pivot

2шт.

7

1280558C2

BUSHING

rear axle pivot

1шт.

8

1259511C2

PIVOT PIN

PIN, front axle pivot

1шт.

9

1259512C2

PIVOT PIN

PIN, rear axle pivot

1шт.

631252R1

HEADED PIN,9.53mm OD x 104.78mm L

PIN, 3/8 x 4.125 pln hd type 5

1шт.

103384

COTTER PIN,1/8" x 3/4"

Pin, Split (Cotter), 1/8" x 3/4"

1шт.

17049R91

LUBE NIPPLE,67.5 Degree, 1/8"-27 NPT x 1.03" lg, Leakproof

FITTING, 1/8 PTF short 65D lub

1шт.

10

1264574C92

CABLE EXTENSION

EXTENSION ASSY W/BUSHINGS, high capacity LH

1шт.

80722

LUBE NIPPLE,3/16" x .55" lg, Drive

FITTING, 3/16 hole lub

1шт.

11

1264575C92

CABLE EXTENSION

EXTENSION ASSY W/BUSHINGS, high capacity RH

1шт.

80722

LUBE NIPPLE,3/16" x .55" lg, Drive

FITTING, 3/16 hole lub

1шт.

12

1259518C1

BUSHING,63.53mm ID x 67.21mm OD x 50.8mm L

steering knuckle pivot

4шт.

13

1259519C92

KNUCKLE JOINT

KNUCKLE ASSY, steering, Includes: Ref. 14 and 15

2шт.

1259683C1

NUT

M30 x 1.5 pln slt

2шт.

934868R1

COTTER PIN,M6.3 x 50

PIN, 6.3 x 50 mm pln cot

2шт.

14

1259522C1

SHIELD

front wheel dust

2шт.

15

491641C1

SEAL

front wheel hub, Replaces 1259523C1

2шт.

16

1270815C91

THRUST BEARING

steering knuckle thrust

2шт.

17

NOT USED

1шт.

18

1259526C2

ARM

steering knuckle LH

1шт.

1259669C2

WASHER

steering arm retainer

1шт.

30588R1

BOLT,Hex, M20 x 2.5 x 55mm, Cl 8.8, Full Thd

M20 x 55 class 8.8

1шт.

19

1259527C2

STEERING ARM

ARM, steering knuckle RH

1шт.

1259669C2

WASHER

steering arm retainer

1шт.

30588R1

BOLT,Hex, M20 x 2.5 x 55mm, Cl 8.8, Full Thd

M20 x 55 class 8.8

2шт.

20

CYLINDER ASSY, steering, See group 10

1шт.

21

1270788C91

ROD

ASSY, tie

2шт.

103387

COTTER PIN,1/8" x 1 1/2"

Pin, Split (Cotter), 1/8" x 1 1/2"

4шт.

22

630101C2

THRUST WASHER

WASHER, axle thrust

1шт.

23

1280599C1

SEAL,31.7mm ID x 38.1mm OD x 3.17mm Thk

rear axle pivot

2шт.

24

1280600C1

SEAL,50.77mm ID x 63.5mm OD x 7.92mm Thk

front axle pivot

2шт.

25

28431R1

HEADED PIN,3/8" x 6 1/8"

PIN, 3/8 x 6-1/8 x 5.984 hd type 5, Used with pin, 1259511C1

1шт.

103384

COTTER PIN,1/8" x 3/4"

Pin, Split (Cotter), 1/8" x 3/4"

1шт.

25

1280683C1

AXLE PIN,12.7mm OD x 178mm L

PIN, retaining 1/2 in. type 8, Used with pin, 1259511C2

1шт.

934792R1

COTTER PIN,M3.2 x 20

PIN, 3.2 x 20 mm pln cot.

2шт.

26

1280657C1

TUBE,30.7 - 40 mm ID, 41.2 mm OD, 431.5 mm Length

2шт.

27

1280658C1

BALL JOINT

SOCKET END ASSY, RH thread

2шт.

28

1280659C1

SEAL,27.61mm ID x 38.9mm OD x 8.13mm Thk

dust

4шт.

29

1280660C1

SLOTTED NUT

NUT, slotted M20 x 1.5

4шт.

30

1280661C1

NUT

NUT, jam, 1-1/8"

2шт.

31

1280662C1

BALL JOINT

SOCKET END ASSY, rod

2шт.

32

1280663C1

CLAMP

spacer

8шт.

25779R1

BOLT,Hex, 3/8" - 24 x 3", Gr 8

3/8-NF x 3 phc type 8

4шт.

359784C1

LOCK NUT,3/8"-24, GC

NUT, 3/8-NF cad p/t lock type 8

4шт.

33

219-8

LUBE NIPPLE,1/4" - 28 NPTF

NIPPLE, LUBE, 1/4"-28 NPT x .54" lg

5шт.

34

1280566C92

END ASSY.

END ASSY, ball joint rod

1шт.

179864

BOLT,Hex, 7/16" - 14 x 1 3/4", Gr 5

7/16 x 1-3/4 pln type 5, For end of TRW manufacture

1шт.

9413954

LOCK NUT,7/16"-14, GB

NUT, 7/16 phc p/t lock type 5, For end of TRW manufacture

1шт.

179847

BOLT,Hex, 3/8" - 16 x 2", Gr 5

For end of O and S bearing manufacture Hex, 3/8"-16 x 2", G5

1шт.

69981R1

LOCK NUT,3/8"-16, GB

NUT, 3/8 p/t lock type 5, For end of O and S bearing manufacture

1шт.

614451R1

WASHER

1.031 x 1.750 x .105

1шт.

272322

WASHER

7/8-NF pln slt-thick type 5

1шт.

103399

PIN,5/32" x 1 3/4"

Split (Cotter), 5/32" x 1 3/4"

1шт.

35

250586C1

SEAL

dust

1шт.

36

219-53

LUBE NIPPLE,65 Degree Elbow, 3/16" NPTF

FITTING, 3/16 hole 65 deg lub

2шт.

Выбрано товаров: 71