Запчасти Case IH 5488 (08-14) - ELECTRICAL, TRACTOR FLOOD AND HEADLIGHTS AND CONNECTIONS (06) - ELECTRICAL

Схема запчастей Case IH 5488 - (08-14) - ELECTRICAL, TRACTOR FLOOD AND HEADLIGHTS AND CONNECTIONS (06) - ELECTRICAL
10
5
1
6
2
3
2
6
7
4
9
5
8
11
11
7
9
8
10
FIT
1:1
100%

Артикул

Название

Примечание

Количество

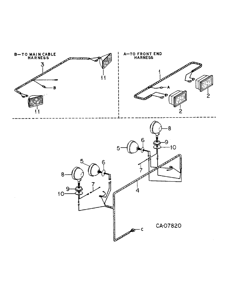
1

1251925C3

HARNESS

ASSY, headlight

1шт.

2

131227C92

HEADLIGHT

ASSY, 12-volt rectangular, Includes lamp 1265547C1

2шт.

THIS ASSEMBLY COMES WITH RUBBER BOOT, THIS BOOT CANNOT BE ORDERED SEPARATELY. IF ORDERING 146479C1 LAMP, YOU WILL NOT GET THE RUBBER BOOT THAT THIS LAMP FITS INTO. 9/13/95 JMB/MARV HOOD

1шт.

2

1265547C1

LAMP

ASSY, rectangular

1шт.

144117C1

NUT

J type spring

8шт.

1270741C1

SELF-TAP SCREW,Cross Pan Hd, #8 x 1"

SCREW, SELF TAP, , polyseal Cross Pan Hd, #8 x 1"

8шт.

3

148848C2

HARNESS

ASSY, front flood lights

1шт.

3

120158C1

HARNESS

ASSY, front flood lights, Tractors w/auxiliary lights

1шт.

4

146513C2

HARNESS

ASSY, fender lights, 5088 w/serial no. 6243 and below, 5288 w/serial no. 4210 and below, 5488 w/serial no. 2425 and below

1шт.

4

245179C2

HARNESS

ASSY, fender lights 5088 w/serial no. 6244 and above, 5288 w/serial no. 4211 and above, 5488 w/serial no. 2426 and above

1шт.

178532

LOCK WASHER,Ext-Int Tooth, 5/16"

WASHER, 5/16 ext-int tooth lock

2шт.

1250532C1

CONDUIT

convoluted, RH, Use 26.0 inches from roll 464835C1

2шт.

142350

GROMMET,7/8" ID x 1 5/8" x .125", Diag Cut

7/8 x 1-9/16 x 3/4

4шт.

5

388945R91

HEADLIGHT

LIGHT ASSY, rear flood, Only serviceable Ref. are

2шт.

373662R91

LAMP

type C-6 trade #4411, Optional w/131508C1

2шт.

131508C1

LAMP BASE

LAMP, replacement GE #H7610, Optional w/373662R91

2шт.

676078R1

RETAINER

shock proof light

2шт.

6

388947R1

RETAINER

light

2шт.

120238

JAM NUT,Jam, 1/2"-13, G5

1/2 jam type 5

2шт.

7

405209R1

CABLE

ASSY, aux light ground

2шт.

8

131368C92

HEADLIGHT

LIGHT ASSY, rear aux flood, Only serviceable Ref. are

2шт.

131203C1

LAMP

ASSY, sealed beam

2шт.

676078R1

RETAINER

shockproof light, For J W Hobbs light assy

2шт.

1252609C1

RETAINER

shockproof light, For Midwest Mfg light assy

2шт.

9

1267358C2

SEAT

rear flood light mtg ball, Replaces 370307R1

2шт.

120371

NUT,1/2"-20, G5

2шт.

10

1255773C1

GASKET

light seat, Used only w/seat, 370307R1

2шт.

11

146479C1

HEADLIGHT

LIGHT, rectangular front flood

2шт.

Выбрано товаров: 0