Запчасти Case IH 5488 (08-29) - ELECTRICAL, AM/FM CASSETTE RADIOS (06) - ELECTRICAL

Схема запчастей Case IH 5488 - (08-29) - ELECTRICAL, AM/FM CASSETTE RADIOS (06) - ELECTRICAL
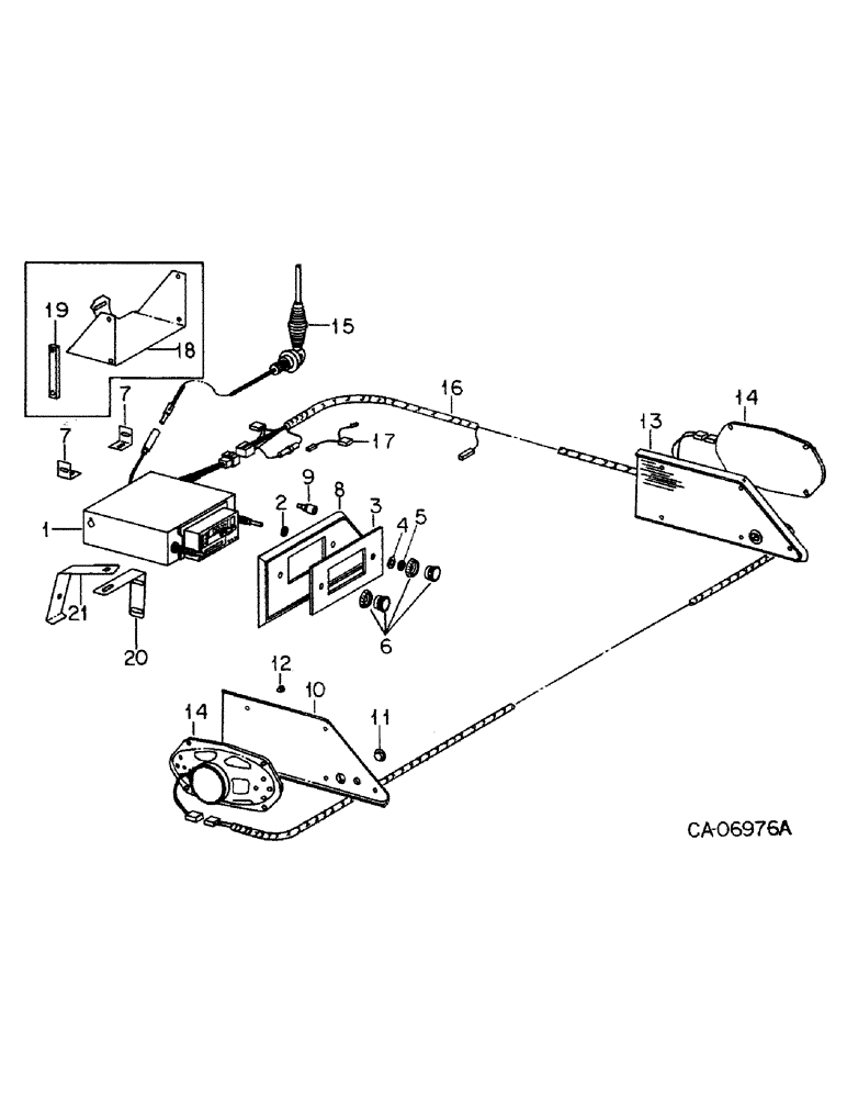
21
19
11
15
8
6
2
17
20
5
12
7
9
10
16
14
3
7
18
14
4
1
13
FIT
1:1
100%

Артикул

Название

Примечание

Количество

1

111648C1

RADIO

push button AM/FM w/cassette tape player

1шт.

1

146533C4

RADIO

AM/FM digital clock radio, electronic tuning w/cassette tape

1шт.

146540C1

KNOB

radio volume and tuning

2шт.

146542C1

KNOB

tone and balance

2шт.

146543C1

SPACER

radio

1шт.

2

142919C1

NUT

large shaft

2шт.

3

117992C1

PLATE

trim

1шт.

4

142920C1

WASHER

shaft

2шт.

5

142921C1

NUT

small shaft

2шт.

6

117993C1

PACKAGE

KIT, radio control knobs, Consists of four knobs

1шт.

7

143124C1

ANGLE

radio mounting

2шт.

598795R1

CARRIAGE BOLT,Sht Sq Nk, 1/4" - 20 x 3/4", Gr 5

BOLT, 1/4 x 3/4 crg type 5

2шт.

174916

LOCK WASHER,Ext-Int Tooth, 1/4"

WASHER, 1/4 ext-int tooth lock

2шт.

492-11025

LOCK WASHER,1/4"

WASHER, LOCK, 1/4"

4шт.

143059C1

NUT

1/4-20 tamper resistant

4шт.

8

118376C1

PANEL

radio trim

1шт.

1276052C1

SELF-TAP SCREW,Cross Oval Hd, #8 x 1 3/4"

SCREW, no. 8-18 x 1-3/4 polyseal o/hdcr tap

5шт.

9

117995C1

PACKAGE

KIT, trim panel fastener, Consists of 5 fasteners

3шт.

10

111402C2

PANEL

speaker trim LH

1шт.

1276052C1

SELF-TAP SCREW,Cross Oval Hd, #8 x 1 3/4"

SCREW, no. 8-18 x 1-3/4 polyseal o/hdcr tap

5шт.

11

117730C1

PLUG

plastic, .375 diameter

1шт.

12

142940C1

PLUG

plastic, .625 diameter

1шт.

13

111403C1

PANEL

speaker trim RH

1шт.

1276052C1

SELF-TAP SCREW,Cross Oval Hd, #8 x 1 3/4"

SCREW, no. 8-18 x 1-3/4 polyseal o/hdcr tap

5шт.

14

142956C1

SPEAKER

4 x 8, 4 ohm

2шт.

15

111237C1

ANTENNA

ASSY, complete

1шт.

169850C1

CLIP

1шт.

16

143177C1

HARNESS

ASSY, radio and speaker

1шт.

445635

FUSE,3 Amp, Type 1AG

AGA 3 amp 5/8 long

1шт.

17

146544C1

CABLE

ASSY, domelight to radio, Use w/radio 146533C1

1шт.

18

BRACKET, mounting, Order supports 1252402C1 and 1252403C1

1шт.

19

BAR, radio rear mtg compound nut, Order supports, 1252402C1 and 1252403C1

1шт.

20

1252402C1

SUPPORT

radio, Use w/radio 146533C1

1шт.

21

1252403C1

SUPPORT

radio mtg, Use w/radio 146533C1

1шт.

598795R1

CARRIAGE BOLT,Sht Sq Nk, 1/4" - 20 x 3/4", Gr 5

BOLT, 1/4 x 3/4 crg type 5

3шт.

492-11025

LOCK WASHER,1/4"

WASHER, LOCK, 1/4"

3шт.

143059C1

NUT

1/4-20 tamper resistant

3шт.

Выбрано товаров: 0