Запчасти Case IH 5488 (10-15) - HYDRAULICS, TRANSMISSION CONTROL VALVE (07) - HYDRAULICS

Схема запчастей Case IH 5488 - (10-15) - HYDRAULICS, TRANSMISSION CONTROL VALVE (07) - HYDRAULICS
10
14
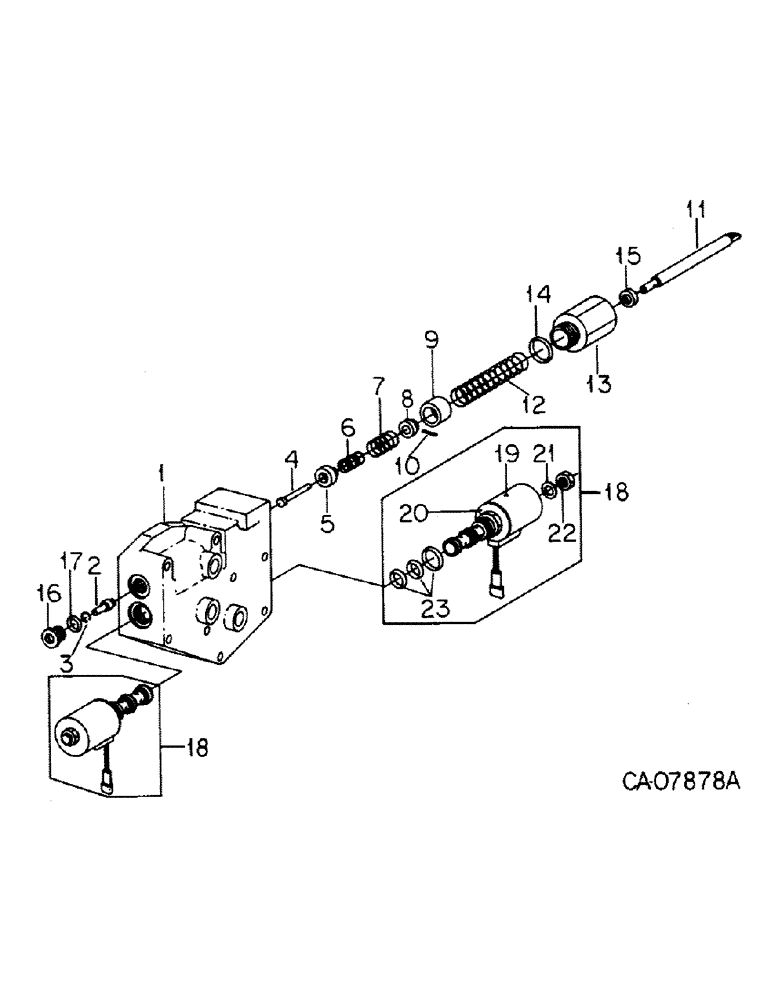
1
6
17
8
2
13
4
18
19
22
7
23
12
21
16
9
20
15
3
5
11
18
FIT
1:1
100%

Артикул

Название

Примечание

Количество

224370C99

VALVE

ASSY, transmission control

1шт.

1

BODY AND SPOOL, Not serviced separately, Order transmission control valve

1шт.

2

1255314C2

PIN

reaction

1шт.

3

1252251C1

RING

pin retaining

1шт.

4

1255315C1

ROD

spool return

1шт.

5

1252246C1

RETAINER

rod

1шт.

6

1260972C1

SPRING

modulating, light

1шт.

7

1255103C2

SPRING

modulating, heavy

1шт.

8

1252247C1

SLEEVE

stem guide

1шт.

9

1252248C1

PISTON

stem guide

1шт.

10

1252250C1

PIN

rod retaining

1шт.

11

1252244C1

STEM

trans clutch valve

1шт.

12

224377C2

SPRING

valve spool return

1шт.

13

142761C1

FITTING

clutch valve stem

1шт.

14

307915R1

O-RING,0.118" Thk x 1.475" ID, -920, Cl 6, 90 Duro

1-1/4 OD tube class 6

1шт.

15

142762C1

SEAL

clutch valve stem fitting lip

1шт.

16

224582C1

PLUG

3/4-16 str thd o-ring boss

1шт.

17

570828R1

O-RING,0.087" Thk x 0.644" ID, -908, Cl 6, 90 Duro

1/2 OD tube class 6

1шт.

18

142712C94

VALVE

ASSY, shift solenoid

2шт.

19

1260776C4

COIL

ASSY, solenoid valve

2шт.

20

1263439C1

WASHER

solenoid flux

2шт.

21

1263438C1

WAVE WASHER

wave

2шт.

22

1263440C1

NUT

solenoid coil

2шт.

23

1260777C1

PACKAGE

KIT, seal

2шт.

Выбрано товаров: 24