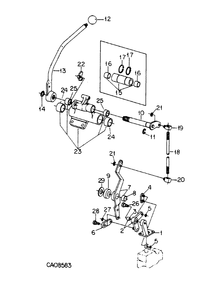
Запчасти Case IH 5488 (10-34) - HYDRAULICS, THIRD AUXILIARY VALVE CONTROLS (07) - HYDRAULICS

Схема запчастей Case IH 5488 - (10-34) - HYDRAULICS, THIRD AUXILIARY VALVE CONTROLS (07) - HYDRAULICS
20
27
14
24
21
29
13
10
9
26
4
16
3
22
2
23
7
6
17
16
24
21
17
8
5
25
12
28
11
15
19
1
18
25
5
FIT
1:1
100%

Артикул

Название

Примечание

Количество

1

143978C1

BRACKET

aux valve control

1шт.

931951R1

BOLT,Hex, M6 x 1 x 16mm, Cl 8.8, Full Thd

M6 x 16 pln class 8.8

2шт.

2

143979C92

LEVER

ASSY, aux valve control, Includes: Ref. 3

1шт.

3

143982C1

BUSHING

1шт.

4

143984C1

LINK

ASSY, aux valve control

1шт.

5

104977R1

SNAP RING,#X31, .243" Dia, E-Type

RING, RETAINING, #X31, .243" Dia, E-Type

2шт.

6

1251563C2

BAR

aux valve control

1шт.

7

1251559C91

LEVER

ASSY, 3rd aux valve

1шт.

8

120464C1

BUSHING,19.07mm ID x 20.68mm OD x 13.21mm L

1шт.

9

143998C1

SPACER

aux valve handle hub

1шт.

10

1251545C2

SHAFT

ASSY, 3rd aux valve, inner

1шт.

11

603570R1

SNAP RING,#75, .574" Dia, E-Type

Ring, Retaining, #75, .574" Dia, E-Type

1шт.

12

1259762C1

KNOB

3rd aux valve handle, blue, For flat handle

1шт.

12

1280098C1

KNOB

3rd valve, blue, For round handle

1шт.

13

1280019C1

HANDLE

ASSY, 3rd valve or

1шт.

13

1280080C2

HANDLE

ASSY, 3rd valve, Replaces 1259887C2 and 1251549C4

1шт.

14

384098R1

SNAP RING,#62, Ext

Ring, Snap, #62, Ext

1шт.

15

130689C91

SHAFT

ASSY, 3rd aux valve spacer, Not req'd if support assy Ref 23, 148539C91 is on tractor, Includes: Ref. 16

1шт.

16

149101C1

BUSHING

2шт.

17

866189R1

SNAP RING,#125, Ext

Ring, Snap, #125, Ext

2шт.

18

1259534C1

ROD

3rd and 4th aux valve control

1шт.

30168R1

NUT,M10, Cl 10

M10 phc class 10

1шт.

19

1251968C2

PIN

upper control

1шт.

20

1251970C2

PIN

lower control

1шт.

21

896045R1

SNAP RING,#37, Ext

2шт.

22

1259816C1

LEVER

flow lockout

1шт.

23

148539C91

SUPPORT

ASSY W/BUSHINGS, valve lever, three

1шт.

24

149097C1

BUSHING

2шт.

25

149101C1

BUSHING

2шт.

26

143983C1

BOLT,Shldr, Hex, M10 x 1.5 x 28mm, Cl 8.8

shoulder

1шт.

27

110668R1

CIRCLIP,#37, .300" Dia, E-Type

Ring, Retaining, #37, .300" Dia, E-Type

1шт.

28

1280278C1

BOLT,Shldr, Hex, 5/16" - 18 x 1.04", Type 5

BOLT, 5/16-18 x 1.04 shoulder

1шт.

390304C1

WASHER

.344 x .688 x .065 hdn

1шт.

9413952

LOCK NUT,5/16"-18, GB

NUT, 5/16 phc p/t lock type 5

1шт.

29

16066R1

WASHER

.781 x 1.500 x .054 pln

1шт.

Выбрано товаров: 35