Запчасти Case IH 5488 (10-52) - HYDRAULICS, DRAFT CONTROL CYLINDER AND VALVE (07) - HYDRAULICS

Схема запчастей Case IH 5488 - (10-52) - HYDRAULICS, DRAFT CONTROL CYLINDER AND VALVE (07) - HYDRAULICS
29
31
16
24
27
2
23
3
18
7
34
15
13
24
20
28
6
19
25
30
8
35
26
5
33
22
9
12
21
4
1
32
14
11
10
17
FIT
1:1
100%

Артикул

Название

Примечание

Количество

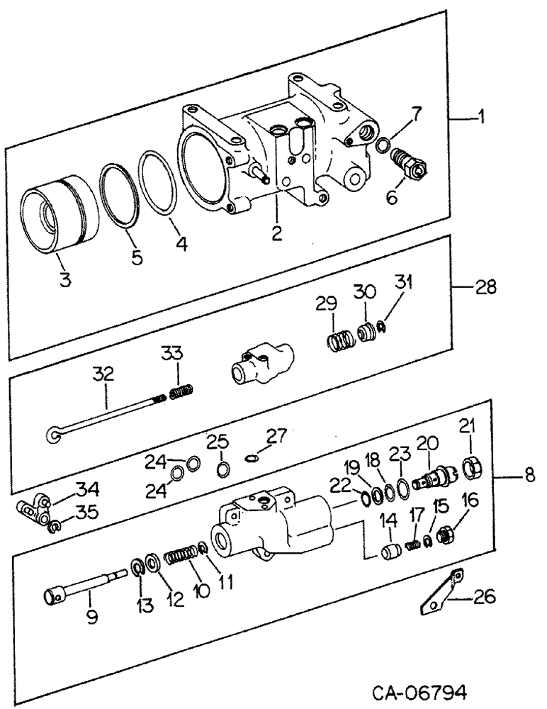
1

145675C93

HYDRAULIC CYLINDER

CYLINDER ASSY, draft control

1шт.

2

145676C2

CYLINDER

ASSY, draft control

1шт.

3

397229R1

PISTON

ASSY, draft control cyl

1шт.

4

382604R1

O-RING,4.35" ID x 0.21" Width

4-3/8 x 4-3/4 x 3/16, Draft control piston

1шт.

5

382605R2

WASHER

draft control piston o-ring back up

1шт.

6

60517C92

VALVE

ASSY, poppet relief, 5088 with s/n 6334 and below, 5288 with s/n 4271 and below, 5488 with s/n 2440 and below

1шт.

6

1266861C91

LOCK VALVE

VALVE ASSY, cushion relief, 5088 with s/n 6335 and above, 5288 with s/n 4272 and above, 5488 with s/n 2441 and above

1шт.

7

380839R1

O-RING,0.103" Thk x 0.862" ID, -118, Cl 6, 90 Duro

7/8 x 1-1/16 class 6

1шт.

8

1255021C92

VALVE

ASSY, draft control

1шт.

179843

BOLT,Hex, 3/8" - 16 x 1 1/2", Gr 5

3шт.

103321

LOCK WASHER,3/8"

WASHER, LOCK, 3/8"

3шт.

9

123258C1

VALVE

ASSY, spool

1шт.

10

133702C1

SPRING

valve spool

1шт.

11

376771R1

RING, SNAP

RING, actuating retaining

1шт.

12

376759R1

RETAINER

PLUG, spool bore

1шт.

13

303322R1

SNAP RING,1.00", Int, #100

1.111 ret 1.00", Int, #100

1шт.

14

123260C1

VALVE

check poppet

1шт.

15

364885R1

O-RING,0.097" Thk x 0.755" ID, -910, Cl 6, 90 Duro

5/8 OD tube class 6

1шт.

16

395926R1

PLUG

check poppet valve

1шт.

17

382310R1

SPRING

check poppet valve

1шт.

18

383024R1

O-RING,0.07" Thk x 0.676" ID, -17, Cl 6, 90 Duro

11/16 x 13/16 class 6

2шт.

19

123263C1

WASHER

drop valve o-ring back-up

1шт.

20

127835C93

VALVE

ASSY, drop, Refer to drop valve assy this group for list of components

1шт.

21

9410062

LOCK NUT,Blkhd, 1 1/16"-12

NUT, 3/4 C-Z adj str/thd fitting lock

1шт.

22

392382R1

O-RING,0.551" ID x 0.07" Width

9/16 x 11/16 class 6

1шт.

23

368269R1

O-RING,0.116" Thk x 0.924" ID, -912, Cl 6, 90 Duro

3/4 OD tube class 6

1шт.

24

387926R2

RING

valve to cyl small seal

2шт.

25

388591R1

RING

valve to cyl large seal

1шт.

26

127882C1

ANCHOR

spring

1шт.

27

21433R1

O-RING,0.103" Thk x 0.674" ID, -115, Cl 6, 90 Duro

11/16 x 7/8 class 6, Drop control valve

1шт.

28

391913R91

VALVE

ASSY, drop control

1шт.

NLS

NO LONGER SERVICED

1/4 x 1-1/2 pln h/shd cap

1шт.

445568

BOLT,Hex, 1/4"-20 x 2 1/4", G8

1/4 x 2-1/4 pln type 8

1шт.

103319

LOCK WASHER,1/4"

WASHER, LOCK, 1/4"

1шт.

29

382626R1

SPRING

spool return

1шт.

30

384053R1

BUSHING

drop control valve

1шт.

31

384052R1

SNAP RING,#43, .337" Dia, E-Type

Ring, Retaining, #43, .337" Dia, E-Type

1шт.

32

386006R1

ROD

spool actuating

1шт.

33

53393D

SPRING

spool actuating rod

1шт.

446160

WASHER,#10

.219 x .438 x .036 pln

1шт.

18411R1

NUT,#10-32, GB

no. 10-NF pln p/t lock type 5

1шт.

34

382629R11

LEVER

BELLCRANK ASSY, drop control valve

1шт.

103361

PIN, SPLIT (COTTER)

PIN, 1/16 x 1/2 pln cot

1шт.

495-81252

WASHER,#12

.234 x .531 x .036 pln

1шт.

35

384052R1

SNAP RING,#43, .337" Dia, E-Type

Ring, Retaining, #43, .337" Dia, E-Type

1шт.

Выбрано товаров: 45