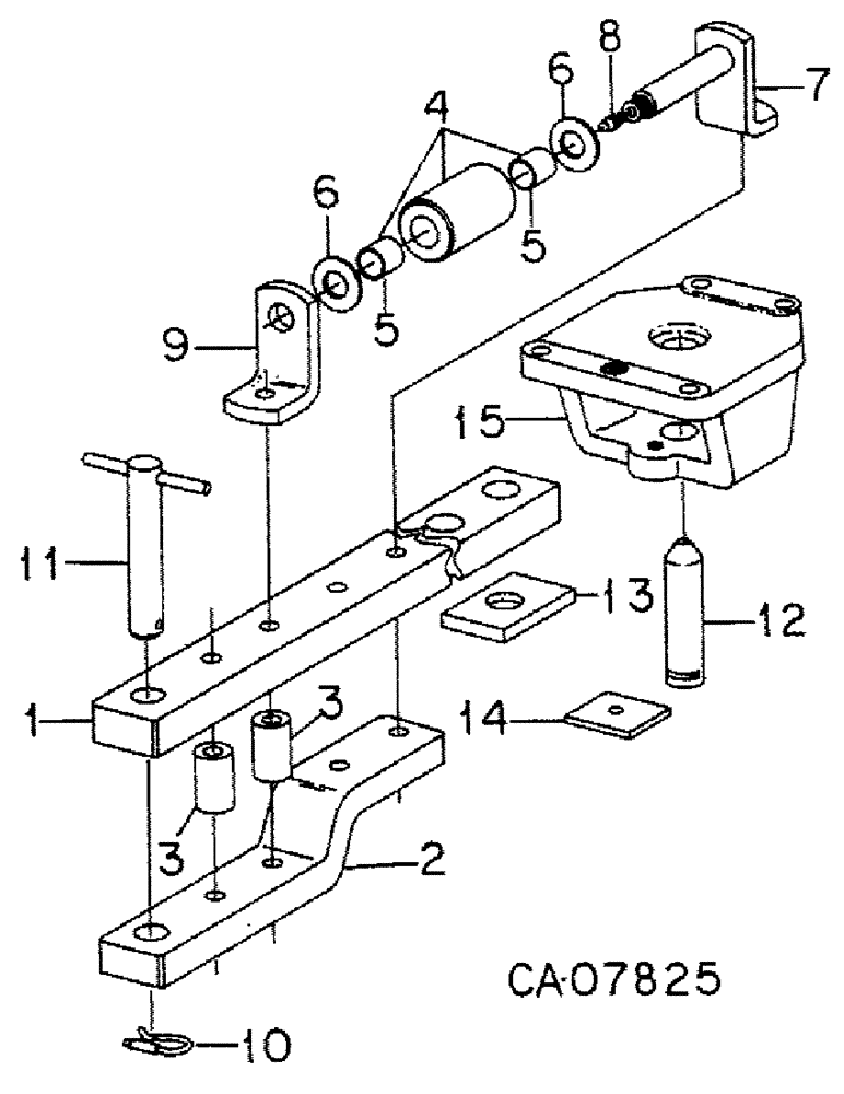
Запчасти Case IH 5488 (09-10) - FRAME, HEAVY DUTY SWINGING DRAWBAR, WITHOUT HYDRAULIC DRAFT CONTROL, 5288 AND 5488 TRACTORS (12) - FRAME

Схема запчастей Case IH 5488 - (09-10) - FRAME, HEAVY DUTY SWINGING DRAWBAR, WITHOUT HYDRAULIC DRAFT CONTROL, 5288 AND 5488 TRACTORS (12) - FRAME
12
15
5
2
6
9
3
10
11
3
7
13
4
5
1
6
8
14
FIT
1:1
100%

Артикул

Название

Примечание

Количество

1

145192C1

BAR

DRAWBAR, swinging

1шт.

30409R1

BOLT,Hex, M22 x 2.5 x 110mm, Cl 10.9

M22 x 110 phc class 10.9

1шт.

30507R1

BOLT,Hex, M22 x 2.5 x 165mm, Cl 10.9

M22 x 165 phc class 10.9

1шт.

30510R1

LOCK WASHER,M22

WASHER, 22 mm lock

1шт.

30509R1

NUT,M22 x 2.5, Cl 10

M22 phc class 10

1шт.

2

145206C1

SUPPORT

swinging drawbar guide

1шт.

3

145259C1

SPACER

swinging drawbar guide

2шт.

4

145262C93

ROLLER

ASSY, swinging drawbar

1шт.

5

391869R1

BUSHING

2шт.

6

391870R1

WASHER

swinging drawbar roller

2шт.

7

1252199C1

SHAFT

ASSY, swinging drawbar roller

1шт.

30506R1

BOLT,Hex, M22 x 2.5 x 130mm, Cl 10.9

M22 x 130 phc class 10.9

1шт.

30510R1

LOCK WASHER,M22

WASHER, 22 mm lock

1шт.

30509R1

NUT,M22 x 2.5, Cl 10

M22 phc class 10

1шт.

8

109461

LUBE NIPPLE,1/8"-27 x .66 lg

NIPPLE, LUBE, , PTF 1/8"-27 x .66 lg

1шт.

9

145260C1

BRACKET

roller support shaft rear

1шт.

30511R1

LOCK WASHER,M24

WASHER, 24 mm lock

1шт.

30172R1

NUT

M24 phc class 10

1шт.

30508R1

BOLT,Hex, M22 x 2.5 x 180mm, Cl 10.9

M22 x 180 phc class 10.9

1шт.

30510R1

LOCK WASHER,M22

WASHER, 22 mm lock

1шт.

30509R1

NUT,M22 x 2.5, Cl 10

M22 phc class 10

1шт.

10

520175R11

AXLE PIN

PIN ASSY, quick attachable cotter

1шт.

11

530149R1

PIN

ASSY, drawbar clevis, Optional w/400300R1

1шт.

11

400300R1

CLEVIS PIN

PIN ASSY, drawbar clevis, Optional w/530149R1

1шт.

12

224618C1

PIN,34.87mm OD x 150mm L

drawbar pivot

1шт.

13

224619C2

SPACER

drawbar pivot

1шт.

14

67828C1

RETAINER

pin

1шт.

30042R1

BOLT,Hex, M12 x 1.75 x 30mm, Cl 10.9, Full Thd

M12 x 30 phc class 10.9

1шт.

933834R1

LOCK WASHER,M12

WASHER, 12 mm pln lock

1шт.

15

SUPPORT ASSY, swinging drawbar pivot, Refer to rear frame and covers, group 7

1шт.

Выбрано товаров: 0