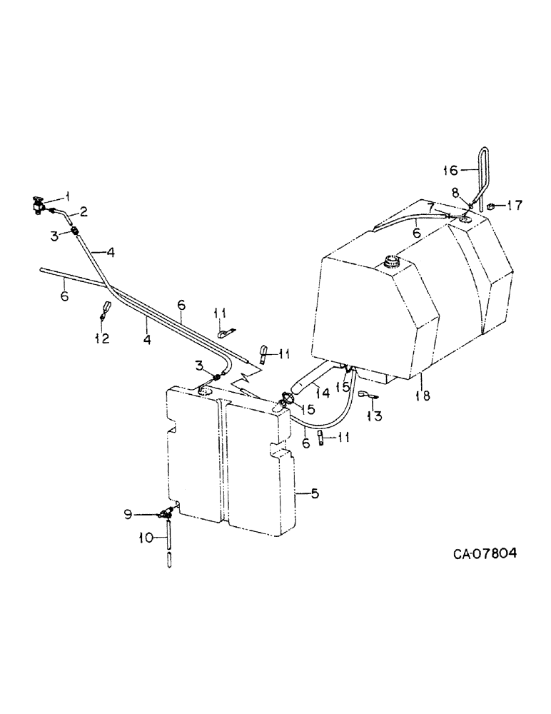
Запчасти Case IH 5488 (12-05) - POWER, FUEL PIPE AND CONNECTIONS, TRACTORS WITH AUXILIARY FUEL TANK Power

Схема запчастей Case IH 5488 - (12-05) - POWER, FUEL PIPE AND CONNECTIONS, TRACTORS WITH AUXILIARY FUEL TANK Power
11
9
11
6
13
8
15
4
11
6
15
17
6
4
14
18
3
2
1
6
3
10
12
16
7
5
FIT
1:1
100%

Артикул

Название

Примечание

Количество

1

161707C1

VALVE,5/8" - 18 x 1/4" NPTF

VALVE, fuel tank shut-off

1шт.

2

120405C1

FUEL TUBE

TUBE ASSY, fuel line

1шт.

3

137597C1

ADAPTER,11/16" - 20

fuel line

2шт.

4

TUBE, aux tank shut-off valve to fuel filter, use 1346 mm/53 in. of 1/2 OD nylon tube from a bulk roll marked 74814C1

1шт.

5

TANK, auxiliary fuel, See auxiliary fuel tank and supports elsewhere in this group

1шт.

6

TUBE, fuel line return, Use 3175 mm/125 in. of 3/8 OD nylon tube from a bulk roll marked 74813C1

1шт.

7

872436R1

HOSE CLAMP,#6, 3/8", Spring

CLAMP, no. 6 type E spring wire hose

1шт.

8

28068R1

HOSE CLAMP,#4, 1/4", Spring

CLAMP, no. 4 type E spring wire hose

1шт.

9

104465C1

DRAIN VALVE

VALVE, fuel tank drain

1шт.

10

TUBE, aux tank drain, Use 2.25 in. of 3/8 nylon tube from a bulk roll marked 74813C1

1шт.

11

380053R1

CLIP, fuel lines, double

3шт.

12

120161C1

CLIP

fuel lines, twisted double

1шт.

13

370820R1

CLIP

fuel return tube

1шт.

14

137707C1

FUEL HOSE

HOSE, main tank to aux tank

1шт.

15

681209C1

HOSE CLAMP,#32, 1.56/2.50 Type F Worm, W/liner

CLAMP, no. 32 shoe type F hose

2шт.

16

TUBE, fuel tank vent, Use 48 in. of 1/4 OD nylon tube from a bulk roll marked 74812C1

1шт.

17

374903R1

CLIP

fuel tank vent tube

1шт.

18

TANK, main fuel, Refer to main fuel tank and supports elsewhere in this group

1шт.

Выбрано товаров: 18