Запчасти Case IH 5488 (12-09) - POWER, ETHER STARTING Power

Схема запчастей Case IH 5488 - (12-09) - POWER, ETHER STARTING Power
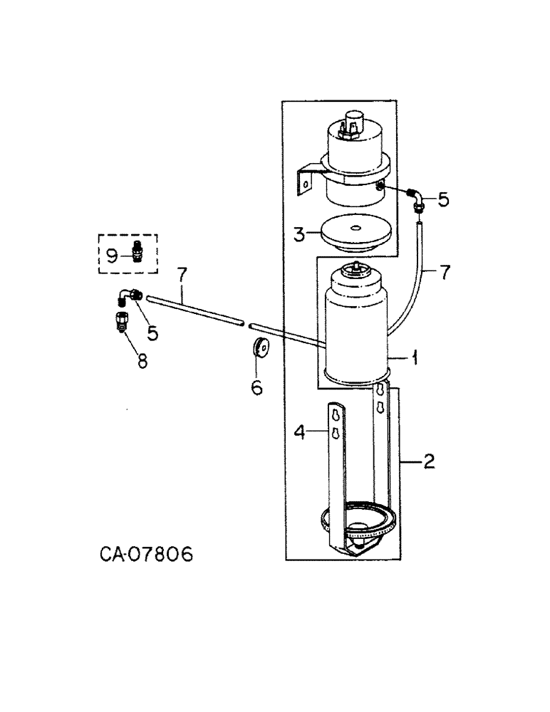
2
4
6
3
9
5
7
1
8
7
5
FIT
1:1
100%

Артикул

Название

Примечание

Количество

1

385064R91

FLUID

ether starting 12 oz can

1шт.

2

121842C91

SOLENOID SWITCH

INJECTOR ASSY, ether starting, Includes: Ref. 3 and 4

1шт.

931829R1

BOLT,Hex, M8 x 1.25 x 12mm, Cl 8.8, Full Thd

2шт.

934675R1

WASHER,M8 x 16 x 1.6

8.8 x 17 x 1.6 mm

2шт.

3

395686R1

GASKET

ether starting injector

1шт.

4

121851C1

RETAINER

injector, bail assy

1шт.

5

289970C91

FITTING

ELBOW, 90 deg x 1/8-27 x 1/8 tube

2шт.

6

144197C1

GROMMET,1/8" ID x 5/8" Groove Dia, Str Cut

1шт.

7

TUBE, ether solenoid to manifold, 5088 and 5288 tractors, Use 40 in. of 1/8 OD nylon tube from a 100 ft bulk roll marked 417195C2

1шт.

7

TUBE, ether solenoid to manifold, 5488 tractors, Use 50 in. of 1/8 OD nylon tube from a 100 ft bulk roll marked 417195C2

1шт.

8

269635R91

NOZZLE CAP

NOZZLE, starting fluid

1шт.

9

NOT USED THIS APPLICATION

1шт.

Выбрано товаров: 12