Запчасти Case IH 5488 (07-27) - DRIVE TRAIN, PARK LOCK CONTROLS, EXTERNAL, TRACTORS WITHOUT DYNAMIC BRAKES (04) - Drive Train

Схема запчастей Case IH 5488 - (07-27) - DRIVE TRAIN, PARK LOCK CONTROLS, EXTERNAL, TRACTORS WITHOUT DYNAMIC BRAKES (04) - Drive Train
4
7
3
8
2
4
9
10
5
4
6
8
6
1
FIT
1:1
100%

Артикул

Название

Примечание

Количество

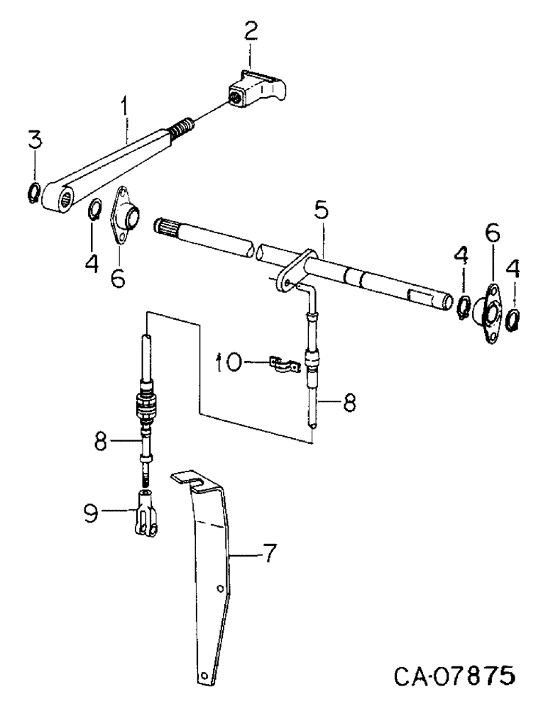
1

1251728C2

HANDLE

parklock actuating

1шт.

2

1253019C2

KNOB

parklock handle

1шт.

18518R1

LOCK PIN,1/8" x 1", Slotted

PIN, 1/8" x 1", Slotted

1шт.

3

384098R1

SNAP RING,#62, Ext

Ring, Snap, #62, Ext

1шт.

4

23090R1

SNAP RING,#75, Ext

Ring, Snap, #75, Ext

1шт.

5

1251724C1

SHAFT

ASSY, parklock crossover

1шт.

6

382508R91

BEARING ASSY,0.752" ID x 0.81"

BUSHING

2шт.

930108R1

BOLT,Hex, M8 x 1.25 x 20mm, Cl 8.8, Full Thd

M8 x 20 pln class 8.8

4шт.

30167R1

NUT,M8, Cl 10

M8 phc class 10

4шт.

934675R1

WASHER,M8 x 16 x 1.6

8.8 x 17 x 1.6 mm

4шт.

7

148612C1

SUPPORT

parklock cable mtg, Bracket

1шт.

930140R1

BOLT,Hex, M10 x 1.5 x 30mm, Cl 8.8, Full Thd

M10 x 30 pln class 8.8

2шт.

8

148614C2

ROD ASSY.

CABLE ASSY, parklock control

1шт.

9

104036

ADJUSTABLE CLEVIS,1/4"-28 x 2"

CLEVIS, 1/4-28 x 2 pln lt adj

1шт.

22731D

SPLIT PIN/SAFETY PIN

PIN, 1/4 x .906 pln clevis

1шт.

21549R1

WASHER

.281 x .750 x .042

1шт.

103362

COTTER PIN,1/16" x 3/4"

Pin, Split (Cotter), 1/16" x 3/4"

1шт.

10

120008C1

CLAMP

control cable, Replaces 144381C1

1шт.

30603R1

HEX SOC SCREW,M4 x 13mm, Cl 12.9

SCREW, M4 x 13 pln class 12.9 h/shd cap

2шт.

933832R1

LOCK WASHER,M4

WASHER, 4 mm lock

2шт.

933763R1

NUT

M4 class 5

2шт.

933346R1

WASHER,M6 x 12 x 1.6

6.4 x 12.5 x 1.6 mm pln

1шт.

932766R1

COTTER PIN,M2 x 12

PIN, 2 x 12 mm pln cot.

1шт.

Выбрано товаров: 23