Запчасти Case IH 7288 (10-04) - HYDRAULICS, HYDRAULIC OIL FILTERS AND CONNECTIONS, SPIN-ON TYPE (07) - HYDRAULICS

Схема запчастей Case IH 7288 - (10-04) - HYDRAULICS, HYDRAULIC OIL FILTERS AND CONNECTIONS, SPIN-ON TYPE (07) - HYDRAULICS
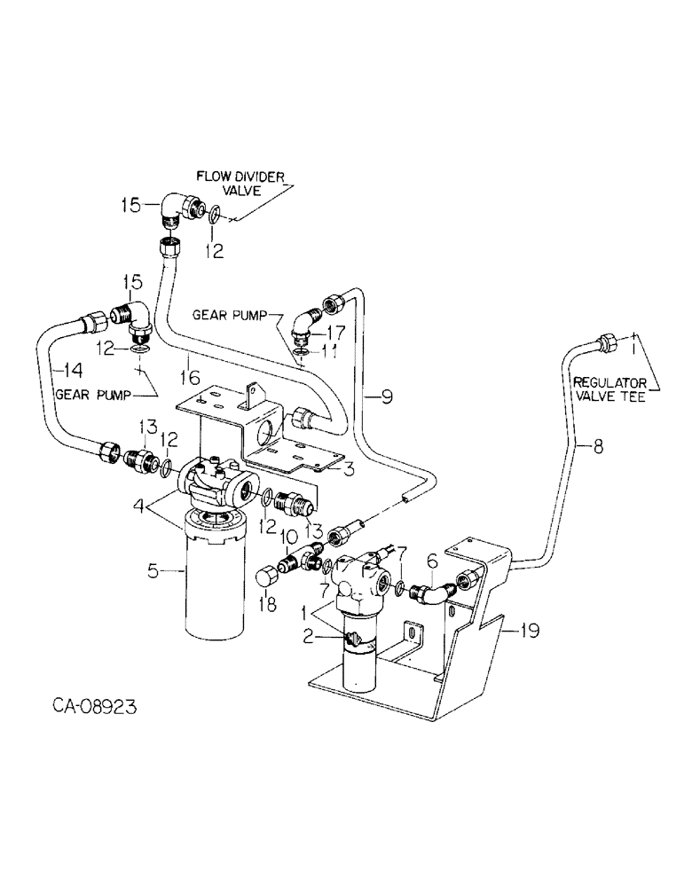
15
14
19
15
16
12
5
9
6
12
17
13
12
7
7
1
13
12
3
4
10
8
18
11
2
FIT
1:1
100%

Артикул

Название

Примечание

Количество

1

1286434C91

FILTER ASSY

FILTER & BASE ASSY W/SENSOR, hydraulic oil, Includes Ref: 2

1шт.

113-206

BOLT,Hex, 3/8" - 16 x 3/4", Gr 5, Full Thd

3/8 x 3/4 type 5

3шт.

120382

LOCK WASHER,Helical Spring, 3/8"

WASHER, LOCK, 3/8"

3шт.

2

83370C1

ELEMENT

spin-on oil filter

1шт.

3

85000C1

BRACKET

SUPPORT ASSY, spin-on oil filters mtg upper

1шт.

4

1282319C91

FILTER

& BASE ASSY, hydraulic oil, Includes Ref: 5

1шт.

113-206

BOLT,Hex, 3/8" - 16 x 3/4", Gr 5, Full Thd

3/8 x 3/4 type 5

3шт.

120382

LOCK WASHER,Helical Spring, 3/8"

WASHER, LOCK, 3/8"

3шт.

5

1282320C1

ELEMENT

spin-on filter

1шт.

6

633460R91

ELBOW,90 Degree, 7/8"-14, 37 Degree x 1 1/16"-12, O-Ring

C-Z hyd fld adj 3/4 to 5/8 90D, filter outlet

1шт.

7

368269R1

O-RING,0.116" Thk x 0.924" ID, -912, Cl 6, 90 Duro

3/4 OD tube clas 6

2шт.

8

85012C1

HYD TUBE,0.625" OD

TUBE ASSY, filter to regulator valve

1шт.

9

1287915C1

TUBE

ASSY, filter to gear pump

1шт.

10

9411120

TEE,1 1/16"-12, 37 Degree x 1 1/16"-12, O-Ring Br

3/4 C-Z hyd fld tube adj

1шт.

11

368269R1

O-RING,0.116" Thk x 0.924" ID, -912, Cl 6, 90 Duro

3/4 OD tube clas 6

1шт.

12

296247R1

O-RING,16-1, 90 Duro, 1.171" ID x .116" Thk

1 OD tube class 6

4шт.

13

9410207

HYD CONNECTOR,1 5/16"-12, 37 Degree x 1 5/16"-12, O-Ring

CONNECTOR, 1 C-Z hyd fld short swivel

2шт.

14

85006C1

TUBE ASSY.,0.625" OD

TUBE ASSY, filter to gear pump

1шт.

15

9410981

ELBOW,90 Degree, 1 5/16"-12, 37 Degree x 1 5/16"-12, O-Ring

1 C-Z hyd fld adj 90D

2шт.

16

1269353C1

TUBE ASSY.

TUBE ASSY, filter to flow divider valve

1шт.

17

9410979

ELBOW,90 Degree, 1 1/16"-12, 37 Degree x 1 1/16"-12, O-Ring

3/4 C-Z hyd fld adj 90D, dual gear pump outlet

1шт.

18

9403374

CAP,37 Degree, 1 1/16"-12

3/4 C-Z hyd flared tube

1шт.

19

85003C1

SUPPORT

ASSY, filter mtg lower

1шт.

30001R1

BOLT,Hex, M8 x 1.25 x 16mm, Cl 10.9, Full Thd

M8 x 16 phc class 10.9

2шт.

Выбрано товаров: 24