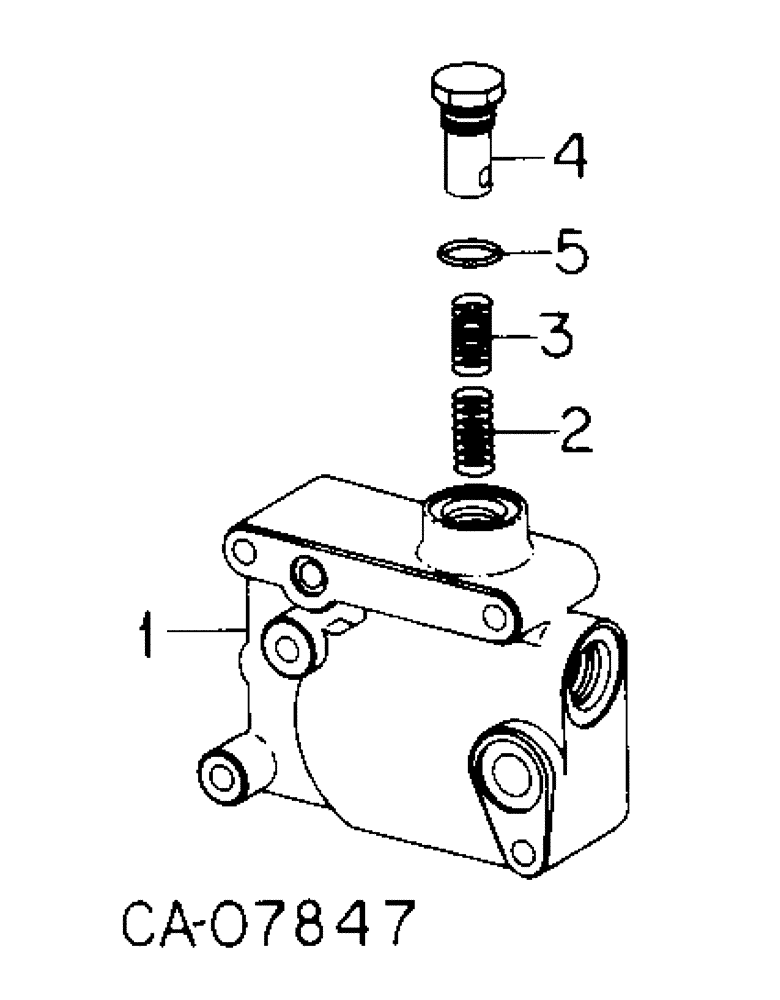
Запчасти Case IH 7288 (10-12) - HYDRAULICS, PRIORITY VALVE (07) - HYDRAULICS

Схема запчастей Case IH 7288 - (10-12) - HYDRAULICS, PRIORITY VALVE (07) - HYDRAULICS
5
3
4
2
1
FIT
1:1
100%

Артикул

Название

Примечание

Количество

142657C92

VALVE

ASSY, priority

1шт.

1

BODY W/SPOOL, priority valve, Order priority valve assy (NSS)

1шт.

2

1252182C1

SPRING

outer

1шт.

3

224351C1

SPRING

inner

1шт.

4

142673C1

PLUG

priority valve

1шт.

5

364885R1

O-RING,0.097" Thk x 0.755" ID, -910, Cl 6, 90 Duro

5/8 OD tube class 6

1шт.

Выбрано товаров: 6