Запчасти Case IH 7288 (10-29) - HYDRAULICS, THIRD AUXILIARY VALVE CONTROLS (07) - HYDRAULICS

Схема запчастей Case IH 7288 - (10-29) - HYDRAULICS, THIRD AUXILIARY VALVE CONTROLS (07) - HYDRAULICS
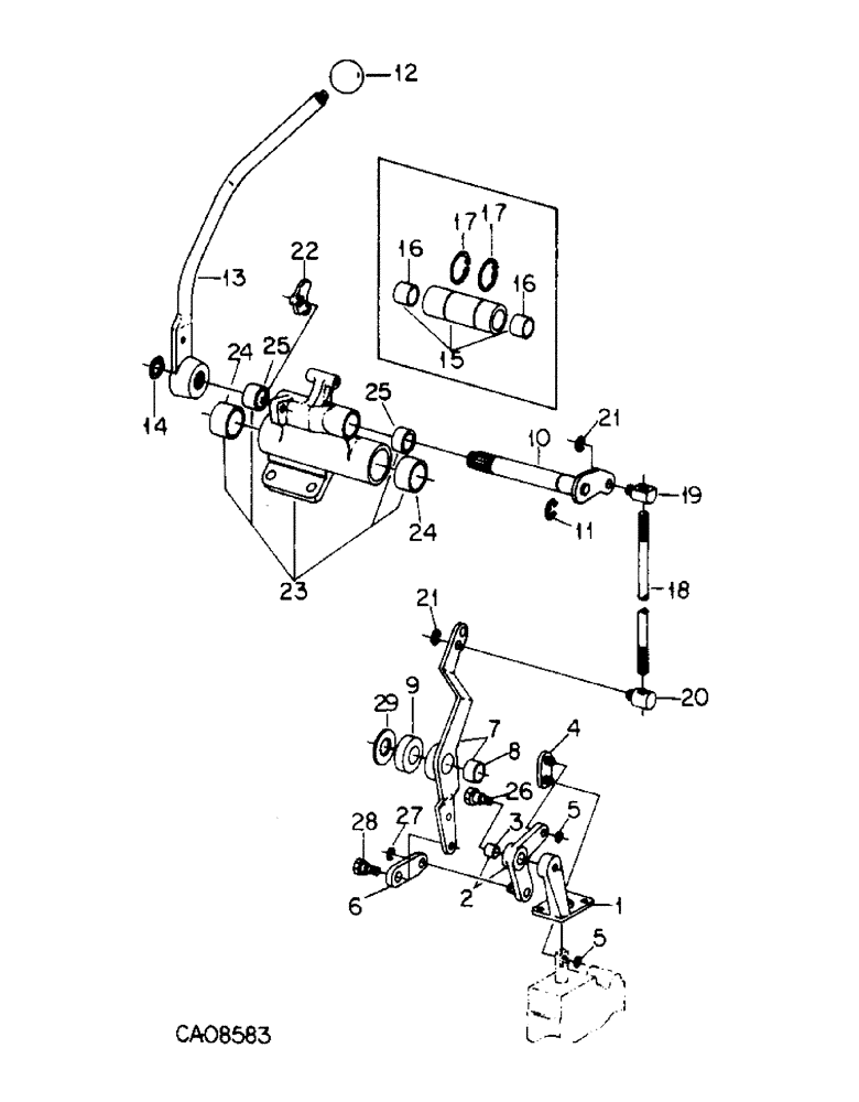
25
15
21
2
16
5
8
17
13
18
7
23
21
5
14
19
16
3
6
22
17
20
1
26
28
12
10
25
11
4
9
24
29
27
24
FIT
1:1
100%

Артикул

Название

Примечание

Количество

1

143978C1

BRACKET

aux valve control

1шт.

931951R1

BOLT,Hex, M6 x 1 x 16mm, Cl 8.8, Full Thd

M6 x 16 pln class 8.8

2шт.

2

143979C92

LEVER

ASSY, aux valve control, Includes Ref: 3

1шт.

3

143982C1

BUSHING

1шт.

4

143984C1

LINK

ASSY, aux valve control

1шт.

5

104977R1

SNAP RING,#X31, .243" Dia, E-Type

RING, RETAINING, #X31, .243" Dia, E-Type

2шт.

6

1251563C2

BAR

aux valve control

1шт.

7

1251559C91

LEVER

ASSY, 3rd aux valve

1шт.

8

120464C1

BUSHING,19.07mm ID x 20.68mm OD x 13.21mm L

1шт.

9

143998C1

SPACER

aux valve handle hub

1шт.

10

1251545C2

SHAFT

ASSY, 3rd aux valve, inner

1шт.

11

603570R1

SNAP RING,#75, .574" Dia, E-Type

Ring, Retaining, #75, .574" Dia, E-Type

1шт.

12

1280098C1

KNOB

3rd valve, blue

1шт.

13

1280019C1

HANDLE

ASSY, 3rd valve, or

1шт.

13

1280080C2

HANDLE

ASSY, 3rd valve

1шт.

14

384098R1

SNAP RING,#62, Ext

Ring, Snap, #62, Ext

1шт.

15

130689C91

SHAFT

ASSY, 3rd aux valve spacer, Not required if support assy ref. 23, 148539C91 is on tractor, Includes Ref: 16

1шт.

16

149101C1

BUSHING

2шт.

17

866189R1

SNAP RING,#125, Ext

Ring, Snap, #125, Ext

2шт.

18

1259534C1

ROD

3rd & 4th aux valve control

1шт.

30168R1

NUT,M10, Cl 10

M10 phc class 10

1шт.

19

1251968C2

PIN

upper control

1шт.

20

1251970C2

PIN

lower control

1шт.

21

896045R1

SNAP RING,#37, Ext

2шт.

22

1259816C1

LEVER

flow lockout

1шт.

23

148539C91

SUPPORT

ASSY W/BUSHINGS, valve lever, three

1шт.

24

149097C1

BUSHING

2шт.

25

149101C1

BUSHING

2шт.

26

143983C1

BOLT,Shldr, Hex, M10 x 1.5 x 28mm, Cl 8.8

shoulder

1шт.

27

110668R1

CIRCLIP,#37, .300" Dia, E-Type

Ring, Retaining, #37, .300" Dia, E-Type

1шт.

28

1280278C1

BOLT,Shldr, Hex, 5/16" - 18 x 1.04", Type 5

BOLT, 5/16-18 x 1.04 shoulder

1шт.

390304C1

WASHER

.344 x .688 x .065 hdn

1шт.

9413952

LOCK NUT,5/16"-18, GB

NUT, 5/16 phc p/t lock type 5

1шт.

29

16066R1

WASHER

.781 x 1.500 x .054 pln

1шт.

Выбрано товаров: 34