Запчасти Case IH 7288 (04-03) - BRAKES, MASTER BRAKE LUBRICATION (5.1) - BRAKES

Схема запчастей Case IH 7288 - (04-03) - BRAKES, MASTER BRAKE LUBRICATION (5.1) - BRAKES
2
7
2
3
5
6
1
1
4
FIT
1:1
100%

Артикул

Название

Примечание

Количество

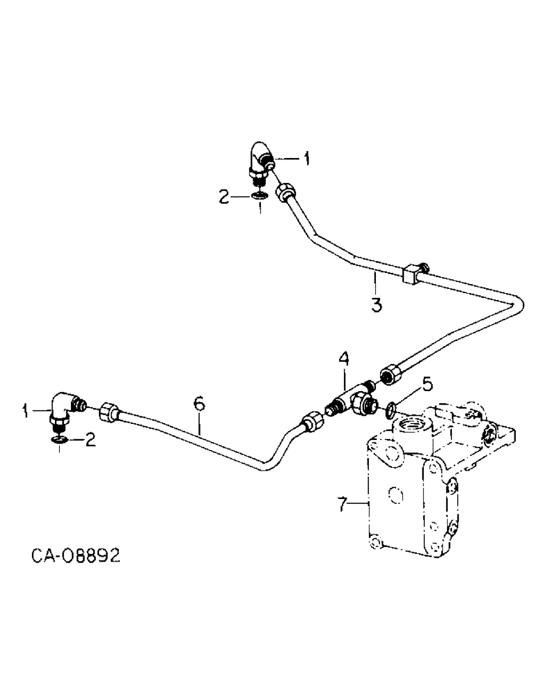
1

9410977

ELBOW,90 Degree, 3/4"-16, 37 Degree x 3/4"-16, O-Ring

1/2 C-Z hyd fld adj 90D

2шт.

2

570828R1

O-RING,0.087" Thk x 0.644" ID, -908, Cl 6, 90 Duro

1/2 OD tube class 6

2шт.

3

1270516C1

HYD TUBE

TUBE ASSY, brake lube LH

1шт.

4

9411118

TEE,3/4"-16, 37 Degree x 3/4"-16, O-Ring Br

1/2 C-Z hyd fld tube adj

1шт.

5

570828R1

O-RING,0.087" Thk x 0.644" ID, -908, Cl 6, 90 Duro

1/2 OD tube class 6

1шт.

6

149046C1

HYD TUBE,0.5" OD, 227.77, 120 mm Length

TUBE ASSY, brake lube RH

1шт.

7

BRACKET, auxiliary valve mounting, See group 10, priority valve & aux valve mounting

1шт.

Выбрано товаров: 7