Запчасти Case IH 7488 (10-47) - HYDRAULICS, DRAFT SENSING (07) - HYDRAULICS

Схема запчастей Case IH 7488 - (10-47) - HYDRAULICS, DRAFT SENSING (07) - HYDRAULICS
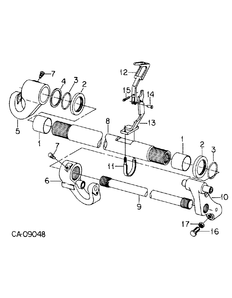
8
1
2
3
11
14
12
1
5
15
7
10
3
6
4
17
13
16
9
2
7
FIT
1:1
100%

Артикул

Название

Примечание

Количество

1

394889R91

BUSHING

ASSY, tosion bar

2шт.

2

392083R1

RETAINER

crank arm o-ring

2шт.

3

142815C1

SEALING RING,2.85" ID x 0.21" Width

2-7/8 x 3/16 quad seal

2шт.

4

142599C1

SHIM

0.054 inch thick

1шт.

4

1266961C1

SHIM

0.027 inch thick

1шт.

5

1272623C1

ARM

LH crank

1шт.

6

1272662C1

ARM, RH crank, 7288

1шт.

6

1276067C1

ARM, RH crank, 7488

1шт.

7

71390C1

BOLT,5/8" - 18 x 1 21/32", Grade 8

crank locating

2шт.

492-11062

BEARING WASHER,5/8"

WASHER, LOCK, 5/8"

2шт.

8

142644C1

SHAFT

ASSY, crank arm

1шт.

9

71385C2

BAR

torsion spring

1шт.

10

142810C1

BRACKET

ASSY, torsion bar anchor, 7288 w/o hitch lift assist cylinders

1шт.

10

145470C2

SUPPORT

BRACKET ASSY, torsion bar anchor, 7288, w/hitch lift assist cylinders

1шт.

30186R1

WASHER,M16 x 34.5 x 5, HT

17.3 x 34 x 5MM phc

2шт.

30859R1

BOLT, M16 x 135MM phc class 10.9

2шт.

10

1267065C1

BRACKET

ASSY, torsion bar anchor, 7488

1шт.

30080R1

BOLT,Hex, M16 x 2 x 150mm, Cl 10.9

M16 x 150 phc class 10.9

1шт.

30075R1

BOLT,Hex, M16 x 2 x 100mm, Cl 10.9

M16 x 100 phc class 10.9

1шт.

30186R1

WASHER,M16 x 34.5 x 5, HT

17.3 x 34 x 5MM phc

2шт.

11

392095R1

BOLT,3/8" - 16 x 3.28" W x 3.60" L

U-BOLT, sensing arm

1шт.

231-1446

NUT,3/8" - 16, Gr 5

NUT LOCK, 3/8"-16, GB

2шт.

12

142640C3

ARM

upper sensing

1шт.

13

142641C1

ARM

ASSY, lower sensing, 7288

1шт.

13

1267013C2

ARM ASSY.

ARM ASSY, lower sensing, 7488

1шт.

14

30569R1

CLEVIS PIN,M8 x 25

PIN, 8 x 25MM phc clevis

1шт.

934788R1

COTTER PIN,M2 x 16

PIN, 2 x 16Mm pln cot

1шт.

15

1286706C1

BOLT,12 Pt, Hex, M8 x 1.25 x 40.50mm, Cl 12.9, Full Thd

prevailing torque hex

1шт.

16

1282293C1

BOLT

adjusting, 7488

1шт.

17

1282292C1

NUT

adj bolt, 7488

1шт.

Выбрано товаров: 0