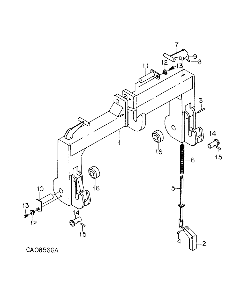
Запчасти Case IH 7488 (09-11) - FRAME, CATEGORY III QUICK COUPLER (12) - FRAME

Схема запчастей Case IH 7488 - (09-11) - FRAME, CATEGORY III QUICK COUPLER (12) - FRAME
10
7
3
13
12
9
2
4
16
8
15
16
6
1
15
14
13
11
12
5
14
FIT
1:1
100%

Артикул

Название

Примечание

Количество

1272228C91

COUPLING

COUPLER ASSY, category III quick

1шт.

1

FRAME ASSY, main, Order coupler assy 1272228C91

1шт.

2

1266792C1

LUG

lock, latch

2шт.

3

19998R1

PIN,1/2" x 2 1/2", Coiled

2шт.

4

19790R1

PIN,5/16" x 1 1/4", Coiled

2шт.

5

1266790C1

BAR

spring

2шт.

6

64717C1

SPRING

latch

2шт.

7

64715C1

HANDLE

latch

2шт.

8

39374D

CLEVIS PIN,5/16" x 1 1/16"

PIN, 5/16 x 1.062 pln clevis

2шт.

9

103384

COTTER PIN,1/8" x 3/4"

Pin, Split (Cotter), 1/8" x 3/4"

2шт.

10

1272230C1

PIN ASSY.

PIN, lower link

2шт.

11

1272229C1

PIN ASSY.

PIN, upper link

1шт.

12

1272231C1

BUSHING

pin retainer

3шт.

13

26321R1

BOLT,Hex, 5/8" - 11 x 1 1/4", Gr 8

5/8 x 1-1/4 phc p/t type 8

3шт.

14

401232R1

ADAPTER

IMPLEMENT LOWER HITCH PIN

2шт.

15

21926R1

PIN,7/16" x 1 3/8", Coiled

2шт.

16

401233R1

COLLAR

BUSHING, implement lower hitch pin

2шт.

19998R1

PIN,1/2" x 2 1/2", Coiled

2шт.

Выбрано товаров: 18