Запчасти Case IH 7488 (11-01) - INSTRUMENTS, INSTRUMENT PANEL AND GAGES Instruments

Схема запчастей Case IH 7488 - (11-01) - INSTRUMENTS, INSTRUMENT PANEL AND GAGES Instruments
5
7
12
11
6
15
14
1
17
9
10
8
4
3
16
2
13
FIT
1:1
100%

Артикул

Название

Примечание

Количество

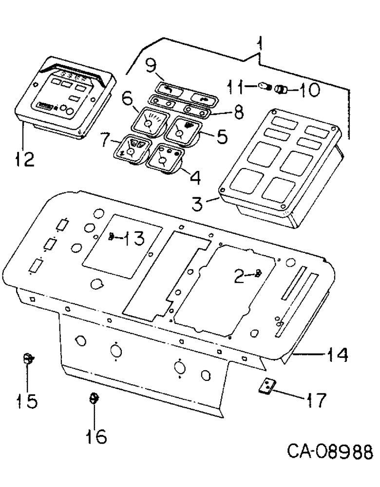
1

1252533C91

CLUSTER

CLUSTER ASSY, instrument, Includes Ref: 3-11

1шт.

2

103957C1

NUT

NUT, J-shape spring

4шт.

3

121608C1

GASKET

BEZEL AND GASKET ASSY

1шт.

SERVICE PARTS FOR REF 19

1шт.

1270773C1

SELF-TAP SCREW,Cross Oval Hd, #10 - 16 x 1"

SCREW, 10-16 x 1 tap w/polyseal finish

4шт.

3

121608C1

GASKET

BEZEL AND GASKET ASSY

1шт.

4

121604C1

ELECTRICAL GAUGE

GAUGE, fuel, receiver

1шт.

5

121605C1

GAUGE

GAUGE, temperature, receiver

1шт.

6

121606C1

ELECTRICAL GAUGE

GAUGE, oill pressure, receiver

1шт.

7

121607C1

METER

VOLTMETER

1шт.

8

1252610C1

LENS

LENS, warning lights

1шт.

9

121610C1

LENS

LENS, turn signal

1шт.

10

121611C1

SOCKET

SOCKET ASSY, instrument cluster

8шт.

11

20627R1

BULB,C2F, #194, 14V

BULB, lamp no. 194

8шт.

1252486C2

ELECTRICAL GAUGE

ELECTRICAL GAUGE, new

1шт.

12

1252488C1

REMAN-ELECT GAUGE

GAUGE, digital data center, renewed

1шт.

1935041C1

CORE-MONITOR

Return Number, ELECTRICAL GAUGE - for N.A. Only

1шт.

13

103957C1

NUT

NUT, J-shape spring

2шт.

1270773C1

SELF-TAP SCREW,Cross Oval Hd, #10 - 16 x 1"

SCREW, 10-16 x 1 tap w/polyseal finish

2шт.

14

148525C1

PANEL

PANEL ASSY, instrument

1шт.

15

104035C1

FASTENER

FASTENER, upper inst hsg spacer, nut

1шт.

16

104036C1

NUT

NUT, instrument housing mtg

10шт.

17

1270685C1

BAR

BAR, throttle stop

1шт.

1270705C1

PREV TORQUE BOLT,Cross Rec Pan Hd, M4 x 10mm

SCREW, throttle stop bar

2шт.

Выбрано товаров: 24