Запчасти Case IH 7488 (07-03) - DRIVE TRAIN, CLUTCH CONTROLS (04) - Drive Train

Схема запчастей Case IH 7488 - (07-03) - DRIVE TRAIN, CLUTCH CONTROLS (04) - Drive Train
12
14
7
10
3
8
7
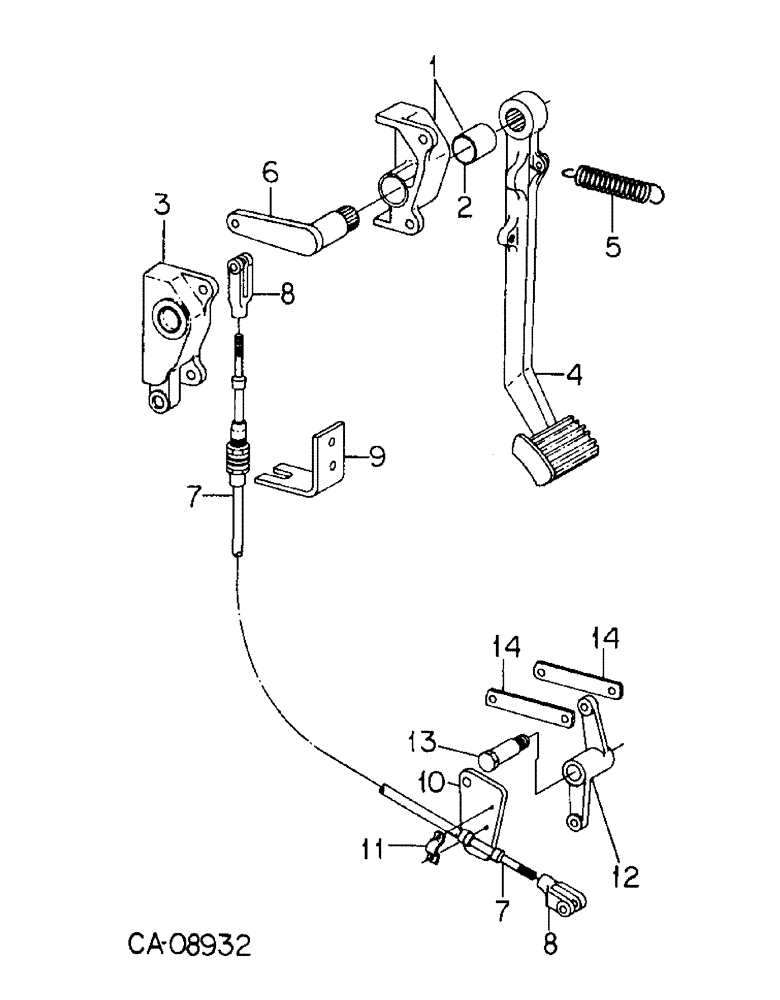
1
9
4
6
8
14
11
13
2
5
FIT
1:1
100%

Артикул

Название

Примечание

Количество

1

120174C91

SUPPORT

ASSY, pedal pivot w/bushing

1шт.

2

120173C1

BUSHING,30.28mm ID x 32.56mm OD x 47.37mm L

1шт.

3

104516C1

SUPPORT

ASSY, pivot w/plug

1шт.

378084R1

PLUG, 1.012 OD cup

1шт.

179841

BOLT,Hex, 3/8" - 16 x 1 1/4", Gr 5

3/8-16 x 1-1/4 pln type 5

2шт.

102635

NUT,3/8"-16, G5

2шт.

113-206

BOLT,Hex, 3/8" - 16 x 3/4", Gr 5, Full Thd

3/8 x 3/4 type 5

4шт.

4

104039C2

PEDAL

1шт.

24497R1

WASHER

.344 x 1.250 x .105 znd

1шт.

179816

BOLT,Hex, 5/16" - 18 x 3/4", Gr 5

1шт.

5

104783C1

SPRING

pedal return

1шт.

6

1270917C1

ARM

ASSY, pedal, lever

1шт.

7

144189C1

CABLE

ASSY

1шт.

8

144190C1

YOKE

clutch control calbe (Clevis)

2шт.

865197R1

CLEVIS PIN,3/8" x 1.218"

PIN, 3/8 x 1.218 phc clevis

2шт.

103373

COTTER PIN,3/32" x 3/4"

Pin, Split (Cotter), 3/32" x 3/4"

2шт.

95-11041

WASHER,3/8"

(.406 x .812 x .051 pln) 3/8"

2шт.

9

1270919C1

BUSHING

ANGLE, clutch control cable, upper (Sup)

1шт.

931143R1

BOLT,Hex, M10 x 1.5 x 20mm, Cl 8.8, Full Thd

M10 x 20 pln class 8.8

2шт.

10

144192C1

SUPPORT

clutch control cable

1шт.

30578R1

BOLT,Hex, M10 x 1.5 x 85mm, Cl 8.8

M10 x 85 pln class 8.8

2шт.

11

120008C1

CLAMP

clutch control cable

1шт.

30898R1

HEX SOC SCREW,M4 x 10mm, Cl 12.9

SCREW, M4 x 10 pln class 12.9 h/shd cap

2шт.

933832R1

LOCK WASHER,M4

WASHER, 4MM lock

2шт.

12

148516C1

LEVER

ASSY, clutch pedal rod

1шт.

13

144195C1

BOLT,Pivot, Hex, M16 x 2 x 81mm

clutch bellcrank pivot

1шт.

14

144194C2

BAR

clutch bellcrank to valve (Link)

2шт.

865197R1

CLEVIS PIN,3/8" x 1.218"

PIN, 3/8 x 1.218 phc clevis

2шт.

103373

COTTER PIN,3/32" x 3/4"

Pin, Split (Cotter), 3/32" x 3/4"

2шт.

95-11041

WASHER,3/8"

(.406 x .812 x .051 pln) 3/8"

4шт.

Выбрано товаров: 0