Запчасти Case IH 766 (13-40) - SUPERSTRUCTURE, HEATER AND CONNECTIONS, DELUXE CAB, 766 GASOLINE TRACTORS (05) - SUPERSTRUCTURE

Схема запчастей Case IH 766 - (13-40) - SUPERSTRUCTURE, HEATER AND CONNECTIONS, DELUXE CAB, 766 GASOLINE TRACTORS (05) - SUPERSTRUCTURE
20
4
19
14
6
4
10
9
4
13
3
12
2
5
7
4
16
8
17
5
4
4
15
1
4
4
4
18
4
11
FIT
1:1
100%

Артикул

Название

Примечание

Количество

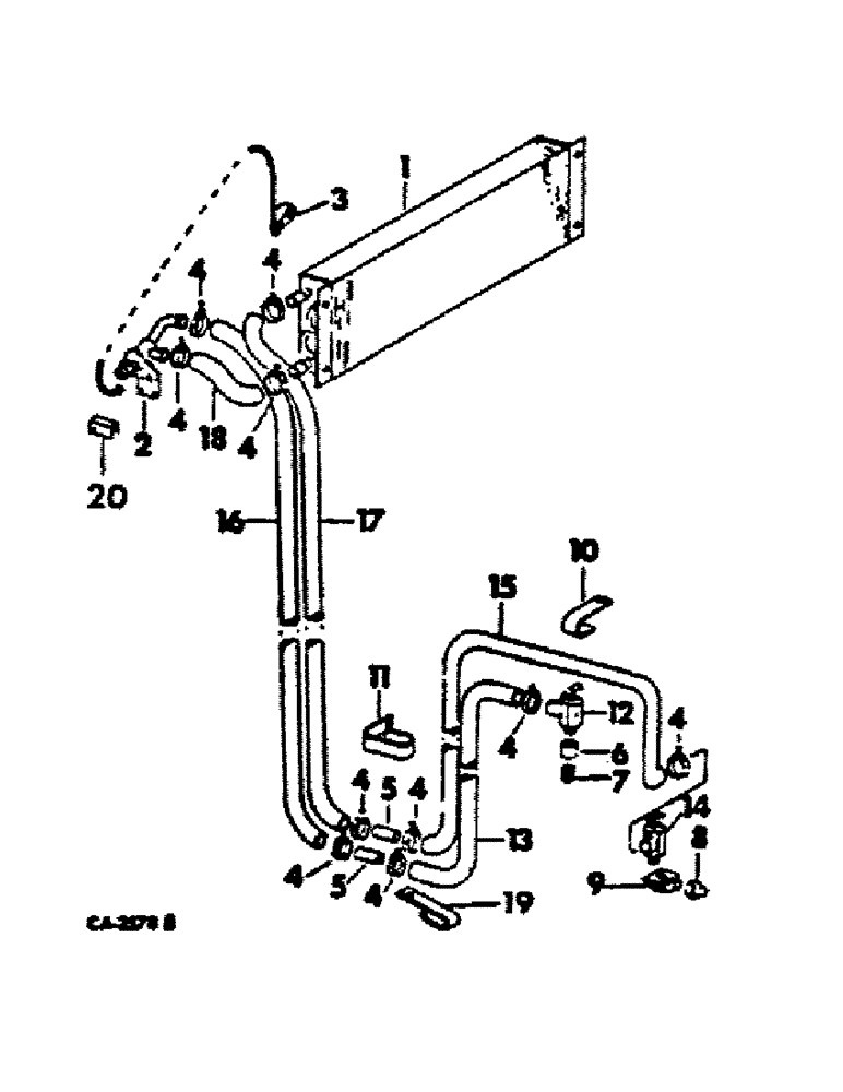
1

539056R2

NO LONGER SERVICED

CORE, heater

1шт.

2

539057R1

VALVE

heater control

1шт.

3

539058R1

CABLE

heater valve control

1шт.

539808R1

KNOB

heater control

1шт.

446887

SET SCREW,Hex Soc, #8-32 x 1/8"

10-32 x 1/8 soc-cup point set

1шт.

4

39093H

HOSE CLAMP

CLAMP, heater hose connector

10шт.

5

80438R1

SPACER,3/8" Pipe x 3"

SPLICER, heater hose connector, 3/8 x 3 std pipe

2шт.

6

120755

COUPLING,3/8" NPT

3/8 znp pipe

1шт.

7

191296

PIPE,Nipple, 3/8" NPT x 4 1/2"

NIPPLE, 3/8 x 4-1/2 pipe

1шт.

8

221-89

REDUCER,Hex, 1/2" x 3/8" NPT

BUSHING, 1/2 x 3/8 reducing pipe

1шт.

9

444056

ELBOW

3/8-18 45 deg auto. pipe

1шт.

10

543671R1

CLIP, single heater hose

1шт.

11

537064R1

CLIP, 90 deg double heater hose

1шт.

12

301803R91

VALVE

ASSY, heater inlet shut-off

1шт.

13

HOSE, heater inlet, use 44 in. of 5/8 ID heater hose from a 50 ft roll marked 117724C1

1шт.

14

941980R91

LOCK VALVE

VALVE ASSY, heater outlet shut-off

1шт.

15

HOSE, heater outlet, use 68 in. of 5/8 ID heater hose from a 50 ft roll marked, 117724C1

1шт.

16

HOSE, hot water inlet, use 88 in. of 5/8 ID heater hose from a 50 ft roll marked, 117724C1

1шт.

17

HOSE, cold water return, use 84 in. of 5/8 ID heater hose from a 50 ft roll marked, 117724C1

1шт.

18

HOSE, valve to heater inlet, use 12 in. of 5/8 ID heater hose from a 50 ft roll marked, 117724C1

1шт.

19

391179R3

CLIP, straight double heater hose

1шт.

20

539807R1

BRACKET ASSY, heater valve mtg

1шт.

Выбрано товаров: 22