Запчасти Case IH 766 (12-07) - POWER, FUEL TANK, SUPPORTS AND PIPINGS, 766 GASOLINE TRACTORS Power

Схема запчастей Case IH 766 - (12-07) - POWER, FUEL TANK, SUPPORTS AND PIPINGS, 766 GASOLINE TRACTORS Power
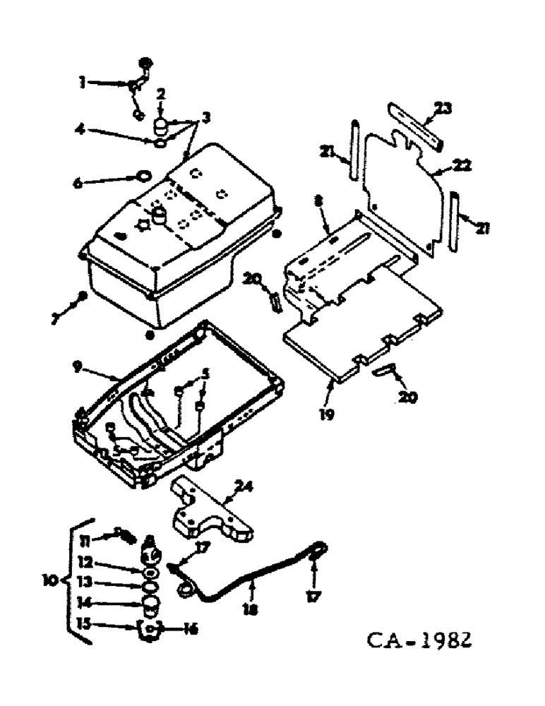
11
17
18
9
22
24
17
1
19
13
8
20
2
21
20
7
4
14
6
3
15
16
12
10
23
5
21
FIT
1:1
100%

Артикул

Название

Примечание

Количество

1

378427R93

GAUGE

SENDING UNIT, electric fuel gage

1шт.

1310675C1

CAPTIVE WASHER SCREW,Sl Truss Hd, #10 - 24 x 0.75"

SCREW, LOCK, , Sending unit mounting Sltd Truss Hd, #10-24 x 3/4", w/nylon LW

5шт.

2

361910R91

PLUG

CAP W/GASKET, fuel tank filler

1шт.

213516

RIVET

7/8 x 1/8 C-Z ov-hd tubular

2шт.

3

406424R92

TANK

ASSY, fuel w/filler cap

1шт.

179844

BOLT,Hex, 3/8" - 16 x 1 5/8", Gr 5

SCREW, 3/8-16 x 1-5/8 hex-hd cap

4шт.

231-1446

NUT,3/8" - 16, Gr 5

NUT LOCK, 3/8"-16, GB

4шт.

95-11041

WASHER,3/8"

(13/32 x 13/16 x .065) 3/8"

4шт.

4

23977DB

GASKET

fuel tank filler cap

1шт.

5

536630R1

BUSHING

fuel tank support isomount

4шт.

179893

BOLT,Hex, 1/2" - 13 x 3", Gr 5

SCREW, 1/2-13 x 3 hex-hd cap

4шт.

540468R1

WASHER,13.49mm ID x 38.1mm OD x 3.05mm Thk

17/32 x 1-1/2 x 11 ga

4шт.

6

369154R1

GASKET

sending unit

1шт.

7

60671DA

WASHER,11.94mm ID x 30.48mm OD x 8.13mm Thk

PAD, fuel tank insulating

4шт.

PO10532

WASHER

SPACER, 13/32 x 1-1/4 x 11 ga

12шт.

8

531290R1

SHIELD ASSY, lower heat

1шт.

179812

GEAR

SCREW, 5/16-18 x 1/2 hex-hd cap

2шт.

256873

BOLT,Hex Serr, 5/16" - 18 x 1/2", 5SPL, Full Thd

3шт.

9

536628R91

SUPPORT ASSY, fuel tank

1шт.

179837

BOLT,Hex, 3/8" - 16 x 3/4", Gr 5

2шт.

389117R91

NUT

5/16-18 floating cage

2шт.

10

370832R91

STRAINER ASSY.

STRAINER W/NUT, 19985R1, fuel

1шт.

10

370832R91GV

FUEL FILTER

Value, Fuel Strainer

1шт.

11

259403R91

COCK

STEM ASSY, strainer

1шт.

12

13194D

STRAINER ASSY.

SCREEN ASSY, strainer

1шт.

13

355888R2

GASKET

strainer

1шт.

14

357957R1

BOWL

strainer, glass

1шт.

15

17564D

HOLDER

BAIL ASSY, strainer

1шт.

16

50061D

NUT

strainer

1шт.

17

19985R1

TUBE NUT,1/2"-20

NUT, nylon insert tube

2шт.

18

534167R11

PIPE ASSY, fuel strainer to carburetor inlet

1шт.

222-1003

TUBE NUT,5/16" Tube, 45 Degree Inv Fl

NUT, 1/2-20 inverted flared tube, carburetor end

1шт.

19

536299R1

INSULATOR

INSULATION, fuel tank

1шт.

20

535683R1

SEAL, lower heat shield

2шт.

21

536503R1

SEAL

LH & RH side

2шт.

22

533563R1

SHIELD ASSY, upper heat

1шт.

256873

BOLT,Hex Serr, 5/16" - 18 x 1/2", 5SPL, Full Thd

2шт.

23

SEAL, heat shield upper, use 15 in. of seal, 536503R1

1шт.

24

535349R2

SPACER, fuel tank support

1шт.

Выбрано товаров: 39