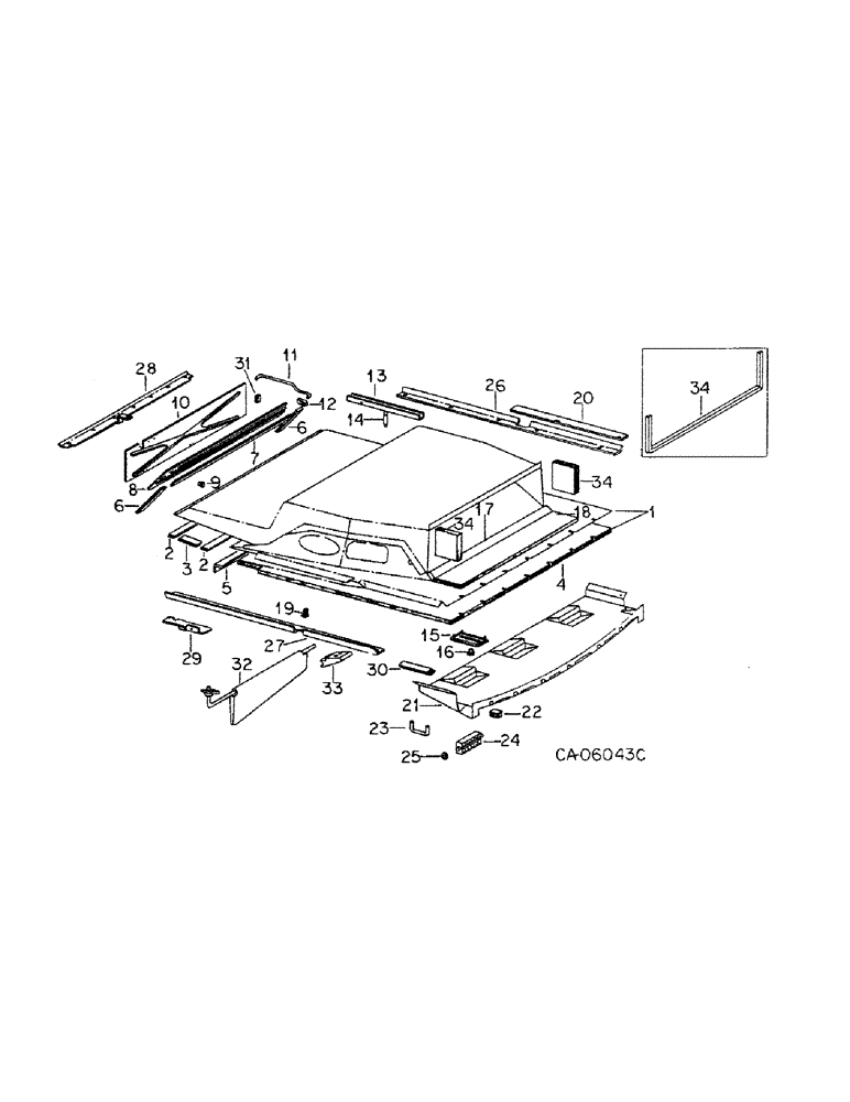
Запчасти Case IH 886 (13-26) - SUPERSTRUCTURE, HEADLINER, CABS WITH SERIAL NO. 30086 AND ABOVE (05) - SUPERSTRUCTURE

Схема запчастей Case IH 886 - (13-26) - SUPERSTRUCTURE, HEADLINER, CABS WITH SERIAL NO. 30086 AND ABOVE (05) - SUPERSTRUCTURE
33
4
3
5
20
18
24
15
13
22
2
34
34
32
10
21
14
8
27
17
6
7
1
2
11
19
12
23
29
34
28
31
16
25
26
6
30
9
FIT
1:1
100%

Артикул

Название

Примечание

Количество

1

118184C94

DUCT

ASSY, headliner, consists of ref nos. 2, 3, 4, 5, 6, 7, 10, 11, 12, 13, 14, 15, 16 & 31

1шт.

1

143151C93

DUCT

ASSY, headliner radio, consists of ref nos. 2, 3, 4, 5, 6, 7, 10, 11, 12, 13, 14, 15, 16 & 31, deluxe cabs

1шт.

Cabs w/serial no. 107806 & below

1шт.

160568

SCREW,Cross Pan Hd, 1/4" - 20 x 1 1/4"

1/4 x 1-1/4 PHC p/hdcr mach

6шт.

118151C1

CLIP

u-shaped spring

16шт.

2

118144C1

SEAL

intake rear long

2шт.

3

118145C1

SEAL

intake rear short

2шт.

4

117632C4

SHEET

rear headliner foam, used w/118184C93

1шт.

4

1262101C1

SHEET

rear headliner foam, panel, used w/143151C93

1шт.

5

111666C1

BRACKET

door support

1шт.

1250628C2

SPACER

spacer

6шт.

26614R1

SCREW,Cross Pan Hd, 1/4" x 1 1/4"

1/4 x 1-1/4 PHC p/hdcr tap

4шт.

28482R1

SCREW, 1/4 x 1-3/8 PHC p/hdcr tap

2шт.

6

111668C1

SEAL

recirculation door short, (or as required)

2шт.

7

111669C1

SEAL

recirculation door long (or as required)

2шт.

8

109282C1

GRILLE

recirculation

1шт.

9

111296C1

BUTTON

KNOB, grille retainer

6шт.

10

117621C1

DOOR

ASSY, recirculation

1шт.

11

111670C2

ROD

recirculation control

1шт.

12

428497C1

REINFORCEMENT

rod end (or as required)

2шт.

13

117610C1

CHANNEL

ASSY, slide

1шт.

14

111675C1

STUD

control

1шт.

15

118183C1

PANEL

recirculation control trim

1шт.

27749R1

SCREW

no. 8-18 x 2-3/4 PHC o/hdcr tap

4шт.

16

111683C1

KNOB

air control

1шт.

160568

SCREW,Cross Pan Hd, 1/4" - 20 x 1 1/4"

1/4 x 1-1/4 PHC o/hdcr mach

4шт.

111685C1

NUT

spacer

4шт.

17

118152C1

SEAL

SEAL, duct front lower a/c

1шт.

Cabs w/serial no. 107806 & below

1шт.

143382C1

CLIP

u-shaped spring

8шт.

18

118172C1

SEAL

SEAL, duct front lower heater

1шт.

Cabs w/serial no. 107806 & below

1шт.

118151C1

CLIP

u-shaped spring

10шт.

19

489348C1

RETAINER

rear headliner assy, replaces 117718C2

2шт.

20

118155C2

STRIP

headliner

2шт.

24392R1

HARDWARE,Cross Pan Hd, #10 x 1/2"

SCREW, no. 10-16 x 1/2 PHC p/hdcr tap

4шт.

21

118194C2

PANEL

front headliner

1шт.

118520C2

SCREW

shoulder tap

7шт.

28439R1

WASHER, .266 x .50 x .036 PHC

7шт.

Cabs with serial no. 103500 and above.

1шт.

26625R1

SELF-TAP SCREW,Cross Pan Hd, 1/4" x 1 1/4"

SCREW, 1/4-14 x 1-1/4 PHC p/hdcr tap

6шт.

118773

WASHER,0.28" ID x 0.62" OD x 0.07" Thk

.281 x .625 x .051 PHC

6шт.

22

118207C1

SEALING STRIP

SEAL, front headliner

2шт.

23

117756C1

SEAL, front headliner corner

2шт.

24

109227C1

VENT

ASSY, air discharge

3шт.

25

117611C2

SPACER

friction

9шт.

26

109505C1

RETAINER

headliner side LH

1шт.

Cabs w/serial no. 107806 & below

1шт.

26

118539C1

RETAINER

headliner side LH

1шт.

Cabs w/serial no. 107807 & above

1шт.

For deluxe cab

1шт.

27679R1

SELF-TAP SCREW

1/4-14 x 1-1/4 PHC o/hdcr tap

5шт.

27

109506C1

RETAINER

headliner side RH

1шт.

Cabs w/serial no. 107806 & below

1шт.

27

118540C1

RETAINER

headliner side RH

1шт.

Cabs w/serial no. 107807 & above

1шт.

For deluxe cab

1шт.

27679R1

SELF-TAP SCREW

1/4-14 x 1-1/4 PHC o/hdcr tap

5шт.

28

118299C1

SUPPORT

ASSY, headliner rear, replaces 109460C1

1шт.

24392R1

HARDWARE,Cross Pan Hd, #10 x 1/2"

SCREW, no. 10-16 x 1/2 PHC o/hdcr tap

7шт.

29

109507C1

SUPPORT

headliner corner LH

1шт.

29

109508C1

SUPPORT

headliner corner RH

1шт.

27679R1

SELF-TAP SCREW

1/4-14 x 1-1/4 PHC o/hdcr tap

2шт.

30

118206C1

SEALING STRIP

SEAL, front headliner

1шт.

31

118345C1

BUMPER

recirculation door

1шт.

32

118543C1

VISOR, SUN

VISOR ASSY, sun

2шт.

For deluxe cab

1шт.

27114R1

SCREW

no. 10 x 1/2 PHC o/hdcr mach

8шт.

33

118537C1

RETAINER

visor arm

1шт.

For deluxe cab

1шт.

159911

SPACER

SCREW, no. 10 x 3/8 PHC o/hdcr mach

2шт.

118542C1

NUT

10-24 twin spring

1шт.

34

118150C1

SEAL

duct front side w/air

2шт.

Cabs w/serial no. 107806 & below

1шт.

34

118173C1

SEAL

SEAL, duct front side w/o air

2шт.

Cabs w/serial no. 107806 & below

1шт.

34

1250479C2

SEAL

duct front seal

1шт.

Cabs w/serial no. 107807 & above

1шт.

143382C1

CLIP

u-shaped spring

1шт.

118171C1

PACKAGE

KIT, fastener 2.0

1шт.

117995C1

PACKAGE

KIT, trim panel fastener

1шт.

Выбрано товаров: 81