Запчасти Case IH 886 (06-01) - COOLING, OIL COOLER Cooling

Схема запчастей Case IH 886 - (06-01) - COOLING, OIL COOLER Cooling
6
19
11
7
15
4
11
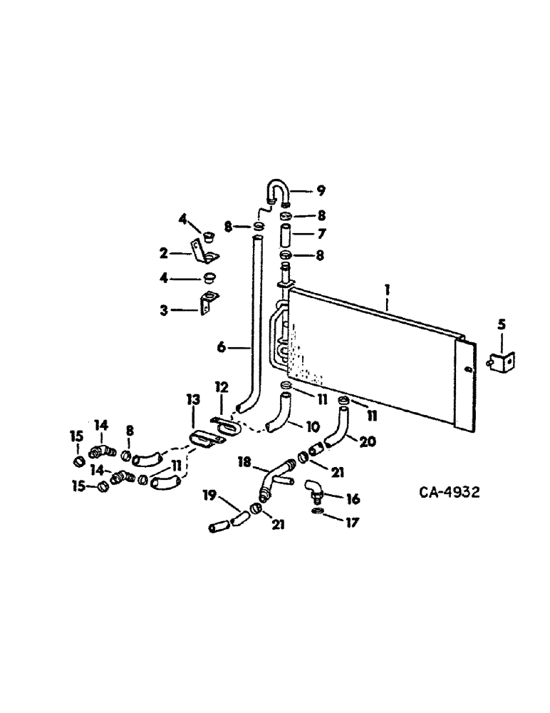
1
8
17
15
8
4
21
8
18
11
2
12
14
14
13
21
3
20
8
5
16
10
9
FIT
1:1
100%

Артикул

Название

Примечание

Количество

1

120300C1

COOLER

COOLER ASSY, oil, 786, 886, 986 and 1086 tractors

1шт.

1

68437C1

COOLER

COOLER ASSY, oil, 1486 tractors

1шт.

1

104238C1

COOLER ASSY.

COOLER ASSY, oil, 886, 986 and 1086 tractors w/air conditioned cab

1шт.

1

104740C1

COOLER ASSY.

COOLER ASSY, oil, 1486 w/air conditioned cab

1шт.

2

533235R2

HINGE

HINGE, upper mtg

1шт.

2

104742C1

HINGE

HINGE, oil cooler, tractor w/air conditioned cab

1шт.

3

533236R2

SUPPORT

BRACKET ASSY, oil cooler mtg

1шт.

179838

BOLT,Hex, 3/8" - 16 x 7/8", Gr 5, Full Thd

BOLT, 3/8-16 x 7/8 hex-hd cap

2шт.

4

387327R1

BUSHING

BUSHING, oil cooler pivot

2шт.

5

533241R2

BRACKET

BRACKET ASSY, oil cooler latch

1шт.

179837

BOLT,Hex, 3/8" - 16 x 3/4", Gr 5

BOLT, Hex, 3/8"-16 x 3/4", G5, Full Thd

1шт.

95-11034

WASHER,1/4"

WASHER, 11/32 x 11/16 x .051

1шт.

129-419

WING NUT,5/16"-18

NUT, 5/16-18 wing

1шт.

5

104743C1

SUPPORT

BRACKET ASSY, cooler latch LH, tractor w/air conditioned cab

1шт.

5

104744C1

SUPPORT

BRACKET ASSY, cooler latch RH, tractor w/air conditioned cab

1шт.

179816

BOLT,Hex, 5/16" - 18 x 3/4", Gr 5

BOLT, Hex, 5/16"-18 x 3/4", G5, Full Thd

2шт.

140741

NUT,1/4"-20

NUT, 1/4-20 wing

2шт.

120392

WASHER,1/4", SAE

WASHER, .281 x .625 x .065

5шт.

104745C2

ROD

LINK, cooler retaining

2шт.

6

HOSE, oil cooler inlet, furnish 98.0 in. from bulk roll marked 146785C1

1шт.

130147C1

SPARE PART CLAMP, oil cooler inlet hose, 786 tractor, 886 tractors w/d-358 engine

1шт.

180122

BOLT,Hex, 3/8" - 16 x 1", Gr 5

BOLT, 3/8 x 1 type 5

1шт.

120377

NUT,3/8" - 16, Gr 5

NUT, 3/8"-16, G5

1шт.

120382

LOCK WASHER,Helical Spring, 3/8"

WASHER, LOCK, 3/8"

1шт.

7

HOSE, oil cooler inlet pipe, furnish 2-1/2 in. from bulk roll marked 146785C1

1шт.

8

28085R1

HOSE CLAMP,#08, 0.50/0.91 Type F Worm

CLAMP, oil cooler hose

4шт.

9

71462C1

SPARE PART TUBE, oil cooler front upper 1.5" OD

1шт.

10

HOSE, oil cooler outlet, furnish 90.0 in. from bulk roll marked 146785C1

1шт.

11

28085R1

HOSE CLAMP,#08, 0.50/0.91 Type F Worm

CLAMP, hose

2шт.

12

104773C3

CLAMP

CLIP, oil cooler hose, frt channel

1шт.

615031R1

WASHER

WASHER, 3/8 x 7/8 x .081

2шт.

179818

BOLT,Hex, 5/16" - 18 x 1", Gr 5

BOLT, Hex, 5/16"-18 x 1", G5, Full Thd

1шт.

9635082

NUT,5/16" - 18, Gr 5

NUT, 5/16"-18, G5

1шт.

13

104773C3

CLAMP

CLIP, oil cooler hose, clutch

1шт.

271554

GREASE,Hex, 5/8" - 11 x 1", Gr 5

SCREW, 5/8-11 x 1 hex-hd cap

1шт.

496-21066

WASHER,16.6mm ID x 33.5mm OD x 3.8mm Thk

WASHER, .656 x 1.312 x .074 pin

1шт.

14

104776C3

ELBOW

ELBOW

2шт.

15

570828R1

O-RING,0.087" Thk x 0.644" ID, -908, Cl 6, 90 Duro

O-RING, 41/64 x 13/16 x 3/32

2шт.

16

9411104

ELBOW,45 Degree, 9/16"-18, 37 Degree x 9/16"-18, O-Ring

ELBOW, 9/16-18 37 deg hyd flared tube 45 deg, tractor w/tricycle front upper bolster

1шт.

17

364839R1

O-RING,0.078" Thk x 0.468" ID, -906, Cl 6, 90 Duro

O-RING, 6-1, 90 Duro, .468" ID x .078" Thk, 3/8 OD tube, tractor w/tricycle front upper bolster

1шт.

18

120482C1

TUBE,1" Length

TUBE ASSY, steering relief, tractor w/tricycle front upper bolster

1шт.

19

HOSE, oil cooler outlet lower, tractor w/tricycle front upper bolster, furnish 77.0 in. from bulk roll marked 146785C1

1шт.

20

HOSE, oil cooler outlet upper, tractor w/tricycle front upper bolster, furnish 16.0 in. from bulk roll marked 146785C1

1шт.

21

274085R91

HOSE CLAMP,#10, 0.56/1.06 Type F Worm

CLAMP, oil cooler hose, tractor w/tricycle front upper bolster

2шт.

306132C1

CABLE TIE,14.5" L

CABLE STRAP STRAP, hose lock, tractor w/tricycle front upper bolster

1шт.

Выбрано товаров: 45