Запчасти Case IH 886 (05-02) - STEERING, STEERING COLUMN AND WHEEL (04) - STEERING

Схема запчастей Case IH 886 - (05-02) - STEERING, STEERING COLUMN AND WHEEL (04) - STEERING
7
10
1
9
2
2
6
11
8
12
11
3
4
5
FIT
1:1
100%

Артикул

Название

Примечание

Количество

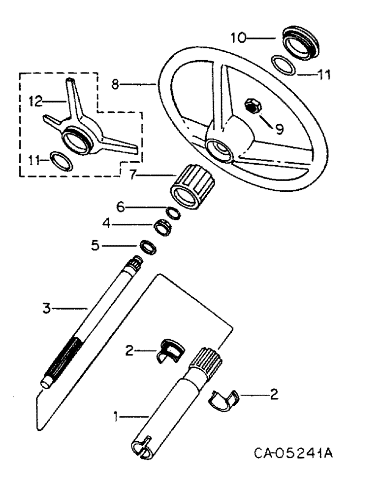
1

103984C2

TUBE,1.625" OD, 10" Length

telescoping steering wheel

1шт.

2

103985C1

BUSHING,35.05mm ID x 50.9mm OD x 38.1mm L

steering column half

2шт.

3

103986C1

SHAFT

telescoping steering wheel

1шт.

4

120088C1

BUSHING,22.35mm ID x 31.75mm OD x 17.78mm L

telescoping steering shaft, wedge

1шт.

5

103988C1

WASHER

steering shaft wedge stop

1шт.

6

253070R1

O-RING,0.139" Thk x 0.859" ID, -212, Cl 5, 75 Duro

.859 x 1.137 x 1/8

1шт.

7

103989C1

COLLAR

telescoping steering shaft locking

1шт.

8

385156R1

WHEEL (STEERING)

WHEEL, 16 in. dia. steering

1шт.

8

385156R1GV

STEERING WHEEL

Value, Steering Wheel

1шт.

9

F19646

LOCK NUT,13/16"-20, Thin

NUT, 13/16-20 hex.

1шт.

10

68837C1

CAP

ASSY, steering wheel

1шт.

11

295204R1

O-RING,0.103" Thk x 2.8" ID, -149, Cl 5, 75 Duro

2-13/16 x 3 x 3/32

1шт.

12

148839C91

CAP

ASSY, steering wheel, use on tractors w/deluxe burgundy or western interior cab

1шт.

Выбрано товаров: 0