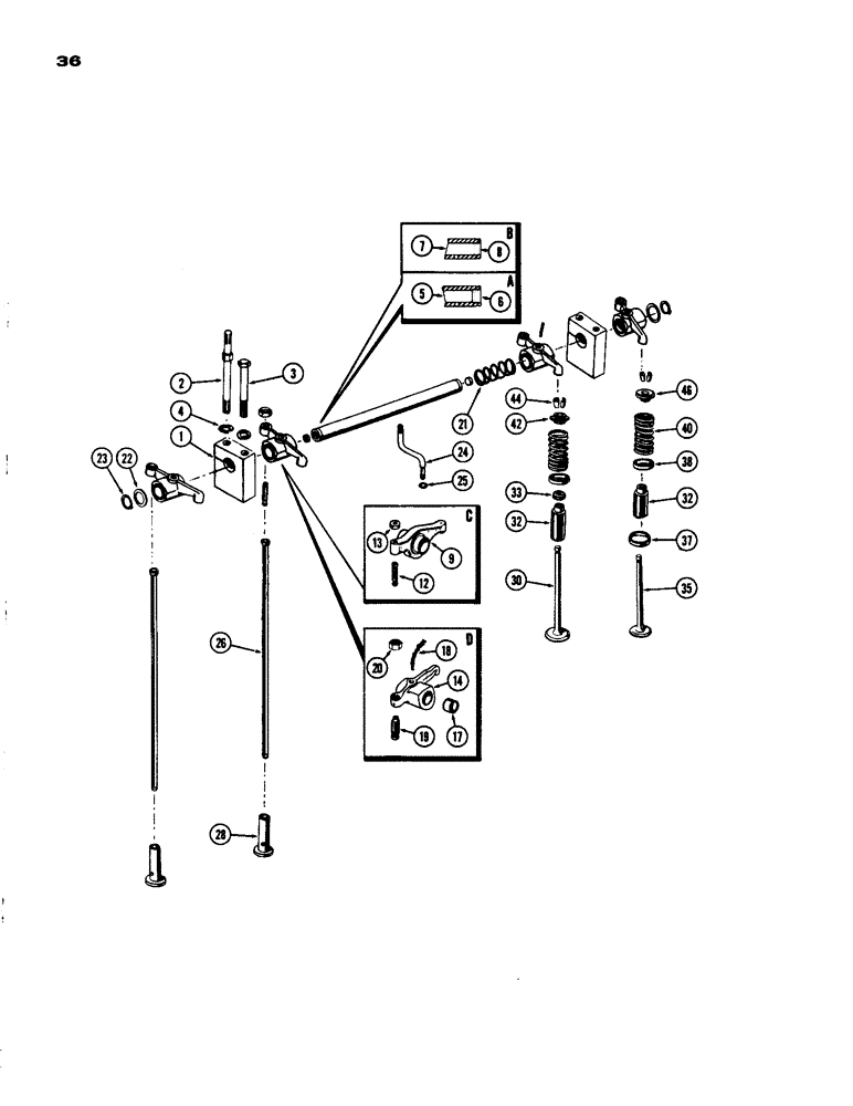
Запчасти Case IH 930-SERIES (036) - ROCKER ARMS, VALVES, PUSH RODS, SPARK IGNITION ENGINE (02) - ENGINE

Схема запчастей Case IH 930-SERIES - (036) - ROCKER ARMS, VALVES, PUSH RODS, SPARK IGNITION ENGINE (02) - ENGINE
42
8
33
40
22
21
38
23
37
12
4
5
3
32
25
1
19
17
20
18
46
28
9
2
14
7
24
32
44
13
6
30
35
26
FIT
1:1
100%

Артикул

Название

Примечание

Количество

1

O9773AB

BRACKET - valve rocker arm shaft

6шт.

2

O10732AB

STUD - valve rocker arm shaft brkt.

6шт.

3

15-764

BOLT (SPREADER)

BOLT - 7/16" x 4" N.C. hex.

6шт.

4

92-7

LOCK WASHER,7/16"

12шт.

5

A21100

SHAFT

ASSY. - rocker arm (reamed) (See inset A), Includes Ref: 6

3шт.

6

O2803AB1

PLUG - cup, rocker shaft (9/16 x 3/16")

2шт.

7

A23671

X

SHAFT ASSY. - rocker arm (not reamed) (Order A21100) (See inset B), Includes Ref: 8

3шт.

8

A22318

PLUG - cup rocker arm shift (7/32 x 1/4")

2шт.

9

A22322

ROCKER

ARM ASSY. - rocker, inlet valve (incl. items 12 & 13) (stamped) (see inset C)

6шт.

9

A22324

ROCKER

ARM ASSY - rocker, exhaust valve for no. 1, 3 and 5 cylinder (incl. items 12 & 13) (stamped) (see inset C)

3шт.

9

A22326

ROCKER

ARM ASSY. - rocker, exhaust valve (for no. 2, 4 and 6 cylinder (stamped) (see inset C), Includes Ref: 12 and 13

3шт.

12

A21105

ADJUSTMENT SCREW,3/8" - 24 x 1 9/16"

SCREW - adjusting

1шт.

13

25-106

NUT,3/8"-16, G5

- jam, 3/8" N.F. hex.

1шт.

14

4608AA

ARM ASSY. - rocker, exhaust valve For No. 1, 3 and 5 cylinder (incl. item 17) (forged) (see inset D)

3шт.

14

4607AA

X

ARM ASSY. - rocker, inlet valve (incl. item 17) (forged) (see inset D)

6шт.

14

4609AA

ARM ASSY. - rocker, exhaust valve For no. 2, 4 and 6 cylinders (incl. item 17) (forged) (see inset D), Includes Ref: 17

3шт.

17

O9767AB

X

BUSHING - rocker arm

1шт.

18

O9882AB

X

WICK - exh. valve rocker arm (for forged arm)

6шт.

19

A21105

ADJUSTMENT SCREW,3/8" - 24 x 1 9/16"

SCREW - valve push rod adjusting

12шт.

20

25-156

JAM NUT,Jam, 3/8"-24, G5

- 3/8" N.F. hex. jam

12шт.

21

O9769AB

X

SPRING - valve rocker arm shaft

3шт.

22

O9770AB

X

WASHER - valve rocker arm shaft

18шт.

23

O3658CH

X

SNAP RING - valve rocker arm shaft

6шт.

24

O9771AB

X

TUBE - oil, valve rocker arm shaft

3шт.

25

O9772AB

X

"O" RING - valve rocker arm shaft oil tube

3шт.

26

A21060

ROD

- push

12шт.

A21653

KIT

LIFTER SET (Set of 4), Includes Ref: 28

3шт.

28

A20865

TAPPET

LIFTER - push rod (Use A21653)

4шт.

A21705

VALVE

SET - intake (Set of 4), Includes Ref: 30

2шт.

30

O10733AB

VALVE - inlet (Use A21705)

4шт.

A21673

GUIDE

KIT - valve stem (Set of 2), Includes Ref: 32

6шт.

32

6529A

GUIDE - inlet and exh. valve (Use A21673)

2шт.

33

A10726

SEAL

SHIELD - oil, intake valve stem

6шт.

A21711

KIT

VALVE SET - exhaust (Set of 4), Includes Ref: 35

2шт.

35

A8491

VALVE - exh. (Use A21711)

4шт.

A21680

KIT

INSERT SET - exhaust valve seat (Set of 2), Includes Ref: 37

3шт.

37

A8492

INSERT - exh. valve seat (Use A21680)

2шт.

38

O9751AB

X

SEAT - inlet and exh. valve spring

12шт.

A21694

SPRING

SET - valves (Set of 4), Includes Ref: 40

3шт.

40

A21076

SPRING

- inlet and exh. valve (use A21694)

4шт.

A21657

LOCK

RETAINER AND LOCK SET (Set of 2 retainers & 4 locks), Includes Ref: 42

3шт.

42

A7359

RETAINER - inlet valve (Use A21657)

2шт.

A21656

RETAINER

LOCK - set, valve spring retainer (Set of 4), Includes Ref: 44

6шт.

44

O9763AB

LOCK - retainer (Use A21656 or A21657)

8шт.

A21688

CAP

ROTOCAP SET - exhaust valve (Set of 4), Includes Ref: 46

2шт.

46

A20864

ROTOCAP - exh. valve (Use A21688)

4шт.

Выбрано товаров: 46