Запчасти Case IH 930-SERIES (090) - DRAG LINKS, WESTERN MODELS, FIRST USED TRACTOR SERIAL NUMBER 8339078 (06) - POWER TRAIN

Схема запчастей Case IH 930-SERIES - (090) - DRAG LINKS, WESTERN MODELS, FIRST USED TRACTOR SERIAL NUMBER 8339078 (06) - POWER TRAIN
11
5
20
7
26
13
13
28
14
29
27
23
2
4
25
12
12
6
11
21
22
9
14
10
4
1
8
15
24
10
8
7
9
6
15
19
5
26
FIT
1:1
100%

Артикул

Название

Примечание

Количество

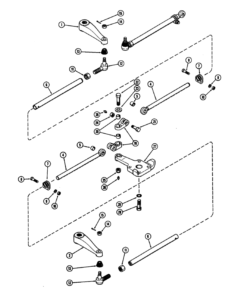
1

A57323

ARM

- steering, left hand

1шт.

2

A57322

ARM

- steering, right hand

1шт.

4

A41736

LINK

ASSY. - notched, Includes Ref: 5

1шт.

5

A34643

BUSHING

- link (3/4 x 7/8 x 3/4")

1шт.

6

A41518

TUBE

- drag link

2шт.

7

A41561

CLAMP

-, Serial Range: link-tube

2шт.

8

114-411

BOLT,Hex, 1/2" - 20 x 2-1/4", Gr 5

- clamp (1/2 x 2-1/4" N.F. hex.)

2шт.

9

192-23

LOCK WASHER,1/2"

WASHER, LOCK, 1/2"

2шт.

10

280963

NUT,Nut, 1/2-20 GR 5 ZND

- (1/2" N.F. hex.)

2шт.

11

A41511

NUT

- lock, end (1"-18 hex., jam), Includes Ref: 12

2шт.

12

A41512

ROD

END - drag link

2шт.

13

A41515

SEAL

- end (rubber)

2шт.

14

25-1310

SLOTTED NUT,5/8"-18, G5

NUT - end to arm (5/8" N.F. hex. sltd.), Includes Ref: 15

2шт.

15

132-50

COTTER PIN,1/8" x 1 1/4"

Pin, Split (Cotter), 1/8" x 1 1/4"

2шт.

19

A57891

COUPLING

COUPLER ASSY. - drag link (1st used trac. ser. no. 8352431), Includes Ref: 20

2шт.

20

A57892

BUSHING

- (1 x 1-1/8 x 3/4" w/oil groove)

1шт.

19

A34785

COUPLING

COUPLER ASSY. - drag links (used prior to trac. ser. no. 8352431)

2шт.

20

A34786

BUSHING

- (1 x 1-1/8 x 3/4" w/out oil groove)

1шт.

21

A57893

BOLT

- link to coupler (3/4 x 2-1/8" N.F. hex.) (tapped for grease fitting) (1st used trac. ser. no. 8352431)

2шт.

21

A34787

BOLT

- link to coupler (3/4 x 2-1/8" N.F. hex.) (w/out tapped hole) (used prior to trac. ser. no. 8352431)

2шт.

22

A57894

BOLT

- coupler pivot (1 x 3-7/16" N.F. hex.) (tapped for grease fitting) (1st used trac. ser. no. 8352431)

1шт.

22

A34788

BOLT

- pivot, coupler (1 x 3-5/16" N.F. hex.) (w/out tapped hole) (used prior to trac. ser. no. 8352431)

1шт.

23

A31148

WASHER

- coupler bolt (1-1/32 x 1-3/4 x 7/64")

1шт.

24

25-1512

JAM NUT,Jam, 3/4"-10, G5

- pivot bolt (3/4" N.F. hex., jam)

2шт.

25

A34852

NUT

- pivot bolt (1"-12 hex., jam)

1шт.

26

219-8

LUBE NIPPLE,1/4" - 28 NPTF

NIPPLE, LUBE, (Used w/A57893 & A57894 bolts) 1/4"-28 NPT x .54" lg

3шт.

27

A57962

ARM - steering, center (Replaces A57515)

1шт.

28

14-1028

BOLT,Hex, 5/8" - 18 x 1-3/4", Gr 5

Center arm Hex, 5/8"-18 x 1 3/4", G5

4шт.

29

193-14

LOCK WASHER,Ext Tooth, 5/8"

WASHER, LOCK, Ext Tooth, 5/8"

4шт.

Выбрано товаров: 29