Запчасти Case IH 930-SERIES (134) - DRAFT-O-MATIC UPPER SENSING LINKAGE (06) - POWER TRAIN

Схема запчастей Case IH 930-SERIES - (134) - DRAFT-O-MATIC UPPER SENSING LINKAGE (06) - POWER TRAIN
27
3
10
36
5
39
19
40
33
38
1
26
4
14
12
15
22
24
30
16
2
13
35
6
32
20
14
34
9
18
37
15
41
31
28
23
17
11
29
21
8
25
7
FIT
1:1
100%

Артикул

Название

Примечание

Количество

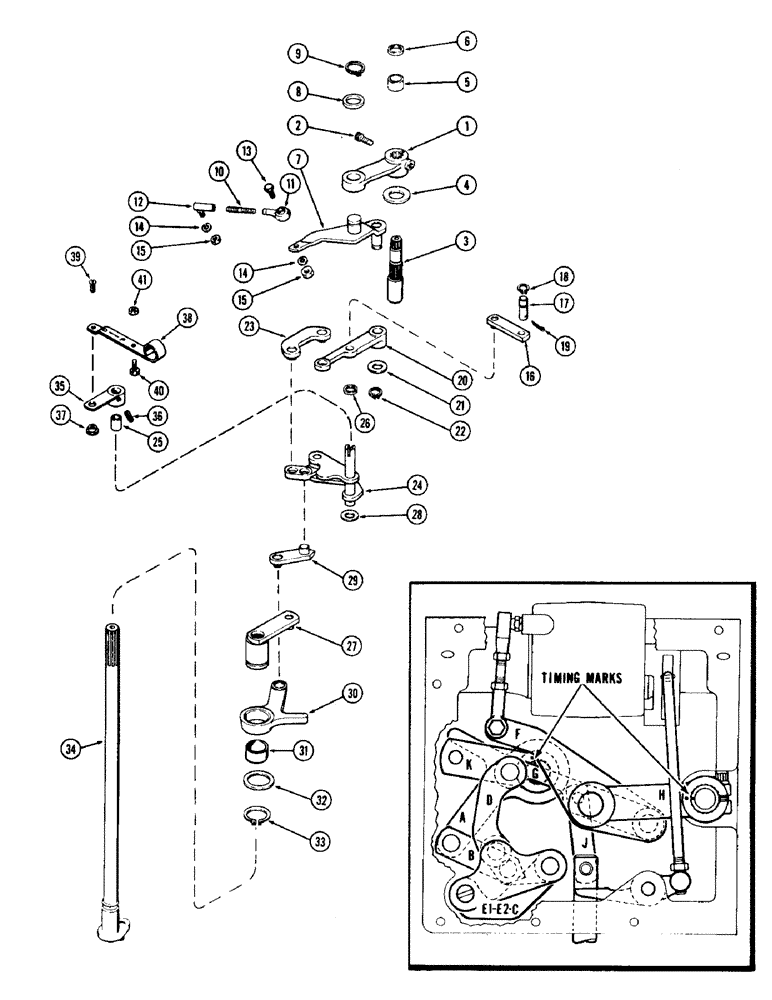
1

A32320

LEVER

- draft control (Link "H")

1шт.

2

166-27

BOLT - "H" link ret. (5/16 x 1-1/4" N.C., 12 pt. sckt. hd.)

1шт.

3

A32336

SHAFT - draft control, manual

1шт.

4

A33316

WASHER - manual shaft (1-1/32 x 1-11/16 x 12 Ga.)

1шт.

5

A33314

SPACER

- manual shaft (53/64 x 1-3/64 x 9/16")

1шт.

6

A32309

SEAL,18.8mm ID x 25.5mm OD x 3.1mm Thk

- manual control shaft (3/4 x 1 x 1/8")

1шт.

7

A57088

LINK

LEVER - draft control (Link "F") (1st used trac. ser. no. 8310335)

1шт.

7

A32316

LEVER

- draft control (used 1-A57088 & 1-A57909) (Link "F") (used prior to trac. ser. no. 8310335)

1шт.

8

F20286

WASHER

- "F" Link (29/32 x 1-3/8 x 16 ga.)

1шт.

9

F62205

RING, SNAP

SNAP RING - "F" Link

1шт.

10

A32347

ROD

- draft control link

1шт.

11

A35134

BEARING

- link rod

1шт.

12

A27382

BALL

JOINT - draft control link

1шт.

13

13-514

BOLT,Hex, 5/16" - 18 x 7/8", Gr 5

Brg. to "F" Link Hex, 5/16"-18 x 7/8", G5, Full Thd

1шт.

14

92-5

LOCK WASHER,5/16"

2шт.

15

25-155

JAM NUT,Jam, 5/16"-24, G5

- lock (5/16" N.F. jam)

2шт.

16

A32331

LINK

LEVER - draft control (Link "J")

1шт.

17

A32334

PIN

- "J" Link to draft valve spool

1шт.

18

G46146

SNAP RING,#37, Ext

Ring, Snap, , pin ret. #37, Ext

1шт.

19

132-35

X

PIN - cotter (3/32 x 5/8")

1шт.

20

A32335

LINK

LEVER - draft control (Link "G")

1шт.

21

B18080

WASHER

- "G" Link (21/32 x 1-1/4 x 16 Ga.)

1шт.

22

A26828

RING

- snap, "G" Link ret.

1шт.

23

A57365

LEVER

- draft control (Link "D") (Replaces A32329)

1шт.

24

A32310

LINK

- draft control (Link "C")

1шт.

25

A32914

SPACER

- sensitivity hub (21/32 x 3/4 x 1")

1шт.

26

A32308

OIL SEAL

- sensitivity shaft (5/8 x 7/8 x 1/8")

1шт.

27

A33393

LEVER

- draft control (Link K)

1шт.

28

A57090

WASHER

- "C" link (21/32 x 1-1/8 x 23 Ga.) (1st used trac. ser. no. 8310335)

1шт.

28

A26411

WASHER

- "C" Link (21/32 x 1-1/8 x 16 Ga.) (used prior to trac. ser. no. 8310335)

1шт.

29

A57362

LINK

LEVER - draft contol (Link "B") (Replaces A32321)

1шт.

30

A32324

LEVER

- draft control (Link "A")

1шт.

31

A12014

BUSHING

- signal shaft (1-1/2 x 1-3/4 x 3/4")

1шт.

32

B18302

WASHER

- "A" Link (1-17/32 x 2 x 19/32")

1шт.

33

R13338

SNAP RING,#150, Ext

Ring, Snap, , "K" Link #150, Ext

1шт.

34

A34834

SHAFT

- draft signal (See Page 137 & 137B) (1st used Trac. Ser. No. 8302912)

1шт.

34

A33395

SHAFT

- draft signal (See Page 137 & 137B) (used prior to trac. ser. no. 8302912) (Order 1-A34834, 1-A34836, 1-12-514 & 1-92-5)

1шт.

35

A33739

LEVER - signal shaft

1шт.

36

138-2009

PIN,3/16" x 1", Coiled

1шт.

37

A33737

SPACER - signal shaft lever

1шт.

38

A33880

LEVER - sensitivity

1шт.

39

77-46

SCREW

- (1/4 x 3/8" N.C. truss hd.)

1шт.

40

62-46

SCREW - cap (1/4 x 3/8" N.F. socket hd.) Hex Soc Hd, 1/4"-28 x 3/8"

1шт.

41

25-114

NUT,1/4"-28, G5

- (1/4" N.F. hex.)

1шт.

Выбрано товаров: 44