Запчасти Case IH 930-SERIES (168) - FENDERS, GENERAL PURPOSE MODELS (09) - CHASSIS

Схема запчастей Case IH 930-SERIES - (168) - FENDERS, GENERAL PURPOSE MODELS (09) - CHASSIS
17
27
8
18
5
10
9
25
13
16
22
10
23
4
7
26
21
19
15
20
3
12
6
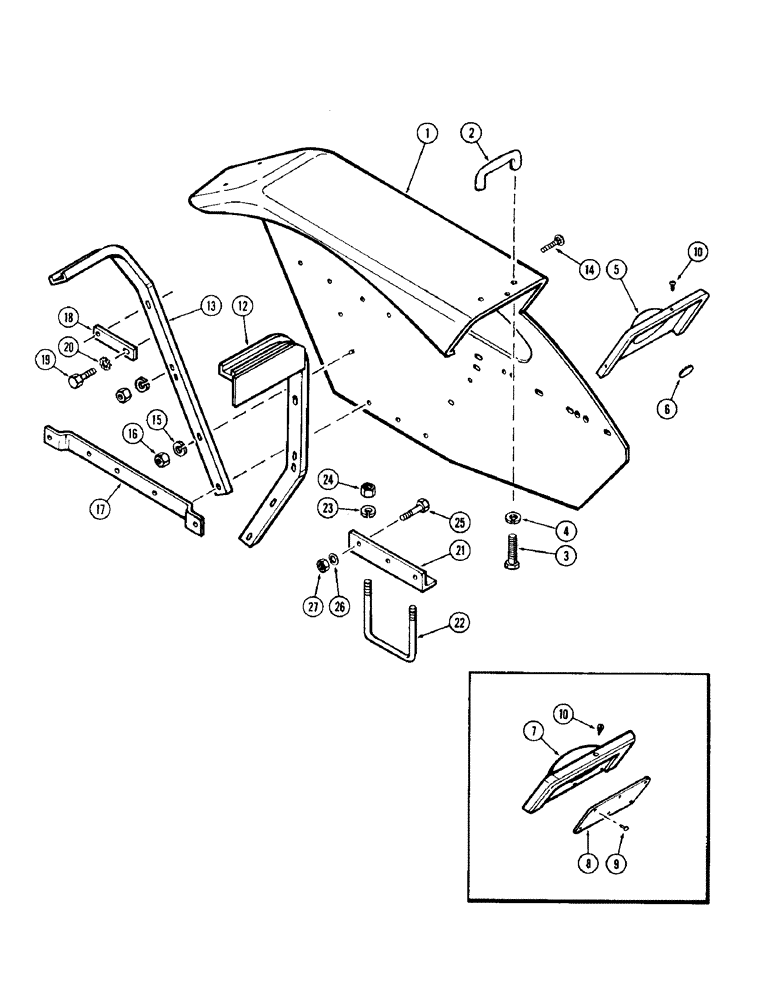
1
14
2
24
FIT
1:1
100%

Артикул

Название

Примечание

Количество

1

A33196

FENDER - right hand (Diesel & Gas)

1шт.

1

A33197

FENDER - left hand (Diesel & Gas)

1шт.

1

A33200

FENDER - right hand (L.P.G.)

1шт.

1

A33201

FENDER - left hand (L.P.G.)

1шт.

2

A23725

HANDLE

- mounting

2шт.

3

13-510

BOLT,Hex, 5/16" - 18 x 5/8", Gr 5, Full Thd

Handle Hex, 5/16"-18 x 5/8", G5, Full Thd

4шт.

4

92-5

LOCK WASHER,5/16"

4шт.

5

A57727

PANEL

- lamp mounting (1st used trac. ser. no. 8344384)

2шт.

6

205-67

HOLE PLUG BUTTON,2"

PLUG - ( button type) (used w/A57727 panel) 2"

2шт.

7

A32919

PANEL

- light mounting (used prior to trac. ser. no. 8344384)

2шт.

8

A33040

COVER - cultivator lamp hole (used w/A32919 panel)

2шт.

9

187-1108

SCREW - cover (#8 x 3/8" sheet metal)

10шт.

10

187-328

SCREW - panel (#10 x 3/8" pan hd., self-tapping)

6шт.

12

A32926

BRACE - front, right hand fender

1шт.

12

A32927

BRACE - front, left hand fender

1шт.

13

A32932

BRACE - rear, right hand fender

1шт.

13

A32933

BRACE - rear, left hand fender

1шт.

14

11-524

CARRIAGE BOLT,Short NK, 5/16"-18 x 1 1/2"

BOLT, CARRIAGE, , Fender Short NK, 5/16"-18 x 1 1/2"

10шт.

14

11-528

BOLT,Short NK, 5/16"-18 x 1 3/4", G2

CARRIAGE, 5/16"-18 x 1 3/4", G2, Fender

4шт.

14

11-510

SCREW,Short Nk, 5/16" - 18 x 5/8", Gr 2

BOLT - fender (5/16 x 5/8" N.C. carr.)

8шт.

15

193-45

WASHER,Ext-Int Tooth, 5/16"

- (5/16" lock)

22шт.

16

9635082

NUT,5/16" - 18, Gr 5

- (5/16" N.C. hex.)

22шт.

17

A33195

PLATE - fuel tank mounting

2шт.

18

A33206

BRACE - L.P. fuel, Serial Range: tank-fender

2шт.

19

13-514

BOLT,Hex, 5/16" - 18 x 7/8", Gr 5

Brace Hex, 5/16"-18 x 7/8", G5, Full Thd

2шт.

20

193-45

WASHER,Ext-Int Tooth, 5/16"

- (5/16" int./ext skpf.)

2шт.

21

A57227

SUPPORT - fender (7-1/4" between hole ctrs.) (1st used trac. ser. no. 8312080)

2шт.

21

864-10045

HEX SOC SCREW,M10 x 45mm, Cl 8.8

SUPPORT - fender (7" between hole ctrs.) (used prior to trac. ser. no. 8312080)

2шт.

22

A57048

U-BOLT

"U" BOLT - support (7-1/4" between stud ctrs.) (1st used trac. ser. no. 8312080)

2шт.

22

A7069

ARM

"U" BOLT - support (7" between stud ctrs.) (used prior to trac. ser. no. 8312080)

2шт.

23

92-10

LOCK WASHER,5/8"

WASHER, LOCK, 5/8"

4шт.

24

25-1110

NUT,5/8"-18, G5

- (5/8" N.F. hex.)

4шт.

25

13-616

BOLT,Hex, 3/8" - 16 x 1", Gr 5, Full Thd

Support Hex, 3/8"-16 x 1", G5, Full Thd

2шт.

25

413-632

BOLT,Hex, 3/8" - 16 x 2", Gr 5

Support Hex, 3/8"-16 x 2", G5

4шт.

26

92-6

LOCK WASHER,3/8"

6шт.

27

25-106

NUT,3/8"-16, G5

- (3/8" N.C. hex.)

6шт.

Выбрано товаров: 36