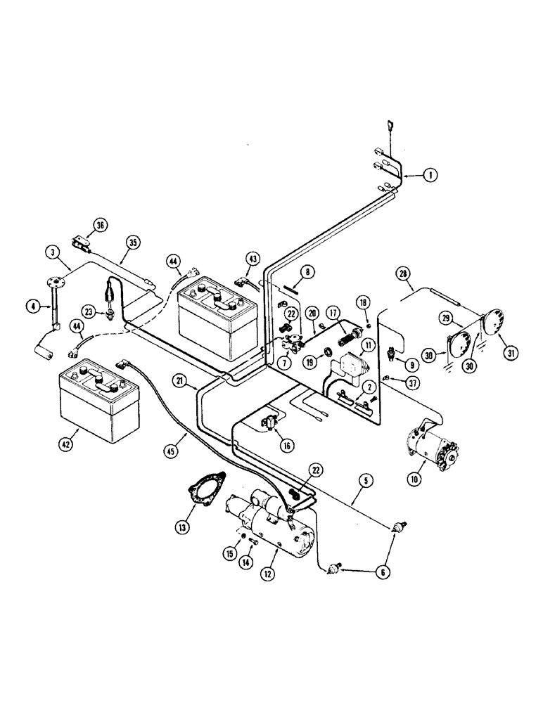
Запчасти Case IH 930-SERIES (057C) - MAIN WIRING, (401) DIESEL ENGINE, USED WITH CAB (04) - ELECTRICAL SYSTEMS

Схема запчастей Case IH 930-SERIES - (057C) - MAIN WIRING, (401) DIESEL ENGINE, USED WITH CAB (04) - ELECTRICAL SYSTEMS
37
4
10
1
14
44
3
30
28
22
5
36
44
12
11
21
43
17
13
23
29
45
6
2
20
9
15
18
35
22
42
8
16
31
30
19
7
FIT
1:1
100%

Артикул

Название

Примечание

Количество

1

A57965

HARNESS ASSY. - w/tail lamp connector (1st used trac. ser. no. 8347842)

1шт.

1

A57816

HARNESS

ASSY. - w/out tail lamp connector (used prior to trac. ser. no. 8347842)

1шт.

2

A28674

CONDUIT - wire harness

1шт.

3

A24095

WIRE - fuel sending unit (92" long)

1шт.

4

A24004

SENDER UNIT

UNIT ASSY. - fuel sending

1шт.

5

A24094

WIRE - fuel pressure switch (56" long)

1шт.

6

A13794

TRANSMITTER

SWITCH - fuel & oil pressure

2шт.

7

A57069

SOLENOID

- heater (See Figure 61A)

1шт.

8

A34080

LOOM - solenoid wire (4" long)

1шт.

9

A21462

SENDER UNIT

UNIT - sending, engine temperature (used w/A24080 gauge) (See Figure 56)

1шт.

9

A13795

SENDER UNIT

UNIT - sending, engine temperature (used w/A57890 gauge) (See Figure 56)

1шт.

10

A57751

GENERATOR ASSY. - (See Figures 61 & 71A)

1шт.

11

A57752

REGULATOR

ASSY. - voltage (See Figure 60)

1шт.

12

A23688

STARTER ASSY. - (See Figure 64)

1шт.

104251A1R

REMAN-STARTER

930, Reman For New P/N A23688

1шт.

104251A1C

CORE-STARTER

Return Number

1шт.

13

A27933

GASKET

- starter

1шт.

14

13-824

BOLT,Hex, 1/2" - 13 x 1-1/2", Gr 5, Full Thd

Starter, lock Hex, 1/2"-13 x 1 1/2", G5, Full Thd

2шт.

14

13-848

BOLT,Hex, 1/2" - 13 x 3", Gr 5

- starter (1/2 x 3" N.C. hex.)

1шт.

15

92-8

LOCK WASHER,1/2"

3шт.

16

A22877

BREAKER,40A

- circuit (See Figure 61A)

1шт.

17

A37775

HEATER

ASSY. - manifold, Includes Ref: 18

1шт.

18

129-503

NUT,1/4"-20, Brass

1шт.

19

A20916

MANIFOLD GASKET

GASKET - manifold heater

1шт.

20

A21485

CABLE

- solenoid to heater (23" long)

1шт.

21

A24093

CABLE PULLING GRIP

CABLE - heater solenoid to starter solenoid (27" long)

1шт.

22

A21753

CAP

BOOT - cable terminal (rubber)

2шт.

23

A20990

SWITCH

- safety, neutral start

1шт.

28

A11943

WIRE - head lamp (27" long)

1шт.

29

A11764

WIRE - jumper, head lamps (16" long)

1шт.

30

A33439

WIRE - ground, head lamps (12" long)

2шт.

31

A24572

LAMP

HEAD LAMP ASSY. - (See Figure 73)

2шт.

35

A34809

WIRE - auxiliary outlet socket (37-1/4" long)

1шт.

36

A8170

SOCKET

ASSY. - outlet, auxiliary (See Figure 61A)

1шт.

37

A22880

CLIP

- wire retaining

1шт.

42

A22817

BATTERY - tractor (6 volt)

2шт.

43

A24017

CABLE

- battery, ground (21" long)

1шт.

44

A24019

CABLE

- battery to battery (58" long)

1шт.

45

A21486

CABLE

- battery to starter solenoid (58" long)

1шт.

Выбрано товаров: 39